新浪财经

农产品:2024年上半年净利润2.13亿元 同比增长10.71%

中证网

关注

中证智能财讯 农产品(000061)8月31日披露2024年半年报。2024年上半年,公司实现营业总收入23.36亿元,同比下降12.72%;归母净利润2.13亿元,同比增长10.71%;扣非净利润1.39亿元,同比下降17.93%;经营活动产生的现金流量净额为4.96亿元,同比增长43.14%;报告期内,农产品基本每股收益为0.1254元,加权平均净资产收益率为3.42%。

报告期内,公司合计非经常性损益为7340.37万元,其中非流动资产处置损益为3819.82万元,少数股东权益影响额(税后)为-509.01万元。

以8月30日收盘价计算,农产品目前市盈率(TTM)约为18.5倍,市净率(LF)约为1.42倍,市销率(TTM)约为1.69倍。

公司近年市盈率(TTM)、市净率(LF)、市销率(TTM)历史分位图如下所示:

根据半年报,公司第二季度实现营业总收入12.86亿元,同比下降10.45%,环比增长22.52%;归母净利润1.3亿元,同比增长23.96%,环比增长57.85%;扣非净利润7063.77万元,同比下降24.63%,环比增长2.66%。

资料显示,公司以农产品批发市场的开发、建设、经营和管理为主要业务,业务范围涉及农产品基地种植、城市食材配送、进出口等农产品产业链服务。报告期内,公司主要经营模式未发生重大变化。

2024年上半年,公司毛利率为31.00%,同比上升1.88个百分点;净利率为13.15%,较上年同期上升3.33个百分点。从单季度指标来看,2024年第二季度公司毛利率为30.39%,同比下降1.52个百分点,环比下降1.36个百分点;净利率为15.34%,较上年同期上升4.61个百分点,较上一季度上升4.87个百分点。

数据显示,2024年上半年公司加权平均净资产收益率为3.42%,较上年同期增长0.13个百分点;公司2024年上半年投入资本回报率为2.39%,较上年同期增长0.29个百分点。

2024年上半年,公司经营活动现金流净额为4.96亿元,同比增长43.14%;筹资活动现金流净额-3.59亿元,同比减少5.97亿元;投资活动现金流净额-2.23亿元,上年同期为-2.35亿元。

进一步统计发现,2024年上半年公司自由现金流为8260.83万元,相比上年同期下降13.13%。

2024年上半年,公司营业收入现金比为117.89%,净现比为233.21%。

营运能力方面,2024年上半年,公司总资产周转率为0.11次,上年同期为0.13次(2023年上半年行业平均值为0.10次,公司位居同行业5/15);公司应收账款周转率、存货周转率分别为8.05次、1.82次。

2024年上半年,公司期间费用为3.78亿元,较上年同期减少5663.78万元;期间费用率为16.17%,较上年同期下降0.06个百分点。其中,销售费用同比下降39.96%,管理费用同比增长3.53%,研发费用同比增长7.65%,财务费用同比下降10.43%。

资产重大变化方面,截至2024年上半年末,公司使用权资产较上年末减少81.94%,占公司总资产比重下降2.92个百分点;投资性房地产较上年末减少1.17%,占公司总资产比重上升1.05个百分点;在建工程较上年末增加3.02%,占公司总资产比重上升0.69个百分点;预付款项较上年末增加152.47%,占公司总资产比重上升0.65个百分点。

负债重大变化方面,截至2024年上半年末,公司租赁负债较上年末减少86.23%,占公司总资产比重下降2.39个百分点;应付账款较上年末减少13.37%,占公司总资产比重下降0.73个百分点;合同负债较上年末增加69.36%,占公司总资产比重上升1.02个百分点,主要系下属长沙公司、成都公司、上海公司等预收租金及深圳海吉星进出口公司预;长期递延收益较上年末减少7.01%,占公司总资产比重下降0.40个百分点。

从存货变动来看,截至2024年上半年末,公司存货账面价值为8.71亿元,占净资产的14.18%,较上年末减少3232.21万元。其中,存货跌价准备为60.63万元,计提比例为0.07%。

在偿债能力方面,公司2024年上半年末资产负债率为61.39%,相比上年末下降1.42个百分点;有息资产负债率为31.83%,相比上年末上升0.76个百分点。

2024年上半年,公司流动比率为0.44,速动比率为0.33。

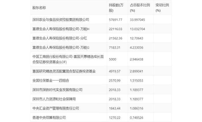
半年报显示,2024年上半年末公司十大流通股东中,持股最多的为深圳农业与食品投资控股集团有限公司,占比34.00%。十大流通股东名单相比2024年一季报维持不变。在具体持股比例上,富国研究精选灵活配置混合型证券投资基金持股有所上升,中国工商银行股份有限公司-富国天惠精选成长混合型证券投资基金(LOF)、香港中央结算有限公司持股有所下降。

筹码集中度方面,截至2024年上半年末,公司股东总户数为4.42万户,较一季度末增长了993户,增幅2.30%;户均持股市值由一季度末的23.24万元下降至18.68万元,降幅为19.62%。

指标注解:

市盈率

=总市值/净利润。当公司亏损时市盈率为负,此时用市盈率估值没有实际意义,往往用市净率或市销率做参考。

市净率

=总市值/净资产。市净率估值法多用于盈利波动较大而净资产相对稳定的公司。

市销率

=总市值/营业收入。市销率估值法通常用于亏损或微利的成长型公司。

文中市盈率和市销率采用TTM方式,即以截至最近一期财报(含预报)12个月的数据计算。市净率采用LF方式,即以最近一期财报数据计算。

市盈率为负时,不显示当期分位数,会导致折线图中断。

加载中...