新浪财经

中安科:2024年上半年盈利2509.10万元 同比扭亏

东方财富官微

关注

中安科(600654)8月31日披露2024年半年度报告。2024年上半年,公司实现营业收入13.14亿元,同比增长3.43%;归母净利润2509.10万元,同比扭亏;扣非净利润亏损1292.07万元,上年同期亏损4556.66万元;经营活动产生的现金流量净额为4525.6万元,同比下降60.00%;报告期内,中安科基本每股收益为0.0089元,加权平均净资产收益率为1.57%。

报告期内,公司合计非经常性损益为3801.17万元,其中债务重组损益为2287.39万元。

以8月30日收盘价计算,中安科目前市盈率(TTM)约为53.29倍,市净率(LF)约为3.99倍,市销率(TTM)约为2.23倍。

公司近年市盈率(TTM)、市净率(LF)、市销率(TTM)历史分位图如下所示:

根据半年报,公司第二季度实现营业总收入7.02亿元,同比增长13.89%,环比增长14.79%;归母净利润530.06万元,同比增长480.77%,环比下降73.22%;扣非净利润-132.23万元,同比增长96.48%,环比增长88.60%。

资料显示,公司是国内较早从事智能硬件制造、智能系统集成和安保运营服务的综合服务商,现已形成安保综合运营服务、智慧城市系统集成、智能安防产品制造三大业务格局,能够为客户提供覆盖“工业安全、信息安全、人身安全”等整体解决方案,并逐步探索以智算中心为代表的人工智能新兴业务。公司业务布局涵盖智能硬件生产、智能系统集成、工程施工、安保运营服务等全产业链,公司已在内地各大主要城市开展智能硬件生产及系统集成业务,并在香港、澳门、泰国及大洋洲设立重要子公司开展安保运营服务,主要产品和服务广泛应用于金融、医疗、交通、科教、地产等领域。

2024年上半年,公司毛利率为15.93%,同比上升2.22个百分点;净利率为1.91%,较上年同期上升2.40个百分点。从单季度指标来看,2024年第二季度公司毛利率为16.64%,同比上升2.53个百分点,环比上升1.52个百分点;净利率为0.76%,较上年同期上升0.61个百分点,较上一季度下降2.48个百分点。

数据显示,2024年上半年公司加权平均净资产收益率为1.57%,较上年同期增长2.00个百分点;公司2024年上半年投入资本回报率为1.75%,较上年同期增长1.24个百分点。

2024年上半年,公司经营活动现金流净额为4525.60万元,同比下降60.00%;筹资活动现金流净额-9705.10万元,同比减少8084.20万元;投资活动现金流净额-807.09万元,上年同期为-1.49亿元。

进一步统计发现,2024年上半年公司自由现金流为-1.14亿元,上年同期为-3.19亿元。

2024年上半年,公司营业收入现金比为128.17%,净现比为180.37%。

营运能力方面,2024年上半年,公司总资产周转率为0.34次,上年同期为0.31次(2023年上半年行业平均值为0.17次,公司位居同行业17/103);固定资产周转率为3.45次,上年同期为2.72次(2023年上半年行业平均值为5.13次,公司位居同行业58/103);公司应收账款周转率、存货周转率分别为2.18次、7.86次。

2024年上半年,公司期间费用为2.45亿元,较上年同期增加2254.28万元;期间费用率为18.61%,较上年同期上升1.14个百分点。其中,销售费用同比下降17.17%,管理费用同比增长13.63%,研发费用同比增长24.94%,财务费用同比下降15.91%。

资料显示,销售费用的变动主要因为公司为改善人员结构,减员增效;财务费用的变动主要因为有息债务减少,利息支出减少。

资产重大变化方面,截至2024年上半年末,公司其他应收款(含利息和股利)较上年末增加83.02%,占公司总资产比重上升2.89个百分点;固定资产较上年末减少19.47%,占公司总资产比重下降1.71个百分点;预付款项较上年末减少55.84%,占公司总资产比重下降1.69个百分点;应收账款较上年末增加1.15%,占公司总资产比重上升0.86个百分点。

负债重大变化方面,截至2024年上半年末,公司一年内到期的非流动负债较上年末减少96.79%,占公司总资产比重下降6.43个百分点;其他应付款(含利息和股利)较上年末减少10.48%,占公司总资产比重下降1.48个百分点;应付账款较上年末减少7.32%,占公司总资产比重下降0.65个百分点;应付职工薪酬较上年末减少20.90%,占公司总资产比重下降0.85个百分点。

从存货变动来看,截至2024年上半年末,公司存货账面价值为1.47亿元,占净资产的9.09%,较上年末增加1380.55万元。其中,存货跌价准备为1454.9万元,计提比例为8.98%。

在偿债能力方面,公司2024年上半年末资产负债率为56.92%,相比上年末下降2.67个百分点;有息资产负债率为6.15%,相比上年末下降0.51个百分点。

2024年上半年,公司流动比率为1.37,速动比率为1.29。

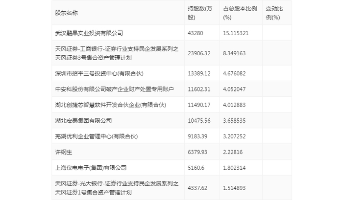
半年报显示,2024年上半年末公司十大流通股东中,持股最多的为武汉融晶实业投资有限公司,占比15.12%。十大流通股东名单相比2024年一季报维持不变。在具体持股比例上,许钢生持股有所上升,深圳市招平三号投资中心(有限合伙)、中安科股份有限公司破产企业财产处置专用账户、湖北创捷芯智慧软件开发合伙企业(有限合伙)、芜湖优利企业管理中心(有限合伙)持股有所下降。

筹码集中度方面,截至2024年上半年末,公司股东总户数为4.97万户,较一季度末增长了1334户,增幅2.76%;户均持股市值由一季度末的17.33万元下降至13.12万元,降幅为24.29%。

指标注解:

市盈率

=总市值/净利润。当公司亏损时市盈率为负,此时用市盈率估值没有实际意义,往往用市净率或市销率做参考。

市净率

=总市值/净资产。市净率估值法多用于盈利波动较大而净资产相对稳定的公司。

市销率

=总市值/营业收入。市销率估值法通常用于亏损或微利的成长型公司。

文中市盈率和市销率采用TTM方式,即以截至最近一期财报(含预报)12个月的数据计算。市净率采用LF方式,即以最近一期财报数据计算。

市盈率为负时,不显示当期分位数,会导致折线图中断。

(文章来源:中国证券报·中证网)

加载中...