新浪财经

南京新百:2024年上半年净利润1.65亿元 同比下降48.65%

中证网

关注

中证智能财讯 南京新百(600682)8月31日披露2024年半年度报告。2024年上半年,公司实现营业收入32.51亿元,同比增长0.40%;归母净利润1.65亿元,同比下降48.65%;扣非净利润1.78亿元,同比下降41.86%;经营活动产生的现金流量净额为2.78亿元,同比下降32.93%;报告期内,南京新百基本每股收益为0.12元,加权平均净资产收益率为0.95%。

以8月30日收盘价计算,南京新百目前市盈率(TTM)约为25.2倍,市净率(LF)约为0.39倍,市销率(TTM)约为1.03倍。

公司近年市盈率(TTM)、市净率(LF)、市销率(TTM)历史分位图如下所示:

根据半年报,公司第二季度实现营业总收入16.71亿元,同比增长1.73%,环比增长5.73%;归母净利润3543.38万元,同比下降74.97%,环比下降72.70%;扣非净利润5715.89万元,同比下降59.25%,环比下降52.59%。

资料显示,公司主要业务涉及现代商业、健康养老与生物医疗领域,覆盖百货零售、健康养老服务、脐带血造血干细胞储存、细胞免疫以及医疗服务等业务范围。

2024年上半年,公司毛利率为45.58%,同比下降0.47个百分点;净利率为7.22%,较上年同期下降5.14个百分点。从单季度指标来看,2024年第二季度公司毛利率为46.87%,同比上升2.29个百分点,环比上升2.65个百分点;净利率为4.11%,较上年同期下降6.47个百分点,较上一季度下降6.41个百分点。

数据显示,2024年上半年公司加权平均净资产收益率为0.95%,较上年同期下降0.91个百分点;公司2024年上半年投入资本回报率为0.96%,较上年同期下降0.86个百分点。

2024年上半年,公司经营活动现金流净额为2.78亿元,同比下降32.93%;筹资活动现金流净额-2503.91万元,同比减少5663.30万元;投资活动现金流净额-6.89亿元,上年同期为-2.56亿元。

进一步统计发现,2024年上半年公司自由现金流为-4.47亿元,上年同期为-0.04亿元。

2024年上半年,公司营业收入现金比为129.49%,净现比为168.15%。

营运能力方面,2024年上半年,公司总资产周转率为0.13次,上年同期为0.13次(2023年上半年行业平均值为0.19次,公司位居同行业17/22);固定资产周转率为1.15次,上年同期为1.09次(2023年上半年行业平均值为2.01次,公司位居同行业14/22);公司应收账款周转率、存货周转率分别为2.33次、3.63次。

2024年上半年,公司期间费用为10.47亿元,较上年同期增加1.02亿元;期间费用率为32.20%,较上年同期上升3.02个百分点。其中,销售费用同比增长2.35%,管理费用同比增长20.01%,研发费用同比下降2.98%,财务费用由去年同期的-3221.67万元变为-4763.98万元。

资料显示,财务费用的变动主要因为主因本期存款利息收入增加。

资产重大变化方面,截至2024年上半年末,公司交易性金融资产较上年末增加74.74%,占公司总资产比重上升1.99个百分点;货币资金较上年末减少8.59%,占公司总资产比重下降1.87个百分点;固定资产较上年末减少2.95%,占公司总资产比重下降0.45个百分点;预付款项较上年末增加15.63%,占公司总资产比重上升0.44个百分点。

负债重大变化方面,截至2024年上半年末,公司合同负债较上年末增加2.36%,占公司总资产比重上升0.15个百分点;应付职工薪酬较上年末减少9.28%,占公司总资产比重下降0.17个百分点;租赁负债较上年末减少8.36%,占公司总资产比重下降0.13个百分点;短期借款较上年末增加3.96%,占公司总资产比重上升0.06个百分点。

从存货变动来看,截至2024年上半年末,公司存货账面价值为5.17亿元,占净资产的2.96%,较上年末增加6015.11万元。其中,存货跌价准备为35.71万元,计提比例为0.07%。

2024年上半年,南京新百的商誉达到60.56亿元,相当于同期公司净资产174.57亿元的34.69%。

在偿债能力方面,公司2024年上半年末资产负债率为27.28%,相比上年末基本持平;有息资产负债率为3.01%,相比上年末上升0.03个百分点。

2024年上半年,公司流动比率为1.47,速动比率为1.38。

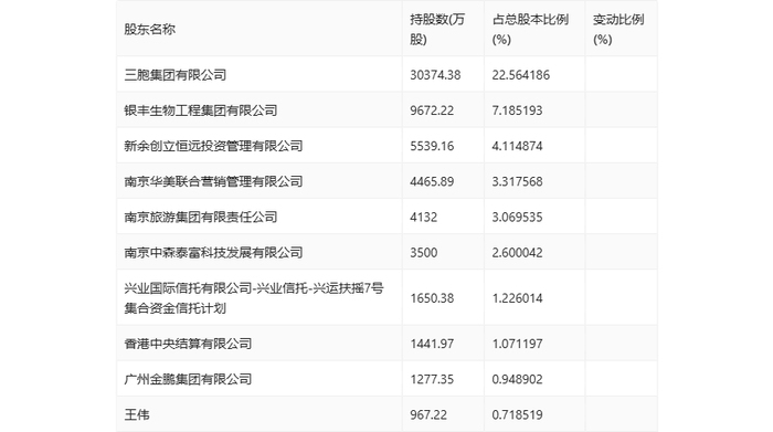
半年报显示,2024年上半年末公司十大流通股东中,新进股东为王伟,取代了一季度末的中信证券-中国华融资产管理股份有限公司-中信证券-开元单一资产管理计划。在具体持股比例上,香港中央结算有限公司持股有所上升。

值得注意的是,根据半年报数据,南京新百17.83%股份处于质押状态。其中,第二大股东银丰生物工程集团有限公司质押9668.42万股公司股份,占其全部持股的99.96%。

筹码集中度方面,截至2024年上半年末,公司股东总户数为4.4万户,较一季度末增长了3010户,增幅7.35%;户均持股市值由一季度末的19.51万元下降至15.27万元,降幅为21.73%。

指标注解:

市盈率

=总市值/净利润。当公司亏损时市盈率为负,此时用市盈率估值没有实际意义,往往用市净率或市销率做参考。

市净率

=总市值/净资产。市净率估值法多用于盈利波动较大而净资产相对稳定的公司。

市销率

=总市值/营业收入。市销率估值法通常用于亏损或微利的成长型公司。

文中市盈率和市销率采用TTM方式,即以截至最近一期财报(含预报)12个月的数据计算。市净率采用LF方式,即以最近一期财报数据计算。

市盈率为负时,不显示当期分位数,会导致折线图中断。

加载中...