新浪财经

阿拉丁:2024年上半年净利润4726.99万元 同比增长52.91%

中证网

关注

中证智能财讯 阿拉丁(688179)8月31日披露2024年半年度报告。2024年上半年,公司实现营业收入2.38亿元,同比增长28.59%;归母净利润4726.99万元,同比增长52.91%;扣非净利润4623.57万元,同比增长55.08%;经营活动产生的现金流量净额为4575.51万元,上年同期为-2204.7万元;报告期内,阿拉丁基本每股收益为0.17元,加权平均净资产收益率为4.50%。

公告称,公司营业收入变化主要由于市场逐步回暖,公司持续推进研发创新、依靠产品品种丰富度的优势并结合销售端投入加大,进一步得到了市场认可。同时,报告期内将源叶生物纳入合并范围,促成销售收入增长。

以8月30日收盘价计算,阿拉丁目前市盈率(TTM)约为27.15倍,市净率(LF)约为2.7倍,市销率(TTM)约为6.08倍。

公司近年市盈率(TTM)、市净率(LF)、市销率(TTM)历史分位图如下所示:

根据半年报,公司第二季度实现营业总收入1.4亿元,同比增长41.55%,环比增长42.17%;归母净利润3016.22万元,同比增长120.77%,环比增长76.31%;扣非净利润2944.8万元,同比增长134.90%,环比增长75.41%。

2024年上半年,公司毛利率为63.81%,同比上升4.31个百分点;净利率为22.28%,较上年同期上升5.61个百分点。从单季度指标来看,2024年第二季度公司毛利率为63.29%,同比上升5.54个百分点,环比下降1.26个百分点;净利率为25.73%,较上年同期上升11.92个百分点,较上一季度上升8.36个百分点。

数据显示,2024年上半年公司加权平均净资产收益率为4.50%,较上年同期增长1.38个百分点;公司2024年上半年投入资本回报率为3.74%,较上年同期增长1.39个百分点。

2024年上半年,公司经营活动现金流净额为4575.51万元,同比增加6780.21万元;筹资活动现金流净额-2611.16万元,同比减少2706.22万元;投资活动现金流净额-4746.87万元,上年同期为-2321.52万元。

进一步统计发现,2024年上半年公司自由现金流为7652.95万元,上年同期为-2346.25万元。

2024年上半年,公司营业收入现金比为111.16%,净现比为96.80%。

营运能力方面,2024年上半年,公司总资产周转率为0.15次,上年同期为0.13次(2023年上半年行业平均值为0.26次,公司位居同行业69/74);固定资产周转率为1.00次,上年同期为0.83次(2023年上半年行业平均值为1.34次,公司位居同行业48/74);公司应收账款周转率、存货周转率分别为4.45次、0.18次。

2024年上半年,公司期间费用为8582.78万元,较上年同期增加1265.24万元;但期间费用率为35.99%,较上年同期下降3.47个百分点。其中,销售费用同比增长34.45%,管理费用同比增长8.69%,研发费用同比增长14.92%,财务费用同比增长253.23%。

资料显示,销售费用的变动主要因为报告期内公司加大对产品推广力度导致的广告宣传费用支出增长;财务费用的变动主要因为存款利率下降导致的利息收入下降以及按不附有转股权债权市场利率计提可转债利息费用。

资产重大变化方面,截至2024年上半年末,公司货币资金较上年末减少6.57%,占公司总资产比重下降5.89个百分点;交易性金融资产较上年末减少68.48%,占公司总资产比重下降2.54个百分点;存货较上年末增加21.93%,占公司总资产比重上升2.46个百分点;其他应收款(含利息和股利)较上年末减少87.13%,占公司总资产比重下降1.32个百分点。

负债重大变化方面,截至2024年上半年末,公司其他应付款(含利息和股利)较上年末增加2228.55%,占公司总资产比重上升4.58个百分点;短期借款较上年末增加4016.62%,占公司总资产比重上升0.58个百分点,主要系报告期内公司增加专利质押贷款;递延所得税负债较上年末增加78.27%,占公司总资产比重上升0.49个百分点;应付债券较上年末增加2.08%,占公司总资产比重下降2.09个百分点。

从存货变动来看,截至2024年上半年末,公司存货账面价值为5.39亿元,占净资产的52.6%,较上年末增加9701.46万元。其中,存货跌价准备为1446.71万元,计提比例为2.61%。

在偿债能力方面,公司2024年上半年末资产负债率为35.55%,相比上年末上升4.39个百分点;有息资产负债率为23.52%,相比上年末上升0.16个百分点。

2024年上半年,公司流动比率为5.91,速动比率为3.13。

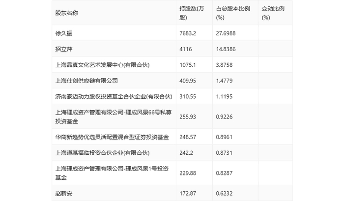
半年报显示,2024年上半年末公司十大流通股东中,持股最多的为徐久振,占比27.70%。十大流通股东名单相比2024年一季报维持不变。在具体持股比例上,上海理成资产管理有限公司-理成风景66号私募投资基金、上海理成资产管理有限公司-理成风景1号投资基金持股有所上升,济南豪迈动力股权投资基金合伙企业(有限合伙)持股有所下降。

筹码集中度方面,截至2024年上半年末,公司股东总户数为1.11万户,较一季度末下降了162户,降幅1.44%;户均持股市值由一季度末的26.70万元下降至24.19万元,降幅为9.40%。

指标注解:

市盈率

=总市值/净利润。当公司亏损时市盈率为负,此时用市盈率估值没有实际意义,往往用市净率或市销率做参考。

市净率

=总市值/净资产。市净率估值法多用于盈利波动较大而净资产相对稳定的公司。

市销率

=总市值/营业收入。市销率估值法通常用于亏损或微利的成长型公司。

文中市盈率和市销率采用TTM方式,即以截至最近一期财报(含预报)12个月的数据计算。市净率采用LF方式,即以最近一期财报数据计算。

市盈率为负时,不显示当期分位数,会导致折线图中断。

加载中...