新浪财经

海通证券:2024年上半年净利润同比下降75.11% 拟10派0.3元

中证网

关注

中证智能财讯 海通证券(600837)8月30日披露2024年半年度报告。2024年上半年,公司实现营业收入88.65亿元,同比下降47.76%;归母净利润9.53亿元,同比下降75.11%;扣非净利润5.46亿元,同比下降83.01%;经营活动产生的现金流量净额为192.82亿元,上年同期为-107.42亿元;报告期内,海通证券基本每股收益为0.07元,加权平均净资产收益率为0.58%。公司2024年半年度分配预案为:拟向全体股东每10股派现0.3元(含税)。

以8月29日收盘价计算,海通证券目前市盈率(TTM)约为-59.16倍,市净率(LF)约为0.68倍,市销率(TTM)约为7.44倍。

公司近年市盈率(TTM)、市净率(LF)、市销率(TTM)历史分位图如下所示:

根据半年报,公司第二季度实现营业总收入41.03亿元,同比下降51.43%,环比下降13.83%;归母净利润4179.85万元,同比下降97.01%,环比下降95.41%;扣非净利润1826.74万元,同比下降98.66%,环比下降96.54%。

分产品来看,2024年上半年公司主营业务中,手续费及佣金净收入收入35.04亿元,同比下降29.07%,占营业收入的39.53%;投资收益收入21.91亿元,同比下降41.08%,占营业收入的24.71%;利息净收入收入17.71亿元,同比下降18.93%,占营业收入的19.98%。

盈利能力方面, 2024年半年度公司加权平均净资产收益率为0.58%,同比下降1.71个百分点。

2024年上半年,公司经营活动现金流净额为192.82亿元,同比增加300.24亿元;筹资活动现金流净额-197.73亿元,同比减少306.98亿元;投资活动现金流净额57.83亿元,上年同期为53.99亿元。

资产重大变化方面,截至2024年上半年末,公司货币资金较上年末增加3.24%,占公司总资产比重上升1.51个百分点;应收款项较上年末减少31.62%,占公司总资产比重下降0.46个百分点;长期应收款较上年末减少8.07%,占公司总资产比重下降0.41个百分点;其他权益工具投资合计较上年末增加30.03%,占公司总资产比重上升0.38个百分点。

负债重大变化方面,截至2024年上半年末,公司卖出回购金融资产款较上年末减少11.41%,占公司总资产比重下降1.10个百分点;交易性金融负债合计较上年末减少40.12%,占公司总资产比重下降1.01个百分点;长期借款较上年末减少12.58%,占公司总资产比重下降0.48个百分点;拆入资金较上年末增加32.58%,占公司总资产比重上升0.75个百分点。

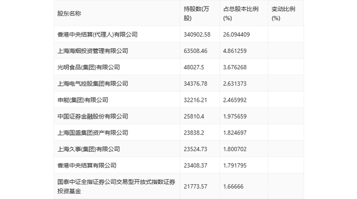
半年报显示,2024年上半年末公司十大流通股东中,新进股东为国泰中证全指证券公司交易型开放式指数证券投资基金,取代了一季度末的上海百联集团股份有限公司。在具体持股比例上,香港中央结算(代理人)有限公司持股有所上升,上海电气控股集团有限公司、香港中央结算有限公司持股有所下降。

筹码集中度方面,截至2024年上半年末,公司股东总户数为24.44万户,较一季度末增长了4109户,增幅1.71%;户均持股市值由一季度末的47.27万元下降至45.73万元,降幅为3.26%。

指标注解:

市盈率

=总市值/净利润。当公司亏损时市盈率为负,此时用市盈率估值没有实际意义,往往用市净率或市销率做参考。

市净率

=总市值/净资产。市净率估值法多用于盈利波动较大而净资产相对稳定的公司。

市销率

=总市值/营业收入。市销率估值法通常用于亏损或微利的成长型公司。

文中市盈率和市销率采用TTM方式,即以截至最近一期财报(含预报)12个月的数据计算。市净率采用LF方式,即以最近一期财报数据计算。

市盈率为负时,不显示当期分位数,会导致折线图中断。

加载中...