新浪财经

九阳股份:2024年上半年净利润1.75亿元 同比下降29.04%

中证网

关注

中证智能财讯 九阳股份(002242)8月30日披露2024年半年度报告。2024年上半年,公司实现营业收入43.87亿元,同比增长1.60%;归母净利润1.75亿元,同比下降29.04%;扣非净利润2.11亿元,同比下降6.56%;经营活动产生的现金流量净额为2.27亿元,同比下降32.47%;报告期内,九阳股份基本每股收益为0.23元,加权平均净资产收益率为4.96%。

以8月29日收盘价计算,九阳股份目前市盈率(TTM)约为24.2倍,市净率(LF)约为2.15倍,市销率(TTM)约为0.79倍。

公司近年市盈率(TTM)、市净率(LF)、市销率(TTM)历史分位图如下所示:

根据半年报,公司第二季度实现营业总收入23.21亿元,同比下降4.29%,环比增长12.40%;归母净利润4542.98万元,同比下降63.88%,环比下降65.04%;扣非净利润8588.35万元,同比下降21.34%,环比下降31.52%。

资料显示,公司从事小家电产品和厨房用具的研发、生产、销售及技术咨询;粮食的储藏、加工及销售。

分产品来看,2024年上半年公司主营业务中,营养煲系列收入18.42亿元,同比增长4.68%,占营业收入的42%;食品加工机系列收入14.25亿元,同比增长13.57%,占营业收入的32.49%;西式电器系列收入8.47亿元,同比下降9.96%,占营业收入的19.31%。

2024年上半年,公司毛利率为28.07%,同比上升0.99个百分点;净利率为3.94%,较上年同期下降1.80个百分点。从单季度指标来看,2024年第二季度公司毛利率为29.10%,同比上升2.64个百分点,环比上升2.18个百分点;净利率为1.82%,较上年同期下降3.37个百分点,较上一季度下降4.50个百分点。

分产品来看,营养煲系列、食品加工机系列、西式电器系列、炊具系列2024年上半年毛利率分别为21.44%、35.07%、28.67%、23.09%。

数据显示,2024年上半年公司加权平均净资产收益率为4.96%,较上年同期下降2.37个百分点;公司2024年上半年投入资本回报率为3.61%,较上年同期下降3.13个百分点。

2024年上半年,公司经营活动现金流净额为2.27亿元,同比下降32.47%,主要系支付票据保证金增加所致;筹资活动现金流净额-1.48亿元,同比增加1.14亿元,主要系本期分配股利减少所致;投资活动现金流净额3012.07万元,上年同期为-1211.41万元,主要系本期购买的定期存单减少所致。

进一步统计发现,2024年上半年公司自由现金流为3.91亿元,相比上年同期下降12.97%。

2024年上半年,公司营业收入现金比为123.16%,净现比为129.57%。

营运能力方面,2024年上半年,公司总资产周转率为0.57次,上年同期为0.62次(2023年上半年行业平均值为0.48次,公司位居同行业3/10);公司应收账款周转率、存货周转率分别为3.72次、5.36次。

2024年上半年,公司期间费用为10.11亿元,较上年同期增加9497.07万元;期间费用率为23.06%,较上年同期上升1.84个百分点。其中,销售费用同比增长15.83%,管理费用同比下降0.31%,研发费用同比增长8.62%,财务费用由去年同期的-4189.00万元变为-5940.09万元。

资料显示,财务费用的变动主要因为本期利息收入增加。

资产重大变化方面,截至2024年上半年末,公司应收票据较上年末减少54.12%,占公司总资产比重下降8.20个百分点;应收账款较上年末增加33.84%,占公司总资产比重上升4.34个百分点;货币资金较上年末增加10.24%,占公司总资产比重上升2.99个百分点;其他流动资产较上年末减少26.66%,占公司总资产比重下降0.87个百分点。

负债重大变化方面,截至2024年上半年末,公司应付票据较上年末增加28.75%,占公司总资产比重上升5.85个百分点;应付账款较上年末减少15.01%,占公司总资产比重下降3.53个百分点;其他流动负债较上年末减少68.52%,占公司总资产比重下降1.78个百分点;应付职工薪酬较上年末减少90.24%,占公司总资产比重下降1.65个百分点。

从存货变动来看,截至2024年上半年末,公司存货账面价值为6.2亿元,占净资产的17.38%,较上年末增加6110.11万元。其中,存货跌价准备为3282.23万元,计提比例为5.03%。

在偿债能力方面,公司2024年上半年末资产负债率为53.34%,相比上年末下降0.86个百分点;有息资产负债率为0.42%,相比上年末上升0.17个百分点。

2024年上半年,公司流动比率为1.39,速动比率为1.24。

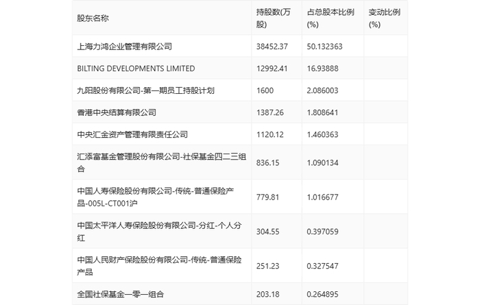
半年报显示,2024年上半年末公司十大流通股东中,持股最多的为上海力鸿企业管理有限公司,占比50.13%。十大流通股东名单相比2024年一季报维持不变。在具体持股比例上,汇添富基金管理股份有限公司-社保基金四二三组合、中国人寿保险股份有限公司-传统-普通保险产品-005L-CT001沪、中国人民财产保险股份有限公司-传统-普通保险产品持股有所上升,香港中央结算有限公司持股有所下降。

筹码集中度方面,截至2024年上半年末,公司股东总户数为4.3万户,较一季度末增长了1180户,增幅2.82%;户均持股市值由一季度末的19.13万元下降至18.68万元,降幅为2.35%。

指标注解:

市盈率

=总市值/净利润。当公司亏损时市盈率为负,此时用市盈率估值没有实际意义,往往用市净率或市销率做参考。

市净率

=总市值/净资产。市净率估值法多用于盈利波动较大而净资产相对稳定的公司。

市销率

=总市值/营业收入。市销率估值法通常用于亏损或微利的成长型公司。

文中市盈率和市销率采用TTM方式,即以截至最近一期财报(含预报)12个月的数据计算。市净率采用LF方式,即以最近一期财报数据计算。

市盈率为负时,不显示当期分位数,会导致折线图中断。

加载中...