新浪财经

来伊份:2024年上半年净利润1492.45万元 同比下降72.56%

中证网

关注

中证智能财讯 来伊份(603777)8月30日披露2024年半年报。2024年上半年,公司实现营业总收入17.92亿元,同比下降15.05%;归母净利润1492.45万元,同比下降72.56%;扣非净利润亏损888.88万元,上年同期盈利3459.21万元;经营活动产生的现金流量净额为1.05亿元,同比增长49.24%;报告期内,来伊份基本每股收益为0.04元,加权平均净资产收益率为0.81%。

公告称,公司营业收入变化主要由于公司进行部分区域门店结构调整,直营收入受影响同比下降,导致当期收入有所下滑。

报告期内,公司合计非经常性损益为2381.33万元,其中除同公司正常经营业务相关的有效套期保值业务外,非金融企业持有金融资产和金融负债产生的公允价值变动损益以及处置金融资产和金融负债产生的损益为1798.82万元。

以8月29日收盘价计算,来伊份目前市盈率(TTM)约为160.73倍,市净率(LF)约为1.53倍,市销率(TTM)约为0.77倍。

公司近年市盈率(TTM)、市净率(LF)、市销率(TTM)历史分位图如下所示:

根据半年报,公司第二季度实现营业总收入7.31亿元,同比下降18.52%,环比下降31.10%;归母净利润-4638.73万元,同比下降175.58%,环比下降175.66%;扣非净利润-5607.16万元,同比下降98.55%,环比下降218.84%。

资料显示,公司作为一家科技赋能的“实业+投资”双轮驱动的“产品+平台”型企业,积极进行全国化、全渠道布局,通过加盟+经销+云商从区域型走向全国化。同时整合资源,充分链接产业链和合作伙伴,夯实基础能力,共同建设多业态消费场景的家庭生活生态大平台,致力于为消费者创造更多有爱的产品,满足用户在家庭生活需求全天候各类场景下不同需求。

分产品来看,2024年上半年公司主营业务中,肉制品及水产品收入5.24亿元,同比下降18.52%,占营业收入的29.24%;坚果炒货及豆制品收入4.20亿元,同比下降15.20%,占营业收入的23.46%;糖果蜜饯及果蔬收入3.41亿元,同比下降8.74%,占营业收入的19.02%。

2024年上半年,公司毛利率为41.28%,同比下降1.20个百分点;净利率为0.73%,较上年同期下降1.83个百分点。从单季度指标来看,2024年第二季度公司毛利率为40.94%,同比下降0.63个百分点,环比下降0.57个百分点;净利率为-6.71%,较上年同期下降4.80个百分点,较上一季度下降12.56个百分点。

分产品看,肉制品及水产品、坚果炒货及豆制品、糖果蜜饯及果蔬2024年上半年毛利率分别为44.85%、37.79%、45.18%。

数据显示,2024年上半年公司加权平均净资产收益率为0.81%,较上年同期下降2.04个百分点;公司2024年上半年投入资本回报率为0.70%,较上年同期下降1.49个百分点。

2024年上半年,公司经营活动现金流净额为1.05亿元,同比增长49.24%;筹资活动现金流净额-1.51亿元,同比增加4714.74万元;投资活动现金流净额733.01万元,上年同期为-3.84亿元。

进一步统计发现,2024年上半年公司自由现金流为8228.73万元,上年同期为-13266.33万元。

2024年上半年,公司营业收入现金比为114.78%,净现比为703.87%。

营运能力方面,2024年上半年,公司总资产周转率为0.55次,上年同期为0.60次(2023年上半年行业平均值为0.49次,公司位居同行业6/11);固定资产周转率为3.88次,上年同期为4.38次(2023年上半年行业平均值为2.10次,公司位居同行业3/11);公司应收账款周转率、存货周转率分别为33.88次、3.99次。

2024年上半年,公司期间费用为7.39亿元,较上年同期减少9824.04万元;但期间费用率为41.24%,较上年同期上升1.55个百分点。其中,销售费用同比下降10.06%,管理费用同比下降17.42%,研发费用同比下降24.84%,财务费用同比增长243.56%。

资料显示,销售费用的变动主要因为公司采取有效降本措施,优化调整降低门店租赁费、装修费以及人力成本;管理费用的变动主要因为公司采取降本增效措施,整合资源,优化人力成本;财务费用的变动主要因为公司结合市场情况,调整闲置资金的配置结构,利息收入减少;研发费用的变动主要因为公司信息化研发投入的变动。

资产重大变化方面,截至2024年上半年末,公司存货较上年末减少40.49%,占公司总资产比重下降3.50个百分点;交易性金融资产较上年末增加1.68%,占公司总资产比重上升1.72个百分点;使用权资产较上年末减少1.80%,占公司总资产比重上升0.83个百分点;其他非流动资产较上年末增加1.81%,占公司总资产比重上升0.63个百分点。

负债重大变化方面,截至2024年上半年末,公司应付账款较上年末减少42.19%,占公司总资产比重下降6.18个百分点,主要系产品备货时间致供应商货款支付时点不同,按照货款结算周期完成结算;应交税费较上年末减少44.10%,占公司总资产比重下降0.41个百分点;合同负债较上年末减少5.06%,占公司总资产比重上升0.16个百分点;一年内到期的非流动负债较上年末增加2.99%,占公司总资产比重上升0.77个百分点。

从存货变动来看,截至2024年上半年末,公司存货账面价值为1.97亿元,占净资产的10.65%。根据财报,公司本期没有计提存货跌价准备。

在偿债能力方面,公司2024年上半年末资产负债率为40.78%,相比上年末下降4.63个百分点;有息资产负债率为7.60%,相比上年末上升0.77个百分点。

2024年上半年,公司流动比率为1.48,速动比率为1.29。

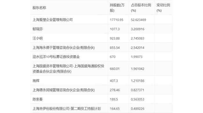
半年报显示,2024年上半年末公司十大流通股东中,新进股东为上海来伊份股份有限公司-第二期员工持股计划,取代了一季度末的上海来伊份股份有限公司回购专用证券账户。在具体持股比例上,上海爱屋企业管理有限公司、汪小明持股有所上升。

值得注意的是,根据半年报数据,来伊份10.19%股份处于质押状态。其中,第一大股东上海爱屋企业管理有限公司质押3430.00万股公司股份,占其全部持股的19.37%。

筹码集中度方面,截至2024年上半年末,公司股东总户数为2.9万户,较一季度末下降了1645户,降幅5.37%;户均持股市值由一季度末的12.14万元下降至10.89万元,降幅为10.30%。

指标注解:

市盈率

=总市值/净利润。当公司亏损时市盈率为负,此时用市盈率估值没有实际意义,往往用市净率或市销率做参考。

市净率

=总市值/净资产。市净率估值法多用于盈利波动较大而净资产相对稳定的公司。

市销率

=总市值/营业收入。市销率估值法通常用于亏损或微利的成长型公司。

文中市盈率和市销率采用TTM方式,即以截至最近一期财报(含预报)12个月的数据计算。市净率采用LF方式,即以最近一期财报数据计算。

市盈率为负时,不显示当期分位数,会导致折线图中断。

加载中...