新浪财经

上海建工:2024年上半年净利润8.26亿元 同比增长9.32%

腾讯美股

关注

上海建工(600170)8月30日披露2024年半年度报告。2024年上半年,公司实现营业收入1459.77亿元,同比增长1.11%;归母净利润8.26亿元,同比增长9.32%;扣非净利润7.03亿元,同比增长11.86%;经营活动产生的现金流量净额为-226.2亿元,上年同期为-131.57亿元;报告期内,上海建工基本每股收益为0.06元,加权平均净资产收益率为1.82%。

以8月29日收盘价计算,上海建工目前市盈率(TTM)约为10.7倍,市净率(LF)约为0.39倍,市销率(TTM)约为0.06倍。

公司近年市盈率(TTM)、市净率(LF)、市销率(TTM)历史分位图如下所示:

根据半年报,公司第二季度实现营业总收入712.4亿元,同比下降8.86%,环比下降4.68%;归母净利润5.36亿元,同比增长7.26%,环比增长84.62%;扣非净利润5.53亿元,同比增长12.09%,环比增长268.50%。

2024年上半年,公司毛利率为7.62%,同比下降0.48个百分点;净利率为0.61%,较上年同期上升0.04个百分点。从单季度指标来看,2024年第二季度公司毛利率为9.15%,同比下降0.48个百分点,环比上升2.98个百分点;净利率为0.79%,较上年同期上升0.06个百分点,较上一季度上升0.35个百分点。

数据显示,2024年上半年公司加权平均净资产收益率为1.82%,较上年同期下降0.24个百分点;公司2024年上半年投入资本回报率为1.07%,较上年同期下降0.01个百分点。

2024年上半年,公司经营活动现金流净额为-226.20亿元,同比减少94.62亿元;筹资活动现金流净额4.82亿元,同比增加25.11亿元;投资活动现金流净额-26.42亿元,上年同期为-35.92亿元。

进一步统计发现,2024年上半年公司自由现金流为-248.70亿元,上年同期为-121.18亿元。

2024年上半年,公司营业收入现金比为121.10%,净现比为-2737.19%。

营运能力方面,2024年上半年,公司总资产周转率为0.39次,上年同期为0.40次(2023年上半年行业平均值为0.21次,公司位居同行业22/167);固定资产周转率为14.78次,上年同期为16.65次(2023年上半年行业平均值为5.55次,公司位居同行业28/167);公司应收账款周转率存货周转率分别为2.36次、2.21次。

2024年上半年,公司期间费用为92.38亿元,较上年同期减少5.03亿元;期间费用率为6.33%,较上年同期下降0.42个百分点。其中,销售费用同比下降22.56%,管理费用同比增长2.19%,研发费用同比下降8.68%,财务费用同比下降11.1%。

资料显示,销售费用的变动主要因为由于建材工业、房产开发事业群销售费用下降。

资产重大变化方面,截至2024年上半年末,公司货币资金较上年末减少21.66%,占公司总资产比重下降4.33个百分点;存货较上年末增加2.77%,占公司总资产比重上升1.43个百分点;合同资产较上年末增加3.57%,占公司总资产比重上升1.16个百分点;长期应收款较上年末增加2.77%,占公司总资产比重上升0.47个百分点。

负债重大变化方面,截至2024年上半年末,公司应付账款较上年末减少12.17%,占公司总资产比重下降3.05个百分点;合同负债较上年末减少8.21%,占公司总资产比重下降0.24个百分点;应付债券较上年末减少30.35%,占公司总资产比重下降0.65个百分点,主要系本期境外债券重分类至一年内到期的非流动负债;一年内到期的非流动负债较上年末增加25.44%,占公司总资产比重上升0.97个百分点。

从存货变动来看,截至2024年上半年末,公司存货账面价值为619.64亿元,占净资产的137.16%,较上年末增加16.68亿元。其中,存货跌价准备为13.1亿元,计提比例为2.07%。

在偿债能力方面,公司2024年上半年末资产负债率为85.76%,相比上年末下降0.84个百分点;有息资产负债率为23.97%,相比上年末上升2.33个百分点。

2024年上半年,公司流动比率为1.09,速动比率为0.84。

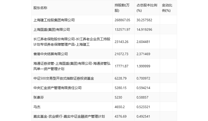
半年报显示,2024年上半年末公司十大流通股东中,新进股东为张素芬、马杰,取代了一季度末的江东华、南方基金-农业银行-南方中证金融资产管理计划。在具体持股比例上,香港中央结算有限公司、中证500交易型开放式指数证券投资基金持股有所下降。

筹码集中度方面,截至2024年上半年末,公司股东总户数为16.04万户,较一季度末下降了646户,降幅0.40%;户均持股市值由一季度末的12.91万元下降至11.91万元,降幅为7.75%。

指标注解:

市盈率

=总市值/净利润。当公司亏损时市盈率为负,此时用市盈率估值没有实际意义,往往用市净率或市销率做参考。

市净率

=总市值/净资产。市净率估值法多用于盈利波动较大而净资产相对稳定的公司。

市销率

=总市值/营业收入。市销率估值法通常用于亏损或微利的成长型公司。

文中市盈率和市销率采用TTM方式,即以截至最近一期财报(含预报)12个月的数据计算。市净率采用LF方式,即以最近一期财报数据计算。

市盈率为负时,不显示当期分位数,会导致折线图中断。文章来源:中国证券报·中证网文章作者:李香才原标题:上海建工:2024年上半年净利润8.26亿元 同比增长9.32%

加载中...