新浪财经

南国置业:2024年上半年盈利437.25万元 同比扭亏

中证网

关注

中证智能财讯 南国置业(002305)8月30日披露2024年半年报。2024年上半年,公司实现营业总收入13.56亿元,同比增长205.44%;归母净利润437.25万元,同比扭亏;经营活动产生的现金流量净额为-13.76亿元,上年同期为4.49亿元;报告期内,南国置业基本每股收益为0.0025元,加权平均净资产收益率为0.90%。

公告称,公司营业收入变化主要由于受房地产项目开发周期的影响,本期可结转物业较上年同期增加。

以8月29日收盘价计算,南国置业目前市盈率(TTM)约为-2.52倍,市净率(LF)约为5.21倍,市销率(TTM)约为1.29倍。

公司近年市盈率(TTM)、市净率(LF)、市销率(TTM)历史分位图如下所示:

根据半年报,公司第二季度实现营业总收入11.62亿元,同比增长366.02%,环比增长499.48%;归母净利润-2.58亿元,同比增长49.85%,环比下降198.33%;扣非净利润-2.38亿元,同比增长53.88%,环比增长18.46%。

分产品来看,2024年上半年公司主营业务中,物业销售收入10.81亿元,同比增长559.62%,占营业收入的79.74%;物业出租及物业管理收入2.52亿元,同比下降0.57%,占营业收入的18.62%。

2024年上半年,公司毛利率为-9.42%,同比上升46.90个百分点;净利率为-1.43%,较上年同期上升161.62个百分点。从单季度指标来看,2024年第二季度公司毛利率为-0.61%,同比上升104.00个百分点,环比上升61.63个百分点;净利率为-21.99%,较上年同期上升196.08个百分点,较上一季度下降143.78个百分点。

分产品看,物业销售、物业出租及物业管理2024年上半年毛利率分别为8.26%、-84.78%。

盈利能力方面, 2024年半年度公司加权平均净资产收益率为0.9%,同比上升37.77个百分点。公司2024年上半年投入资本回报率为2.8%,较上年同期上升6.23个百分点。

2024年上半年,公司经营活动现金流净额为-13.76亿元,同比减少18.25亿元,主要系预售项目较上年同期减少所致;筹资活动现金流净额9440.64万元,同比增加10.21亿元,主要系偿还融资本息较上年同期减少所致;投资活动现金流净额-1.89亿元,上年同期为8208.41万元,主要系出售子公司股权,合并范围变化导致的现金减少所致。

进一步统计发现,2024年上半年公司自由现金流为-20.58亿元,上年同期为14.39亿元。

2024年上半年,公司营业收入现金比为84.60%,净现比为-31476.20%。

营运能力方面,2024年上半年,公司总资产周转率为0.05次,上年同期为0.02次(2023年上半年行业平均值为0.05次,公司位居同行业10/10);固定资产周转率为2.92次,上年同期为0.92次(2023年上半年行业平均值为2.17次,公司位居同行业8/10);公司应收账款周转率、存货周转率分别为4.12次、0.12次。

2024年上半年,公司期间费用为4.19亿元,较上年同期减少3023.02万元;期间费用率为30.93%,较上年同期下降70.36个百分点。其中,销售费用同比增长72.73%,管理费用同比增长3.65%,财务费用同比下降21.5%。

资料显示,销售费用的变动主要因为房地产销售代理费用增加。

资产重大变化方面,截至2024年上半年末,公司货币资金较上年末减少62.37%,占公司总资产比重下降4.83个百分点;其他应收款(含利息和股利)较上年末增加17.86%,占公司总资产比重上升3.16个百分点;其他流动资产较上年末减少52.44%,占公司总资产比重下降0.65个百分点;投资性房地产较上年末减少8.98%,占公司总资产比重上升0.63个百分点。

负债重大变化方面,截至2024年上半年末,公司其他应付款(含利息和股利)较上年末减少14.39%,占公司总资产比重下降0.21个百分点;合同负债较上年末减少53.95%,占公司总资产比重下降5.47个百分点;一年内到期的非流动负债较上年末增加49.28%,占公司总资产比重上升2.97个百分点;其他流动负债较上年末减少64.03%,占公司总资产比重下降0.61个百分点。

从存货变动来看,截至2024年上半年末,公司存货账面价值为112.64亿元,占净资产的2302.06%,较上年末减少19.24亿元。其中,存货跌价准备为4.05亿元,计提比例为3.47%。

在偿债能力方面,公司2024年上半年末资产负债率为90.78%,相比上年末下降1.20个百分点;有息资产负债率为17.51%,相比上年末上升4.02个百分点。

2024年上半年,公司流动比率为0.87,速动比率为0.24。

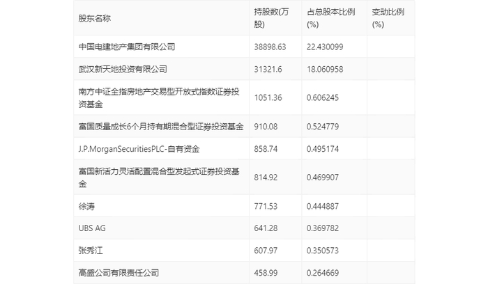
半年报显示,2024年上半年末公司十大流通股东中,新进股东为J.P.MorganSecuritiesPLC-自有资金、徐涛、UBS AG、张秀江、高盛公司有限责任公司,取代了一季度末的曾林森、毛韦明、陈凯、刘人萱、富国核心优势混合型发起式证券投资基金。在具体持股比例上,南方中证全指房地产交易型开放式指数证券投资基金、富国新活力灵活配置混合型发起式证券投资基金持股有所上升,富国质量成长6个月持有期混合型证券投资基金持股有所下降。

筹码集中度方面,截至2024年上半年末,公司股东总户数为7.08万户,较一季度末增长了1.28万户,增幅22.10%;户均持股市值由一季度末的4.88万元下降至3.82万元,降幅为21.72%。

指标注解:

市盈率

=总市值/净利润。当公司亏损时市盈率为负,此时用市盈率估值没有实际意义,往往用市净率或市销率做参考。

市净率

=总市值/净资产。市净率估值法多用于盈利波动较大而净资产相对稳定的公司。

市销率

=总市值/营业收入。市销率估值法通常用于亏损或微利的成长型公司。

文中市盈率和市销率采用TTM方式,即以截至最近一期财报(含预报)12个月的数据计算。市净率采用LF方式,即以最近一期财报数据计算。

市盈率为负时,不显示当期分位数,会导致折线图中断。

加载中...