新浪财经

顺丰控股:2024年上半年净利润48.07亿元 同比增长15.10%

中证网

关注

中证智能财讯 顺丰控股(002352)8月29日披露2024年半年度报告。2024年上半年,公司实现营业收入1344.1亿元,同比增长8.08%;归母净利润48.07亿元,同比增长15.10%;扣非净利润41.48亿元,同比增长11.95%;经营活动产生的现金流量净额为137.22亿元,同比下降0.74%;报告期内,顺丰控股基本每股收益为1.00元,加权平均净资产收益率为5.23%。

以8月28日收盘价计算,顺丰控股目前市盈率(TTM)约为18.05倍,市净率(LF)约为1.81倍,市销率(TTM)约为0.6倍。

公司近年市盈率(TTM)、市净率(LF)、市销率(TTM)历史分位图如下所示:

根据半年报,公司第二季度实现营业总收入690.69亿元,同比增长9.08%,环比增长5.70%;归母净利润28.95亿元,同比增长17.87%,环比增长51.45%;扣非净利润24.91亿元,同比增长13.84%,环比增长50.35%。

2024年上半年,公司毛利率为13.86%,同比上升0.34个百分点;净利率为3.54%,较上年同期上升0.41个百分点。从单季度指标来看,2024年第二季度公司毛利率为14.51%,同比上升1.32个百分点,环比上升1.34个百分点;净利率为4.24%,较上年同期上升0.73个百分点,较上一季度上升1.44个百分点。

数据显示,2024年上半年公司加权平均净资产收益率为5.23%,较上年同期增长0.51个百分点;公司2024年上半年投入资本回报率为3.18%,较上年同期增长0.42个百分点。

2024年上半年,公司经营活动现金流净额为137.22亿元,同比下降0.74%;筹资活动现金流净额-61.82亿元,同比减少12.18亿元;投资活动现金流净额-154.45亿元,上年同期为-136.34亿元。

进一步统计发现,2024年上半年公司自由现金流为-82.01亿元,上年同期为-94.21亿元。

2024年上半年,公司营业收入现金比为140.32%,净现比为285.48%。

2024年上半年,公司期间费用为126.33亿元,较上年同期增加1.32亿元;但期间费用率为9.40%,较上年同期下降0.65个百分点。其中,销售费用同比增长5.61%,管理费用同比增长0.29%,研发费用同比增长10.76%,财务费用同比下降9.92%。

资产重大变化方面,截至2024年上半年末,公司交易性金融资产较上年末增加165.02%,占公司总资产比重上升5.14个百分点;货币资金较上年末减少20.22%,占公司总资产比重下降3.72个百分点;在建工程较上年末减少27.12%,占公司总资产比重下降0.48个百分点;其他权益工具投资合计较上年末减少12.07%,占公司总资产比重下降0.48个百分点。

负债重大变化方面,截至2024年上半年末,公司短期借款较上年末增加30.02%,占公司总资产比重上升2.55个百分点,主要系新增借款导致;其他流动负债较上年末增加1364.35%,占公司总资产比重上升1.04个百分点;一年内到期的非流动负债较上年末减少12.81%,占公司总资产比重下降0.52个百分点;其他应付款(含利息和股利)较上年末减少10.06%,占公司总资产比重下降0.49个百分点。

在偿债能力方面,公司2024年上半年末资产负债率为55.01%,相比上年末上升1.64个百分点;有息资产负债率为28.35%,相比上年末上升2.23个百分点。

2024年上半年,公司流动比率为1.21,速动比率为1.18。

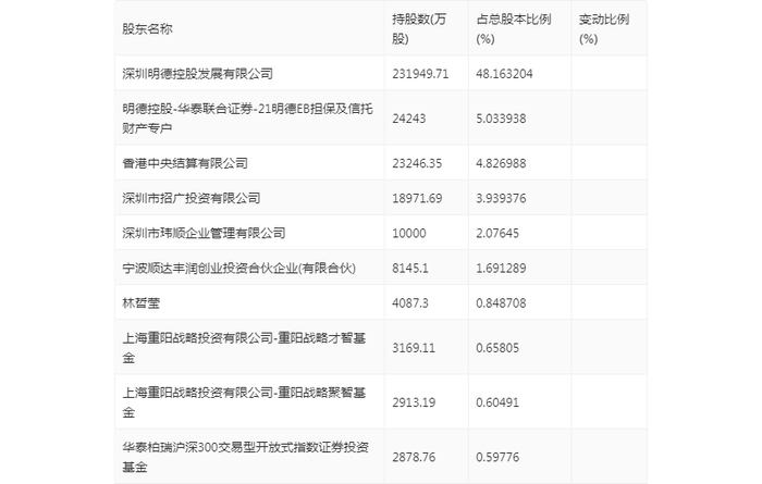
半年报显示,2024年上半年末公司十大流通股东中,持股最多的为深圳明德控股发展有限公司,占比48.16%。十大流通股东名单相比2024年一季报维持不变。在具体持股比例上,深圳明德控股发展有限公司、明德控股-华泰联合证券-21明德EB担保及信托财产专户、香港中央结算有限公司、深圳市招广投资有限公司、深圳市玮顺企业管理有限公司、林哲莹、上海重阳战略投资有限公司-重阳战略才智基金、上海重阳战略投资有限公司-重阳战略聚智基金、华泰柏瑞沪深300交易型开放式指数证券投资基金持股有所上升,宁波顺达丰润创业投资合伙企业(有限合伙)持股有所下降。

值得注意的是,根据半年报数据,顺丰控股28.12%股份处于质押状态。其中,第一大股东深圳明德控股发展有限公司质押10.58亿股公司股份,占其全部持股的45.61%。

筹码集中度方面,截至2024年上半年末,公司股东总户数为19.64万户,较一季度末下降了1.21万户,降幅5.82%;户均持股市值由一季度末的85.45万元上升至87.52万元,增幅为2.42%。

指标注解:

市盈率

=总市值/净利润。当公司亏损时市盈率为负,此时用市盈率估值没有实际意义,往往用市净率或市销率做参考。

市净率

=总市值/净资产。市净率估值法多用于盈利波动较大而净资产相对稳定的公司。

市销率

=总市值/营业收入。市销率估值法通常用于亏损或微利的成长型公司。

文中市盈率和市销率采用TTM方式,即以截至最近一期财报(含预报)12个月的数据计算。市净率采用LF方式,即以最近一期财报数据计算。

市盈率为负时,不显示当期分位数,会导致折线图中断。

加载中...