新浪财经

华鼎股份:2024年上半年净利润1.63亿元 同比增长80.02%

中证网

关注

中证智能财讯 华鼎股份(601113)8月29日披露2024年半年报。2024年上半年,公司实现营业总收入44.45亿元,同比增长10.01%;归母净利润1.63亿元,同比增长80.02%;扣非净利润1.52亿元,同比增长86.58%;经营活动产生的现金流量净额为4.43亿元,同比增长11.12%;报告期内,华鼎股份基本每股收益为0.15元,加权平均净资产收益率为4.82%。

以8月28日收盘价计算,华鼎股份目前市盈率(TTM)约为14.23倍,市净率(LF)约为0.95倍,市销率(TTM)约为0.36倍。

公司近年市盈率(TTM)、市净率(LF)、市销率(TTM)历史分位图如下所示:

根据半年报,公司第二季度实现营业总收入23.6亿元,同比增长4.75%,环比增长13.23%;归母净利润8222.26万元,同比下降3.78%,环比增长2.04%;扣非净利润7945.64万元,同比下降4.74%,环比增长10.08%。

资料显示,公司是一家专业从事高品质、差别化民用锦纶长丝研发、生产和销售的国家高新技术企业,公司拥有七大生产基地,是中国锦纶产品品类最齐全企业。

2024年上半年,公司毛利率为18.64%,同比上升0.27个百分点;净利率为3.61%,较上年同期上升1.53个百分点。从单季度指标来看,2024年第二季度公司毛利率为17.78%,同比下降0.52个百分点,环比下降1.82个百分点;净利率为3.43%,较上年同期下降0.20个百分点,较上一季度下降0.38个百分点。

数据显示,2024年上半年公司加权平均净资产收益率为4.82%,较上年同期增长2.50个百分点;公司2024年上半年投入资本回报率为3.79%,较上年同期增长1.81个百分点。

2024年上半年,公司经营活动现金流净额为4.43亿元,同比增长11.12%;筹资活动现金流净额-3.37亿元,同比减少266.21万元;投资活动现金流净额-2.82亿元,上年同期为2.21亿元。

进一步统计发现,2024年上半年公司自由现金流为3.47亿元,相比上年同期下降36.96%。

2024年上半年,公司营业收入现金比为78.29%,净现比为272.16%。

营运能力方面,2024年上半年,公司总资产周转率为0.71次,上年同期为0.64次(2023年上半年行业平均值为0.53次,公司位居同行业7/20);固定资产周转率为1.78次,上年同期为1.56次(2023年上半年行业平均值为42.07次,公司位居同行业18/20);公司应收账款周转率、存货周转率分别为6.36次、4.00次。

2024年上半年,公司期间费用为6.09亿元,较上年同期减少2074.47万元;期间费用率为13.71%,较上年同期下降1.89个百分点。其中,销售费用同比下降6.34%,管理费用同比下降1.72%,研发费用同比增长14.49%,财务费用由去年同期的-545.93万元变为-993.14万元。

资料显示,财务费用的变动主要因为平均贷款规模下降借款利息支出减少。

资产重大变化方面,截至2024年上半年末,公司其他应收款(含利息和股利)较上年末减少93.35%,占公司总资产比重下降2.93个百分点;在建工程较上年末增加214.65%,占公司总资产比重上升2.67个百分点;货币资金较上年末减少13.45%,占公司总资产比重下降2.39个百分点;预付款项较上年末增加128.67%,占公司总资产比重上升1.48个百分点。

负债重大变化方面,截至2024年上半年末,公司长期应付款合计较上年末减少50.00%,占公司总资产比重下降3.70个百分点;长期借款较上年末减少44.45%,占公司总资产比重下降1.82个百分点;应付账款较上年末增加16.65%,占公司总资产比重上升1.21个百分点;应付票据较上年末增加8.83%,占公司总资产比重上升0.82个百分点。

从存货变动来看,截至2024年上半年末,公司存货账面价值为9.08亿元,占净资产的26.24%,较上年末增加600.5万元。其中,存货跌价准备为5051.15万元,计提比例为5.27%。

在偿债能力方面,公司2024年上半年末资产负债率为44.58%,相比上年末下降3.02个百分点;有息资产负债率为11.46%,相比上年末下降1.67个百分点。

2024年上半年,公司流动比率为1.51,速动比率为1.08。

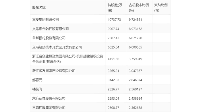
半年报显示,2024年上半年末公司十大流通股东中,持股最多的为真爱集团有限公司,占比9.72%。十大流通股东名单相比2024年一季报维持不变。在具体持股比例上,楼航飞持股有所上升,东方证券股份有限公司持股有所下降。

筹码集中度方面,截至2024年上半年末,公司股东总户数为2.41万户,较一季度末下降了368户,降幅1.50%;户均持股市值由一季度末的14.64万元上升至15.00万元,增幅为2.46%。

指标注解:

市盈率

=总市值/净利润。当公司亏损时市盈率为负,此时用市盈率估值没有实际意义,往往用市净率或市销率做参考。

市净率

=总市值/净资产。市净率估值法多用于盈利波动较大而净资产相对稳定的公司。

市销率

=总市值/营业收入。市销率估值法通常用于亏损或微利的成长型公司。

文中市盈率和市销率采用TTM方式,即以截至最近一期财报(含预报)12个月的数据计算。市净率采用LF方式,即以最近一期财报数据计算。

市盈率为负时,不显示当期分位数,会导致折线图中断。

加载中...