新浪财经

智光电气:2024年上半年亏损9023.02万元

中证网

关注

中证智能财讯 智光电气(002169)8月29日披露2024年半年报。2024年上半年,公司实现营业总收入12.48亿元,同比下降5.94%;归母净利润亏损9023.02万元,上年同期盈利5872.65万元;扣非净利润亏损6056.56万元,上年同期亏损2479.56万元;经营活动产生的现金流量净额为-8835.18万元,上年同期为-2291.85万元;报告期内,智光电气基本每股收益为-0.1172元,加权平均净资产收益率为-2.99%。

报告期内,公司合计非经常性损益为-2966.46万元,其中除同公司正常经营业务相关的有效套期保值业务外,非金融企业持有金融资产和金融负债产生的公允价值变动损益以及处置金融资产和金融负债产生的损益为-4882.24万元。

以8月28日收盘价计算,智光电气目前市盈率(TTM)约为-10.69倍,市净率(LF)约为1.12倍,市销率(TTM)约为1.23倍。

公司近年市盈率(TTM)、市净率(LF)、市销率(TTM)历史分位图如下所示:

根据半年报,公司第二季度实现营业总收入7.21亿元,同比下降18.62%,环比增长36.83%;归母净利润-2869.65万元,同比增长35.83%,环比增长53.36%;扣非净利润-1354.52万元,同比下降136.65%,环比增长71.19%。

半年报显示,公司主要从事数字能源技术及产品的研发、生产和销售及综合能源技术研究与服务。

2024年上半年,公司毛利率为15.32%,同比上升0.08个百分点;净利率为-7.17%,较上年同期下降11.19个百分点。从单季度指标来看,2024年第二季度公司毛利率为17.07%,同比上升3.53个百分点,环比上升4.15个百分点;净利率为-3.81%,较上年同期上升1.61个百分点,较上一季度上升7.97个百分点。

数据显示,2024年上半年公司加权平均净资产收益率为-2.99%,较上年同期下降4.76个百分点;公司2024年上半年投入资本回报率为-1.22%,较上年同期下降2.77个百分点。

2024年上半年,公司经营活动现金流净额为-8835.18万元,同比减少6543.33万元;筹资活动现金流净额8.96亿元,同比增加8.27亿元;投资活动现金流净额-7.45亿元,上年同期为-2.84亿元。

进一步统计发现,2024年上半年公司自由现金流为-14.89亿元,上年同期为-2.11亿元。

2024年上半年,公司营业收入现金比为107.75%。

营运能力方面,2024年上半年,公司总资产周转率为0.15次,上年同期为0.20次(2023年上半年行业平均值为0.23次,公司位居同行业16/26);固定资产周转率为1.06次,上年同期为1.11次(2023年上半年行业平均值为3.02次,公司位居同行业22/26);公司应收账款周转率、存货周转率分别为0.89次、1.65次。

2024年上半年,公司期间费用为2.62亿元,较上年同期增加3605.81万元;期间费用率为21.01%,较上年同期上升3.97个百分点。其中,销售费用同比增长37.33%,管理费用同比下降8.97%,研发费用同比增长15.5%,财务费用同比增长78.6%。

资料显示,销售费用的变动主要因为人工成本和广告宣传费等费用增加;财务费用的变动主要因为本期融资增加,导致财务费用增加。

资产重大变化方面,截至2024年上半年末,公司货币资金较上年末减少18.14%,占公司总资产比重下降2.65个百分点;在建工程较上年末增加24.30%,占公司总资产比重上升2.60个百分点;其他非流动金融资产较上年末减少4.25%,占公司总资产比重下降1.23个百分点;应收账款较上年末增加12.55%,占公司总资产比重上升1.19个百分点。

负债重大变化方面,截至2024年上半年末,公司长期借款较上年末增加95.73%,占公司总资产比重上升4.65个百分点,主要系本期公司因长期资产建设向银行借入长期贷款增加;应付账款较上年末减少10.45%,占公司总资产比重下降2.66个百分点;其他应付款(含利息和股利)较上年末减少56.51%,占公司总资产比重下降1.96个百分点;一年内到期的非流动负债较上年末增加419.98%,占公司总资产比重上升1.17个百分点。

从存货变动来看,截至2024年上半年末,公司存货账面价值为6.77亿元,占净资产的23.21%,较上年末增加7576.06万元。其中,存货跌价准备为242.59万元,计提比例为0.36%。

在偿债能力方面,公司2024年上半年末资产负债率为63.87%,相比上年末上升3.67个百分点;有息资产负债率为27.18%,相比上年末上升4.25个百分点。

2024年上半年,公司流动比率为1.09,速动比率为0.91。

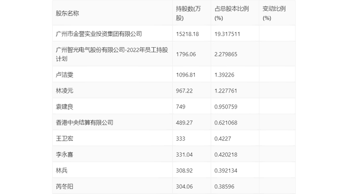
半年报显示,2024年上半年末公司十大流通股东中,新进股东为林兵,取代了一季度末的韩文。在具体持股比例上,袁建良持股有所上升,林凌元、香港中央结算有限公司持股有所下降。

筹码集中度方面,截至2024年上半年末,公司股东总户数为5.97万户,较一季度末下降了2852户,降幅4.56%;户均持股市值由一季度末的7.31万元下降至5.82万元,降幅为20.38%。

指标注解:

市盈率

=总市值/净利润。当公司亏损时市盈率为负,此时用市盈率估值没有实际意义,往往用市净率或市销率做参考。

市净率

=总市值/净资产。市净率估值法多用于盈利波动较大而净资产相对稳定的公司。

市销率

=总市值/营业收入。市销率估值法通常用于亏损或微利的成长型公司。

文中市盈率和市销率采用TTM方式,即以截至最近一期财报(含预报)12个月的数据计算。市净率采用LF方式,即以最近一期财报数据计算。

市盈率为负时,不显示当期分位数,会导致折线图中断。

加载中...