信达地产:2024年上半年净利润1.06亿元 同比下降40.40%
东方财富官微
中证智能财讯信达地产(600657)8月28日披露2024年半年度报告。2024年上半年,公司实现营业收入25.32亿元,同比下降13.77%;归母净利润1.06亿元,同比下降40.40%;扣非净利润9653.97万元,同比扭亏;经营活动产生的现金流量净额为-7.89亿元,上年同期为8.56亿元;报告期内,信达地产基本每股收益为0.04元,加权平均净资产收益率为0.43%。
以8月27日收盘价计算,信达地产目前市盈率(TTM)约为18.89倍,市净率(LF)约为0.33倍,市销率(TTM)约为0.74倍。
公司近年市盈率(TTM)、市净率(LF)、市销率(TTM)历史分位图如下所示:
根据半年报,公司第二季度实现营业总收入17.44亿元,同比增长5.81%,环比增长121.32%;归母净利润3.02亿元,同比增长93.31%,环比增长254.48%;扣非净利润3.0亿元,同比增长812.45%,环比增长247.45%。
资料显示,公司以房地产开发为核心,以代建服务、物业服务、商业运营等为支持,持续完善产品体系与城市布局。
2024年上半年,公司毛利率为28.77%,同比下降3.14个百分点;净利率为2.91%,较上年同期下降3.34个百分点。从单季度指标来看,2024年第二季度公司毛利率为25.88%,同比下降14.63个百分点,环比下降9.29个百分点;净利率为17.15%,较上年同期上升7.92个百分点,较上一季度上升45.74个百分点。
数据显示,2024年上半年公司加权平均净资产收益率为0.43%,较上年同期下降0.30个百分点;公司2024年上半年投入资本回报率为0.54%,较上年同期下降0.87个百分点。
2024年上半年,公司经营活动现金流净额为-7.89亿元,同比减少16.45亿元;筹资活动现金流净额-43.03亿元,同比减少18.21亿元;投资活动现金流净额5.46亿元,上年同期为3.53亿元。
进一步统计发现,2024年上半年公司自由现金流为-14.01亿元,上年同期为-8.56亿元。
2024年上半年,公司营业收入现金比为87.75%,净现比为-741.14%。
营运能力方面,2024年上半年,公司公司总资产周转率为0.03次,上年同期为0.03次(2023年上半年行业平均值为0.07次,公司位居同行业62/79);固定资产周转率为4.94次,上年同期为5.60次(2023年上半年行业平均值为8.45次,公司位居同行业41/79);公司应收账款周转率、存货周转率分别为1.36次、0.05次。
2024年上半年,公司期间费用为10.31亿元,较上年同期减少1.52亿元;但期间费用率为40.70%,较上年同期上升0.44个百分点。其中,销售费用同比下降16.82%,管理费用同比下降5.65%,研发费用同比下降38.63%,财务费用同比下降14.64%。
资产重大变化方面,截至2024年上半年末,公司货币资金较上年末减少49.94%,占公司总资产比重下降5.59个百分点;长期股权投资较上年末增加45.40%,占公司总资产比重上升3.54个百分点;存货较上年末增加1.08%,占公司总资产比重上升2.32个百分点;交易性金融资产较上年末减少36.93%,占公司总资产比重下降0.84个百分点。
负债重大变化方面,截至2024年上半年末,公司应付债券较上年末减少51.09%,占公司总资产比重下降8.65个百分点;一年内到期的非流动负债较上年末增加57.54%,占公司总资产比重上升7.46个百分点;长期借款较上年末减少19.44%,占公司总资产比重下降1.94个百分点;合同负债较上年末减少14.89%,占公司总资产比重下降0.70个百分点。
从存货变动来看,截至2024年上半年末,公司存货账面价值为361.09亿元,占净资产的146.02%,较上年末增加3.85亿元。其中,存货跌价准备为19.64亿元,计提比例为5.16%。
在偿债能力方面,公司2024年上半年末资产负债率为68.37%,相比上年末下降1.06个百分点;有息资产负债率为38.36%,相比上年末下降3.10个百分点。
2024年上半年,公司流动比率为1.72,速动比率为0.48。
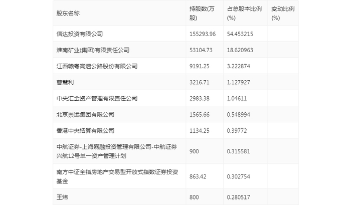
半年报显示,2024年上半年末公司十大流通股东中,新进股东为王炜,取代了一季度末的刘智广。在具体持股比例上,南方中证全指房地产交易型开放式指数证券投资基金持股有所上升,香港中央结算有限公司持股有所下降。
筹码集中度方面,截至2024年上半年末,公司股东总户数为3.84万户,较一季度末下降了2832户,降幅6.86%;户均持股市值由一季度末的24.60万元下降至22.63万元,降幅为8.01%。
指标注解:
市盈率
=总市值/净利润。当公司亏损时市盈率为负,此时用市盈率估值没有实际意义,往往用市净率或市销率做参考。
市净率
=总市值/净资产。市净率估值法多用于盈利波动较大而净资产相对稳定的公司。
市销率
=总市值/营业收入。市销率估值法通常用于亏损或微利的成长型公司。
文中市盈率和市销率采用TTM方式,即以截至最近一期财报(含预报)12个月的数据计算。市净率采用LF方式,即以最近一期财报数据计算。
市盈率为负时,不显示当期分位数,会导致折线图中断。
(文章来源:中国证券报·中证网)