新浪财经

龙佰集团:2024年上半年净利润17.21亿元 同比增长36.40%

中证网

关注

中证智能财讯 龙佰集团(002601)8月28日披露2024年半年度报告。2024年上半年,公司实现营业收入137.92亿元,同比增长4.10%;归母净利润17.21亿元,同比增长36.40%;扣非净利润16.75亿元,同比增长40.06%;经营活动产生的现金流量净额为13.71亿元,同比增长67.20%;报告期内,龙佰集团基本每股收益为0.72元,加权平均净资产收益率为7.19%。

以8月27日收盘价计算,龙佰集团目前市盈率(TTM)约为9.94倍,市净率(LF)约为1.57倍,市销率(TTM)约为1.34倍。

公司近年市盈率(TTM)、市净率(LF)、市销率(TTM)历史分位图如下所示:

根据半年报,公司第二季度实现营业总收入65.1亿元,同比增长3.59%,环比下降10.75%;归母净利润7.7亿元,同比增长12.85%,环比下降19.00%;扣非净利润7.5亿元,同比增长16.71%,环比下降18.88%。

资料显示,公司主要从事钛白粉、海绵钛、锆制品、锂电正负极材料等产品的生产与销售。

2024年上半年,公司毛利率为27.53%,同比上升2.42个百分点;净利率为12.42%,较上年同期上升2.31个百分点。从单季度指标来看,2024年第二季度公司毛利率为26.68%,同比下降0.72个百分点,环比下降1.61个百分点;净利率为11.86%,较上年同期上升0.54个百分点,较上一季度下降1.06个百分点。

数据显示,2024年上半年公司加权平均净资产收益率为7.19%,较上年同期增长1.45个百分点;公司2024年上半年投入资本回报率为3.74%,较上年同期增长0.25个百分点。

2024年上半年,公司经营活动现金流净额为13.71亿元,同比增长67.20%,主要系本期销售商品、提供劳务收到的现金增加所致;筹资活动现金流净额2.16亿元,同比减少8.26亿元,主要系本期偿还债务支付的现金增加所致;投资活动现金流净额-4.02亿元,上年同期为-14.99亿元,主要系本期购建固定资产、无形资产和其他长期资产支付的现金减少所致。

进一步统计发现,2024年上半年公司自由现金流为25.79亿元,上年同期为-44.94亿元。

2024年上半年,公司营业收入现金比为92.81%,净现比为79.64%。

营运能力方面,2024年上半年,公司公司总资产周转率为0.21次,上年同期为0.22次(2023年上半年行业平均值为0.30次,公司位居同行业47/61);固定资产周转率为0.57次,上年同期为0.71次(2023年上半年行业平均值为1.00次,公司位居同行业46/61);公司应收账款周转率、存货周转率分别为4.05次、1.31次。

2024年上半年,公司期间费用为14.94亿元,较上年同期减少1.35亿元;期间费用率为10.83%,较上年同期下降1.47个百分点。其中,销售费用同比下降10.62%,管理费用同比增长0.67%,研发费用同比下降27.68%,财务费用同比增长114.17%。

资料显示,财务费用的变动主要因为汇兑收益减少。

资产重大变化方面,截至2024年上半年末,公司在建工程较上年末减少28.97%,占公司总资产比重下降2.46个百分点;货币资金较上年末增加28.73%,占公司总资产比重上升2.34个百分点;应收账款较上年末增加25.79%,占公司总资产比重上升0.88个百分点;无形资产较上年末减少2.05%,占公司总资产比重下降0.81个百分点。

负债重大变化方面,截至2024年上半年末,公司应付票据较上年末增加48.61%,占公司总资产比重上升2.73个百分点;短期借款较上年末增加22.21%,占公司总资产比重上升1.95个百分点;长期借款较上年末减少10.75%,占公司总资产比重下降2.68个百分点;一年内到期的非流动负债较上年末增加27.11%,占公司总资产比重上升0.93个百分点。

从存货变动来看,截至2024年上半年末,公司存货账面价值为79.4亿元,占净资产的34.11%,较上年末增加6.12亿元。其中,存货跌价准备为1.59亿元,计提比例为1.96%。

在偿债能力方面,公司2024年上半年末资产负债率为61.67%,相比上年末上升0.88个百分点;有息资产负债率为34.58%,相比上年末上升0.21个百分点。

2024年上半年,公司流动比率为0.78,速动比率为0.52。

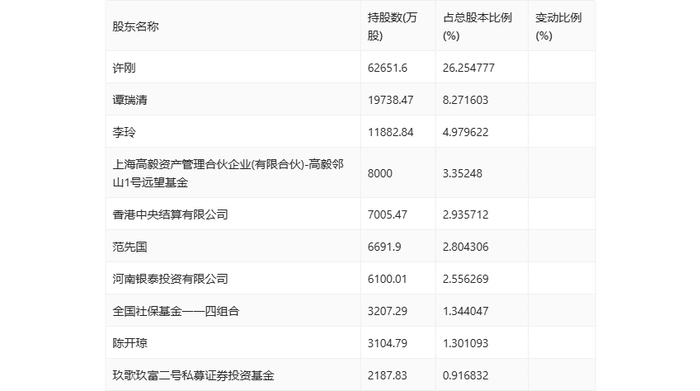
半年报显示,2024年上半年末公司十大流通股东中,新进股东为全国社保基金一一四组合、玖歌玖富二号私募证券投资基金,取代了一季度末的中国人寿保险股份有限公司-传统-普通保险产品-005L-CT001沪、龙佰集团股份有限公司-第二期员工持股计划。在具体持股比例上,香港中央结算有限公司持股有所上升。

值得注意的是,根据半年报数据,龙佰集团14.98%股份处于质押状态。其中,第一大股东许刚质押2.57亿股公司股份,占其全部持股的41.08%。

筹码集中度方面,截至2024年上半年末,公司股东总户数为9.27万户,较一季度末下降了7077户,降幅7.09%;户均持股市值由一季度末的45.29万元上升至47.79万元,增幅为5.52%。

指标注解:

市盈率

=总市值/净利润。当公司亏损时市盈率为负,此时用市盈率估值没有实际意义,往往用市净率或市销率做参考。

市净率

=总市值/净资产。市净率估值法多用于盈利波动较大而净资产相对稳定的公司。

市销率

=总市值/营业收入。市销率估值法通常用于亏损或微利的成长型公司。

文中市盈率和市销率采用TTM方式,即以截至最近一期财报(含预报)12个月的数据计算。市净率采用LF方式,即以最近一期财报数据计算。

市盈率为负时,不显示当期分位数,会导致折线图中断。

加载中...