新浪财经

兰卫医学:2024年上半年盈利1559.76万元 同比扭亏

中证网

关注

中证智能财讯 兰卫医学(301060)8月28日披露2024年半年度报告。2024年上半年,公司实现营业收入8.88亿元,同比增长6.00%;归母净利润1559.76万元,同比扭亏;扣非净利润1091.21万元,同比扭亏;经营活动产生的现金流量净额为-4813.76万元,上年同期为1.39亿元;报告期内,兰卫医学基本每股收益为0.0389元,加权平均净资产收益率为0.87%。

报告期内,公司合计非经常性损益为468.54万元,其中债务重组损益为357.82万元,少数股东权益影响额(税后)为-126.61万元。

以8月27日收盘价计算,兰卫医学目前市盈率(TTM)约为-29.29倍,市净率(LF)约为2.04倍,市销率(TTM)约为2.11倍。

公司近年市盈率(TTM)、市净率(LF)、市销率(TTM)历史分位图如下所示:

根据半年报,公司第二季度实现营业总收入4.52亿元,同比增长6.22%,环比增长3.51%;归母净利润1452.58万元,同比增长162.52%,环比增长1255.38%;扣非净利润1026.71万元,同比增长144.55%,环比增长1491.69%。

资料显示,公司是一家为检验诊断行业提供整体解决方案的综合服务商,面向各级医疗机构提供第三方医学检验和病理诊断服务、销售国内外知名品牌体外诊断产品以及其他专业技术支持,以满足各级医疗机构差异化需求。

分产品来看,2024年上半年公司主营业务中,体外诊断产品销售收入5.05亿元,同比下降1.25%,占营业收入的56.84%;医学诊断服务收入3.83亿元,同比增长18.75%,占营业收入的43.14%。

2024年上半年,公司毛利率为22.76%,同比下降2.95个百分点;净利率为1.14%,较上年同期上升3.26个百分点。从单季度指标来看,2024年第二季度公司毛利率为23.58%,同比上升1.14个百分点,环比上升1.67个百分点;净利率为2.29%,较上年同期上升10.14个百分点,较上一季度上升2.35个百分点。

分产品看,体外诊断产品销售、医学诊断服务2024年上半年毛利率分别为17.48%、29.71%。

数据显示,2024年上半年公司加权平均净资产收益率为0.87%,较上年同期增长0.96个百分点;公司2024年上半年投入资本回报率为0.53%,较上年同期增长0.94个百分点。

2024年上半年,公司经营活动现金流净额为-4813.76万元,同比减少1.87亿元,主要系报告期医学诊断服务销售回款下降所致;筹资活动现金流净额-5420.01万元,同比减少4169.01万元,主要系报告期偿还银行贷款和现金回购公司股票较同期增加,同时母公司未分配股利等综合因素所致;投资活动现金流净额-3411.72万元,上年同期为-3564.63万元。

进一步统计发现,2024年上半年公司自由现金流为-8880.65万元,上年同期为20608.15万元。

2024年上半年,公司营业收入现金比为102.88%,净现比为-308.62%。

营运能力方面,2024年上半年,公司公司总资产周转率为0.31次,上年同期为0.24次(2023年上半年行业平均值为0.22次,公司位居同行业23/51);固定资产周转率为1.91次,上年同期为5.16次(2023年上半年行业平均值为1.54次,公司位居同行业6/51);公司应收账款周转率、存货周转率分别为0.88次、1.90次。

2024年上半年,公司期间费用为1.67亿元,较上年同期增加1011.15万元;期间费用率为18.79%,较上年同期上升0.07个百分点。其中,销售费用同比下降18.52%,管理费用同比增长7.89%,研发费用同比增长50.09%,财务费用同比增长115.39%。

资料显示,财务费用的变动主要因为银行贷款增加导致利息支出较同期增加。

资产重大变化方面,截至2024年上半年末,公司货币资金较上年末减少15.99%,占公司总资产比重下降3.14个百分点;应收账款较上年末减少0.97%,占公司总资产比重上升1.70个百分点;固定资产较上年末减少1.32%,占公司总资产比重上升0.73个百分点;递延所得税资产较上年末增加16.61%,占公司总资产比重上升0.39个百分点。

负债重大变化方面,截至2024年上半年末,公司应付账款较上年末减少17.48%,占公司总资产比重下降2.10个百分点;其他应付款(含利息和股利)较上年末减少68.41%,占公司总资产比重下降1.20个百分点;短期借款较上年末减少11.79%,占公司总资产比重下降0.39个百分点;应付职工薪酬较上年末减少33.26%,占公司总资产比重下降0.36个百分点。

从存货变动来看,截至2024年上半年末,公司存货账面价值为3.53亿元,占净资产的19.74%,较上年末减少1498.56万元。其中,存货跌价准备为2772.5万元,计提比例为7.29%。

在偿债能力方面,公司2024年上半年末资产负债率为29.83%,相比上年末下降3.87个百分点;有息资产负债率为11.65%,相比上年末下降0.19个百分点。

2024年上半年,公司流动比率为3.27,速动比率为2.74。

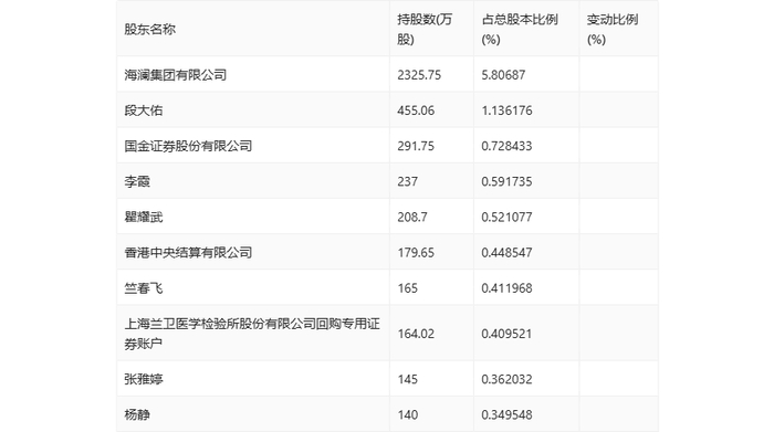
半年报显示,2024年上半年末公司十大流通股东中,新进股东为香港中央结算有限公司、上海兰卫医学检验所股份有限公司回购专用证券账户,取代了一季度末的杨利帆、孙林洁。在具体持股比例上,瞿耀武持股有所上升,国金证券股份有限公司、李霞持股有所下降。

筹码集中度方面,截至2024年上半年末,公司股东总户数为2.78万户,较一季度末下降了4235户,降幅13.22%;户均持股市值由一季度末的14.94万元下降至11.70万元,降幅为21.69%。

指标注解:

市盈率

=总市值/净利润。当公司亏损时市盈率为负,此时用市盈率估值没有实际意义,往往用市净率或市销率做参考。

市净率

=总市值/净资产。市净率估值法多用于盈利波动较大而净资产相对稳定的公司。

市销率

=总市值/营业收入。市销率估值法通常用于亏损或微利的成长型公司。

文中市盈率和市销率采用TTM方式,即以截至最近一期财报(含预报)12个月的数据计算。市净率采用LF方式,即以最近一期财报数据计算。

市盈率为负时,不显示当期分位数,会导致折线图中断。

加载中...