新浪财经

雷赛智能:2024年上半年净利润1.16亿元 同比增长54.29%

中证网

关注

中证智能财讯 雷赛智能(002979)8月27日披露2024年半年度报告。2024年上半年,公司实现营业收入8.23亿元,同比增长15.46%;归母净利润1.16亿元,同比增长54.29%;扣非净利润1.14亿元,同比增长77.23%;经营活动产生的现金流量净额为2336.04万元,上年同期为-3174.38万元;报告期内,雷赛智能基本每股收益为0.38元,加权平均净资产收益率为8.50%。

以8月26日收盘价计算,雷赛智能目前市盈率(TTM)约为33.93倍,市净率(LF)约为4.3倍,市销率(TTM)约为3.99倍。

公司近年市盈率(TTM)、市净率(LF)、市销率(TTM)历史分位图如下所示:

根据半年报,公司第二季度实现营业总收入4.42亿元,同比增长10.91%,环比增长15.77%;归母净利润6176.74万元,同比增长54.86%,环比增长13.15%;扣非净利润6122.53万元,同比增长88.73%,环比增长15.28%。

资料显示,公司是国内智能装备运动控制领域的领军企业之一,为国内外上万家智能装备制造企业提供稳定可靠、高质价比的运动控制核心部件及系统级解决方案。公司坚持“成就客户、共创共赢”的经营理念,持续对标全球最优秀标杆,深刻理解客户应用场景需求,以先进的运动控制产品技术和贴身的快速响应服务开展进口替代;同时“渠道为主+互补共赢”的三线协同营销体系初步成型,战略行业开拓团队和产品线团队以及各区域销售服务网络,三者构建出公司营销协作大平台,通过引进优秀合作伙伴互补共赢,深耕细分行业工艺及终端大客户、打造TOP客户样板,提供整体解决方案营销,发挥贴近客户就近服务优势,逐步成长为“中国龙头、世界一流”的专业化运动控制集团。

2024年上半年,公司毛利率为38.11%,同比上升0.31个百分点;净利率为14.36%,较上年同期上升3.69个百分点。从单季度指标来看,2024年第二季度公司毛利率为39.14%,同比上升1.63个百分点,环比上升2.22个百分点;净利率为14.36%,较上年同期上升4.31个百分点,较上一季度下降0.01个百分点。

数据显示,2024年上半年公司加权平均净资产收益率为8.50%,较上年同期增长2.33个百分点;公司2024年上半年投入资本回报率为6.50%,较上年同期增长1.68个百分点。

2024年上半年,公司经营活动现金流净额为2336.04万元,同比增加5510.42万元,主要系经营利润增加,业务回款加快所致;筹资活动现金流净额-8761.02万元,同比减少659.78万元;投资活动现金流净额4436.69万元,上年同期为-6330.5万元,主要系暂时闲置资金购买银行理财减少所致。

进一步统计发现,2024年上半年公司自由现金流为3850.86万元,上年同期为-10876.46万元。

2024年上半年,公司营业收入现金比为77.56%,净现比为20.08%。

营运能力方面,2024年上半年,公司公司总资产周转率为0.36次,上年同期为0.32次(2023年上半年行业平均值为0.21次,公司位居同行业2/21);公司应收账款周转率、存货周转率分别为1.41次、1.14次。

2024年上半年,公司期间费用为1.92亿元,较上年同期减少2195.82万元;期间费用率为23.36%,较上年同期下降6.69个百分点。其中,销售费用同比下降12.34%,管理费用同比下降24.86%,研发费用同比下降2.25%,财务费用同比下降4.83%。

资产重大变化方面,截至2024年上半年末,公司应收账款较上年末增加27.99%,占公司总资产比重上升6.06个百分点;其他流动资产较上年末减少56.39%,占公司总资产比重下降2.90个百分点;存货较上年末减少7.14%,占公司总资产比重下降1.55个百分点;货币资金较上年末减少5.54%,占公司总资产比重下降0.95个百分点。

负债重大变化方面,截至2024年上半年末,公司其他应付款(含利息和股利)较上年末减少41.20%,占公司总资产比重下降1.02个百分点;应付票据较上年末减少20.43%,占公司总资产比重下降0.83个百分点;长期借款较上年末减少6.83%,占公司总资产比重下降0.65个百分点;应付职工薪酬较上年末减少26.03%,占公司总资产比重下降0.56个百分点。

从存货变动来看,截至2024年上半年末,公司存货账面价值为4.3亿元,占净资产的30.34%,较上年末减少3305.65万元。其中,存货跌价准备为564.95万元,计提比例为1.3%。

在偿债能力方面,公司2024年上半年末资产负债率为38.38%,相比上年末下降3.88个百分点;有息资产负债率为18.85%,相比上年末下降1.14个百分点。

2024年上半年,公司流动比率为2.29,速动比率为1.68。

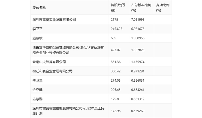
半年报显示,2024年上半年末公司十大流通股东中,新进股东为香港中央结算有限公司,取代了一季度末的夏可云。在具体持股比例上,深圳市雷赛实业发展有限公司、李卫平、施慧敏、诸暨富华睿银投资管理有限公司-浙江华睿弘源智能产业创业投资有限公司、宿迁和赛企业管理有限公司、李卫星、金克馨、施慧鹏、深圳市雷赛智能控制股份有限公司-2022年员工持股计划持股有所下降。

筹码集中度方面,截至2024年上半年末,公司股东总户数为2.77万户,较一季度末下降了3761户,降幅11.96%;户均持股市值由一季度末的18.10万元上升至20.34万元,增幅为12.38%。

指标注解:

市盈率

=总市值/净利润。当公司亏损时市盈率为负,此时用市盈率估值没有实际意义,往往用市净率或市销率做参考。

市净率

=总市值/净资产。市净率估值法多用于盈利波动较大而净资产相对稳定的公司。

市销率

=总市值/营业收入。市销率估值法通常用于亏损或微利的成长型公司。

文中市盈率和市销率采用TTM方式,即以截至最近一期财报(含预报)12个月的数据计算。市净率采用LF方式,即以最近一期财报数据计算。

市盈率为负时,不显示当期分位数,会导致折线图中断。

加载中...