新浪财经

TCL科技:2024年上半年净利润9.95亿元 同比增长192.29%

中证网

关注

中证智能财讯 TCL科技(000100)8月27日披露2024年半年报。2024年上半年,公司实现营业总收入803.03亿元,同比下降5.74%;归母净利润9.95亿元,同比增长192.29%;扣非净利润5.59亿元,同比扭亏;经营活动产生的现金流量净额为126.33亿元,同比增长21.28%;报告期内,TCL科技基本每股收益为0.0535元,加权平均净资产收益率为1.87%。

报告期内,公司合计非经常性损益为4.36亿元,其中计入当期损益的政府补助为9.73亿元,少数股东权益影响额(税后)为-7.14亿元。

以8月26日收盘价计算,TCL科技目前市盈率(TTM)约为25.52倍,市净率(LF)约为1.4倍,市销率(TTM)约为0.43倍。

公司近年市盈率(TTM)、市净率(LF)、市销率(TTM)历史分位图如下所示:

根据半年报,公司第二季度实现营业总收入403.57亿元,同比下降11.74%,环比增长1.03%;归母净利润7.55亿元,同比下降15.09%,环比增长214.72%;扣非净利润4.88亿元,同比增长275.81%,环比增长590.14%。

半年报称,公司聚焦半导体显示业务、新能源光伏及其他硅材料业务的核心主业发展,致力实现全球领先的战略目标。

2024年上半年,公司毛利率为12.26%,同比下降0.52个百分点;净利率为-0.58%,较上年同期下降3.39个百分点。从单季度指标来看,2024年第二季度公司毛利率为12.99%,同比下降1.88个百分点,环比上升1.46个百分点;净利率为-0.33%,较上年同期下降5.32个百分点,较上一季度上升0.51个百分点。

数据显示,2024年上半年公司加权平均净资产收益率为1.87%,较上年同期增长1.20个百分点;公司2024年上半年投入资本回报率为0.54%,较上年同期下降0.87个百分点。

2024年上半年,公司经营活动现金流净额为126.33亿元,同比增长21.28%;筹资活动现金流净额26.97亿元,同比减少4.04亿元,主要系筹资活动减少所致;投资活动现金流净额-174.45亿元,上年同期为-195.41亿元。

进一步统计发现,2024年上半年公司自由现金流为-16.41亿元,上年同期为-82.71亿元。

2024年上半年,公司营业收入现金比为106.19%,净现比为1269.35%。

营运能力方面,2024年上半年,公司公司总资产周转率为0.21次,上年同期为0.23次(2023年上半年行业平均值为0.24次,公司位居同行业24/40);公司应收账款周转率、存货周转率分别为3.56次、3.64次。

2024年上半年,公司期间费用为96.32亿元,较上年同期减少9588.80万元;但期间费用率为12.01%,较上年同期上升0.59个百分点。其中,销售费用同比下降5.89%,管理费用同比下降0.6%,研发费用同比下降10.03%,财务费用同比增长29.64%。

资产重大变化方面,截至2024年上半年末,公司固定资产较上年末减少3.49%,占公司总资产比重下降1.55个百分点;在建工程较上年末增加18.39%,占公司总资产比重上升0.82个百分点;货币资金较上年末减少10.66%,占公司总资产比重下降0.61个百分点;其他流动资产较上年末增加42.77%,占公司总资产比重上升0.59个百分点。

负债重大变化方面,截至2024年上半年末,公司短期借款较上年末增加39.78%,占公司总资产比重上升0.89个百分点;长期借款较上年末增加2.25%,占公司总资产比重上升0.74个百分点;一年内到期的非流动负债较上年末增加10.34%,占公司总资产比重上升0.68个百分点;应付账款较上年末减少3.36%,占公司总资产比重下降0.25个百分点。

在偿债能力方面,公司2024年上半年末资产负债率为63.84%,相比上年末上升1.78个百分点;有息资产负债率为43.93%,相比上年末上升2.17个百分点。

2024年上半年,公司流动比率为1.01,速动比率为0.81。

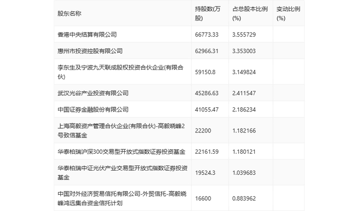
半年报显示,2024年上半年末公司十大流通股东中,新进股东为中国对外经济贸易信托有限公司-外贸信托-高毅晓峰鸿远集合资金信托计划,取代了一季度末的中信证券股份有限公司。在具体持股比例上,李东生及宁波九天联成股权投资合伙企业(有限合伙)、华泰柏瑞沪深300交易型开放式指数证券投资基金、华泰柏瑞中证光伏产业交易型开放式指数证券投资基金持股有所上升,香港中央结算有限公司、惠州市投资控股有限公司、武汉光谷产业投资有限公司、上海高毅资产管理合伙企业(有限合伙)-高毅晓峰2号致信基金持股有所下降。

筹码集中度方面,截至2024年上半年末,公司股东总户数为58.22万户,较一季度末增长了3557户,增幅0.61%;户均持股市值由一季度末的15.16万元下降至13.93万元,降幅为8.11%。

指标注解:

市盈率

=总市值/净利润。当公司亏损时市盈率为负,此时用市盈率估值没有实际意义,往往用市净率或市销率做参考。

市净率

=总市值/净资产。市净率估值法多用于盈利波动较大而净资产相对稳定的公司。

市销率

=总市值/营业收入。市销率估值法通常用于亏损或微利的成长型公司。

文中市盈率和市销率采用TTM方式,即以截至最近一期财报(含预报)12个月的数据计算。市净率采用LF方式,即以最近一期财报数据计算。

市盈率为负时,不显示当期分位数,会导致折线图中断。

加载中...