新浪财经

国信证券:2024年上半年净利润31.39亿元 同比下降12.56%

东方财富官微

关注

国信证券(002736)8月24日披露2024年半年报。2024年上半年,公司实现营业总收入77.57亿元,同比下降5.49%;归母净利润31.39亿元,同比下降12.56%;扣非净利润31.27亿元,同比下降12.37%;经营活动产生的现金流量净额为225.55亿元,同比增长1491.21%;报告期内,国信证券基本每股收益为0.26元,加权平均净资产收益率为3.04%。

以8月23日收盘价计算,国信证券目前市盈率(TTM)约为14.54倍,市净率(LF)约为0.77倍,市销率(TTM)约为5.15倍。

公司近年市盈率(TTM)、市净率(LF)、市销率(TTM)历史分位图如下所示:

根据半年报,公司第二季度实现营业总收入43.95亿元,同比增长8.68%,环比增长30.72%;归母净利润19.1亿元,同比增长4.87%,环比增长55.42%;扣非净利润19.03亿元,同比增长4.94%,环比增长55.52%。

盈利能力方面, 2024年半年度公司加权平均净资产收益率为3.04%,同比下降0.62个百分点。

2024年上半年,公司经营活动现金流净额为225.55亿元,同比增长1491.21%;筹资活动现金流净额-104.16亿元,同比减少110.77亿元;投资活动现金流净额1.08亿元,上年同期为1.23亿元。

资产重大变化方面,截至2024年上半年末,公司交易性金融资产较上年末减少6.01%,占公司总资产比重下降2.77个百分点;货币资金较上年末增加15.46%,占公司总资产比重上升1.98个百分点;其他权益工具投资合计较上年末增加45.26%,占公司总资产比重上升1.47个百分点;买入返售金融资产较上年末减少61.96%,占公司总资产比重下降1.09个百分点。

负债重大变化方面,截至2024年上半年末,公司应付短期融资款较上年末减少20.56%,占公司总资产比重下降2.53个百分点;卖出回购金融资产款较上年末减少7.21%,占公司总资产比重下降2.08个百分点;应付债券较上年末增加8.96%,占公司总资产比重上升1.21个百分点;代理买卖证券款较上年末增加9.01%,占公司总资产比重上升1.02个百分点。

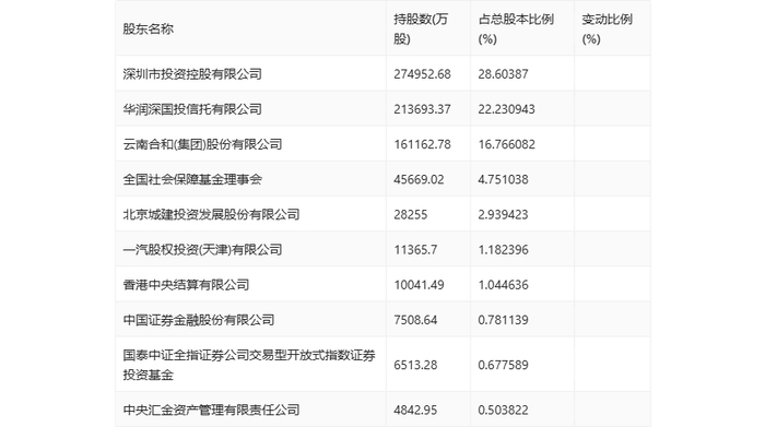
半年报显示,2024年上半年末公司十大流通股东中,新进股东为国泰中证全指证券公司交易型开放式指数证券投资基金,取代了一季度末的华泰柏瑞沪深300交易型开放式指数证券投资基金。在具体持股比例上,华润深国投信托有限公司、香港中央结算有限公司持股有所下降。

筹码集中度方面,截至2024年上半年末,公司股东总户数为10.17万户,较一季度末下降了4376户,降幅4.13%;户均持股市值由一季度末的75.97万元上升至82.17万元,增幅为8.16%。

指标注解:

市盈率

=总市值/净利润。当公司亏损时市盈率为负,此时用市盈率估值没有实际意义,往往用市净率或市销率做参考。

市净率

=总市值/净资产。市净率估值法多用于盈利波动较大而净资产相对稳定的公司。

市销率

=总市值/营业收入。市销率估值法通常用于亏损或微利的成长型公司。

文中市盈率和市销率采用TTM方式,即以截至最近一期财报(含预报)12个月的数据计算。市净率采用LF方式,即以最近一期财报数据计算。

市盈率为负时,不显示当期分位数,会导致折线图中断。

(文章来源:中国证券报·中证网)

加载中...