新浪财经

京泉华:2024年上半年净利润3705.22万元 同比下降43.26%

中证网

关注

中证智能财讯 京泉华(002885)8月24日披露2024年半年报。2024年上半年,公司实现营业总收入13.28亿元,同比下降5.24%;归母净利润3705.22万元,同比下降43.26%;扣非净利润2756.49万元,同比下降60.99%;经营活动产生的现金流量净额为4438.00万元,同比下降67.05%;报告期内,京泉华基本每股收益为0.1355元,加权平均净资产收益率为2.60%。

以8月23日收盘价计算,京泉华目前市盈率(TTM)约为447.01倍,市净率(LF)约为1.86倍,市销率(TTM)约为1.05倍。

公司近年市盈率(TTM)、市净率(LF)、市销率(TTM)历史分位图如下所示:

根据半年报,公司第二季度实现营业总收入7.45亿元,同比增长20.19%,环比增长27.95%;归母净利润2818.01万元,同比增长192.15%,环比增长217.63%;扣非净利润2348.24万元,同比增长23.77%,环比增长475.19%。

半年报显示,公司专注于电子制造行业,是一家集磁集成器件、电源类产品的研发、生产、销售、服务于一体的国家高新技术企业。

分产品来看,2024年上半年公司主营业务中,特种变压器收入5.46亿元,同比下降22.95%,占营业收入的41.10%;磁性元器件收入4.67亿元,同比增长22.24%,占营业收入的35.16%;电源收入2.96亿元,同比增长0.75%,占营业收入的22.30%。

2024年上半年,公司毛利率为12.06%,同比下降1.64个百分点;净利率为2.78%,较上年同期下降1.97个百分点。从单季度指标来看,2024年第二季度公司毛利率为11.97%,同比上升1.05个百分点,环比下降0.21个百分点;净利率为3.79%,较上年同期上升2.07个百分点,较上一季度上升2.30个百分点。

分产品看,特种变压器、磁性元器件、电源2024年上半年毛利率分别为10.31%、10.95%、16.72%。

数据显示,2024年上半年公司加权平均净资产收益率为2.60%,较上年同期下降2.93个百分点;公司2024年上半年投入资本回报率为1.86%,较上年同期下降1.99个百分点。

2024年上半年,公司经营活动现金流净额为4438.00万元,同比下降67.05%,主要系票据回款增加所致;筹资活动现金流净额1.16亿元,同比减少2.33亿元,主要系上期非公开募集资金所致;投资活动现金流净额8648.67万元,上年同期为-2.16亿元,主要系本期收回理财产品所致。

进一步统计发现,2024年上半年公司自由现金流为9085.92万元,上年同期为-7139.66万元。

2024年上半年,公司营业收入现金比为102.53%,净现比为119.78%。

营运能力方面,2024年上半年,公司公司总资产周转率为0.43次,上年同期为0.52次(2023年上半年行业平均值为0.37次,公司位居同行业11/31);固定资产周转率为3.21次,上年同期为3.80次(2023年上半年行业平均值为8.21次,公司位居同行业13/31);公司应收账款周转率、存货周转率分别为1.69次、2.34次。

2024年上半年,公司期间费用为1.26亿元,较上年同期增加407.27万元;期间费用率为9.50%,较上年同期上升0.79个百分点。其中,销售费用同比下降8.96%,管理费用同比下降8.27%,研发费用同比增长17.56%,财务费用由去年同期的-250.70万元变为-173.77万元。

资料显示,财务费用的变动主要因为汇兑损益变动。

资产重大变化方面,截至2024年上半年末,公司货币资金较上年末增加52.21%,占公司总资产比重上升5.70个百分点;交易性金融资产较上年末减少65.43%,占公司总资产比重下降5.16个百分点;应收票据较上年末增加112.26%,占公司总资产比重上升2.92个百分点;固定资产较上年末减少1.51%,占公司总资产比重下降1.69个百分点。

负债重大变化方面,截至2024年上半年末,公司应付账款较上年末增加31.61%,占公司总资产比重上升3.87个百分点;应付票据较上年末减少84.06%,占公司总资产比重下降6.56个百分点;短期借款较上年末增加61.44%,占公司总资产比重上升4.49个百分点,主要系本期信用借款增加;其他流动负债较上年末增加498.84%,占公司总资产比重上升4.37个百分点。

从存货变动来看,截至2024年上半年末,公司存货账面价值为5.06亿元,占净资产的35.51%,较上年末增加1503.66万元。其中,存货跌价准备为2177.19万元,计提比例为4.13%。

在偿债能力方面,公司2024年上半年末资产负债率为56.35%,相比上年末上升4.54个百分点;有息资产负债率为17.86%,相比上年末上升3.75个百分点。

2024年上半年,公司流动比率为1.49,速动比率为1.19。

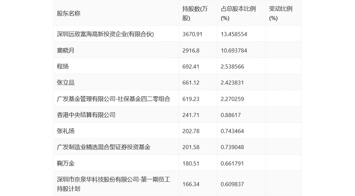
半年报显示,2024年上半年末公司十大流通股东中,持股最多的为深圳远致富海高新投资企业(有限合伙),占比13.46%。十大流通股东名单相比2024年一季报维持不变。在具体持股比例上,香港中央结算有限公司持股有所上升,广发制造业精选混合型证券投资基金持股有所下降。

筹码集中度方面,截至2024年上半年末,公司股东总户数为3.59万户,较一季度末下降了4537户,降幅11.23%;户均持股市值由一季度末的9.64万元下降至8.20万元,降幅为14.94%。

指标注解:

市盈率

=总市值/净利润。当公司亏损时市盈率为负,此时用市盈率估值没有实际意义,往往用市净率或市销率做参考。

市净率

=总市值/净资产。市净率估值法多用于盈利波动较大而净资产相对稳定的公司。

市销率

=总市值/营业收入。市销率估值法通常用于亏损或微利的成长型公司。

文中市盈率和市销率采用TTM方式,即以截至最近一期财报(含预报)12个月的数据计算。市净率采用LF方式,即以最近一期财报数据计算。

市盈率为负时,不显示当期分位数,会导致折线图中断。

加载中...