新浪财经

宏润建设:2024年上半年净利润1.87亿元 同比增长2.43%

中证网

关注

中证智能财讯 宏润建设(002062)8月23日披露2024年半年报。2024年上半年,公司实现营业总收入30.05亿元,同比下降2.10%;归母净利润1.87亿元,同比增长2.43%;扣非净利润1.86亿元,同比增长5.27%;经营活动产生的现金流量净额为-1.64亿元,上年同期为5.92亿元;报告期内,宏润建设基本每股收益为0.17元,加权平均净资产收益率为4.33%。

以8月22日收盘价计算,宏润建设目前市盈率(TTM)约为10.69倍,市净率(LF)约为0.84倍,市销率(TTM)约为0.58倍。

公司近年市盈率(TTM)、市净率(LF)、市销率(TTM)历史分位图如下所示:

根据半年报,公司第二季度实现营业总收入12.29亿元,同比下降18.68%,环比下降30.77%;归母净利润6856.1万元,同比增长88.90%,环比下降42.20%;扣非净利润6758.18万元,同比增长95.80%,环比下降42.85%。

资料显示,公司主要从事轨道交通、市政基础设施建设、房屋建筑的建筑施工业务,主要的经营模式是施工总承包模式。

分产品来看,2024年上半年公司主营业务中,建筑施工及市政基础设施投资业务收入18.90亿元,同比下降26.37%,占营业收入的62.89%;房地产开发业务收入7.87亿元,同比增长96.18%,占营业收入的26.18%。

2024年上半年,公司毛利率为20.48%,同比上升5.01个百分点;净利率为8.91%,较上年同期上升1.94个百分点。从单季度指标来看,2024年第二季度公司毛利率为25.94%,同比上升11.98个百分点,环比上升9.24个百分点;净利率为9.06%,较上年同期上升6.26个百分点,较上一季度上升0.25个百分点。

分产品看,建筑施工及市政基础设施投资业务、房地产开发业务2024年上半年毛利率分别为12.34%、45.57%。

数据显示,2024年上半年公司加权平均净资产收益率为4.33%,较上年同期下降0.02个百分点;公司2024年上半年投入资本回报率为3.92%,较上年同期增长0.79个百分点。

2024年上半年,公司经营活动现金流净额为-1.64亿元,同比减少7.56亿元,主要系报告期内建筑施工业务及新能源业务实现的经营活动现金流入减少所致;筹资活动现金流净额4689.15万元,同比增加5.87亿元,主要系上年同期较大幅度的刚性债务偿还所致;投资活动现金流净额-8131.42万元,上年同期为-9665.48万元。

进一步统计发现,2024年上半年公司自由现金流为-2.41亿元,上年同期为4.85亿元。

2024年上半年,公司营业收入现金比为94.51%,净现比为-87.74%。

营运能力方面,2024年上半年,公司公司总资产周转率为0.20次,上年同期为0.19次(2023年上半年行业平均值为0.22次,公司位居同行业16/24);固定资产周转率为2.94次,上年同期为3.32次(2023年上半年行业平均值为6.96次,公司位居同行业19/24);公司应收账款周转率、存货周转率分别为1.86次、1.36次。

2024年上半年,公司期间费用为1.78亿元,较上年同期减少1042.97万元;期间费用率为5.93%,较上年同期下降0.22个百分点。其中,销售费用同比下降21.16%,管理费用同比增长33.8%,研发费用同比下降17.36%,财务费用同比下降31.28%。

资料显示,管理费用的变动主要因为公司于2023年下半年开始拓展新能源业务,报告期内新能源业务板块新增管理费用;财务费用的变动主要因为报告期内有息债务成本下降。

资产重大变化方面,截至2024年上半年末,公司存货较上年末减少16.22%,占公司总资产比重下降1.44个百分点;合同资产较上年末减少8.64%,占公司总资产比重下降1.26个百分点;货币资金较上年末减少9.60%,占公司总资产比重下降0.90个百分点;投资性房地产较上年末增加19.38%,占公司总资产比重上升0.76个百分点。

负债重大变化方面,截至2024年上半年末,公司合同负债较上年末减少66.42%,占公司总资产比重下降3.41个百分点,主要系报告期内无锡宏诚花园三期实现销售,预收房款结转收入;应付账款较上年末减少7.70%,占公司总资产比重下降1.21个百分点;短期借款较上年末增加25.39%,占公司总资产比重上升1.62个百分点;长期借款较上年末增加7.42%,占公司总资产比重上升1.03个百分点。

从存货变动来看,截至2024年上半年末,公司存货账面价值为15.97亿元,占净资产的36.57%,较上年末减少3.09亿元。其中,存货跌价准备为2.43亿元,计提比例为13.21%。

在偿债能力方面,公司2024年上半年末资产负债率为68.45%,相比上年末下降2.41个百分点;有息资产负债率为17.90%,相比上年末上升2.29个百分点。

2024年上半年,公司流动比率为1.26,速动比率为1.08。

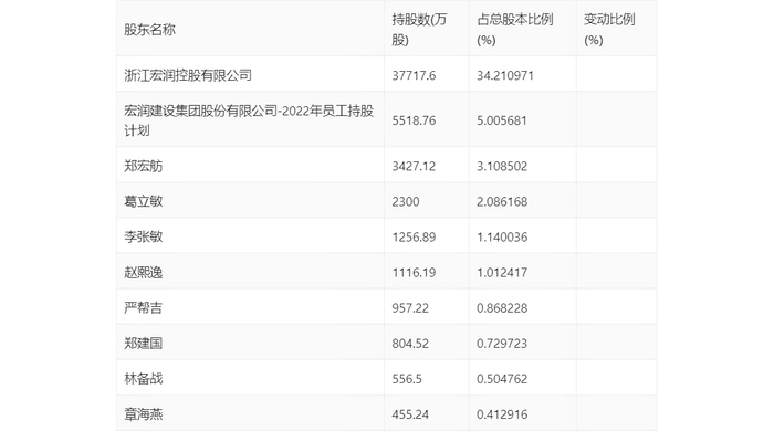
半年报显示,2024年上半年末公司十大流通股东中,新进股东为章海燕,取代了一季度末的香港中央结算有限公司。在具体持股比例上,赵熙逸、郑建国持股有所上升,李张敏持股有所下降。

值得注意的是,根据半年报数据,宏润建设27.07%股份处于质押状态。其中,第一大股东浙江宏润控股有限公司质押2.57亿股公司股份,占其全部持股的68.11%。

筹码集中度方面,截至2024年上半年末,公司股东总户数为4.3万户,较一季度末下降了1304户,降幅2.94%;户均持股市值由一季度末的10.28万元下降至8.92万元,降幅为13.23%。

指标注解:

市盈率

=总市值/净利润。当公司亏损时市盈率为负,此时用市盈率估值没有实际意义,往往用市净率或市销率做参考。

市净率

=总市值/净资产。市净率估值法多用于盈利波动较大而净资产相对稳定的公司。

市销率

=总市值/营业收入。市销率估值法通常用于亏损或微利的成长型公司。

文中市盈率和市销率采用TTM方式,即以截至最近一期财报(含预报)12个月的数据计算。市净率采用LF方式,即以最近一期财报数据计算。

市盈率为负时,不显示当期分位数,会导致折线图中断。

加载中...