新浪财经

七匹狼:2024年上半年净利润1.86亿元 同比增长18.42%

中证网

关注

中证智能财讯 七匹狼(002029)8月23日披露2024年半年度报告。2024年上半年,公司实现营业收入14.61亿元,同比下降4.9%;归母净利润1.86亿元,同比增长18.42%;扣非净利润7529.99万元,同比下降35.19%;经营活动产生的现金流量净额为1556.25万元,上年同期为-5943.5万元;报告期内,七匹狼基本每股收益为0.26元,加权平均净资产收益率为2.87%。

以8月22日收盘价计算,七匹狼目前市盈率(TTM)约为11.6倍,市净率(LF)约为0.53倍,市销率(TTM)约为1.03倍。

公司近年市盈率(TTM)、市净率(LF)、市销率(TTM)历史分位图如下所示:

根据半年报,公司第二季度实现营业总收入5.68亿元,同比下降9.39%,环比下降36.36%;归母净利润8011.73万元,同比增长17.04%,环比下降24.64%;扣非净利润1458.44万元,同比下降71.06%,环比下降75.98%。

半年报显示,公司主要从事“七匹狼”品牌男装及针纺类产品的设计、生产和销售,致力于满足男士在不同场景下的穿着需求。

分产品来看,2024年上半年公司主营业务中,T恤类收入3.20亿元,同比增长2.70%,占营业收入的21.88%;外套类收入2.45亿元,同比增长2.69%,占营业收入的16.77%;裤子类收入2.40亿元,同比增长1.14%,占营业收入的16.43%。

2024年上半年,公司毛利率为49.70%,同比上升2.15个百分点;净利率为14.96%,较上年同期上升3.00个百分点。从单季度指标来看,2024年第二季度公司毛利率为56.23%,同比上升2.71个百分点,环比上升10.69个百分点;净利率为16.87%,较上年同期上升4.09个百分点,较上一季度上升3.13个百分点。

分产品看,T恤类、外套类、裤子类2024年上半年毛利率分别为56.84%、60.33%、58.85%。

2024年上半年,公司经营活动现金流净额为1556.25万元,同比增加7499.75万元,主要系报告期支付商品采购款较上年同期减少,同时报告期收到的定期存款利息较上年同期增加所致;筹资活动现金流净额-10.65亿元,同比减少10.91亿元,主要系视同短期借款的贴现票据于报告期内到期较上年同期增加,故报告期支付较多的票据到期贴现款所致;投资活动现金流净额7.64亿元,上年同期为-2.51亿元,主要系报告期收回到期定期存款金额较多及报告期投出的定期存款金额较少所致。

进一步统计发现,2024年上半年公司自由现金流为-1.08亿元,上年同期为-12.30亿元。

2024年上半年,公司营业收入现金比为122.59%,净现比为8.35%。

营运能力方面,2024年上半年,公司公司总资产周转率为0.14次,上年同期为0.14次(2023年上半年行业平均值为0.26次,公司位居同行业34/40);固定资产周转率为4.44次,上年同期为4.20次(2023年上半年行业平均值为2.51次,公司位居同行业8/40);公司应收账款周转率、存货周转率分别为4.66次、0.88次。

2024年上半年,公司期间费用为5.55亿元,较上年同期增加7328.75万元;期间费用率为38.02%,较上年同期上升6.64个百分点。其中,销售费用同比增长13.2%,管理费用同比增长11.47%,研发费用同比下降22.43%,财务费用由去年同期的-8276.75万元变为-6704.26万元。

资产重大变化方面,截至2024年上半年末,公司交易性金融资产较上年末增加54.03%,占公司总资产比重上升5.42个百分点;货币资金较上年末减少36.92%,占公司总资产比重下降3.40个百分点;其他非流动资产较上年末减少20.20%,占公司总资产比重下降2.54个百分点;一年内到期的非流动资产较上年末减少21.16%,占公司总资产比重下降2.23个百分点。

负债重大变化方面,截至2024年上半年末,公司短期借款较上年末减少35.52%,占公司总资产比重下降5.55个百分点,主要系报告期并表范围内公司间开具银行承兑汇票,尚未到期的票据贴现款项较上年期末减少;应付账款较上年末减少41.92%,占公司总资产比重下降1.62个百分点,主要系二季度属采购入库淡季,故报告期末已入库未付款的商品采购款较期初减少;应付票据较上年末减少34.11%,占公司总资产比重下降1.47个百分点;其他流动负债较上年末减少40.71%,占公司总资产比重下降0.50个百分点。

从存货变动来看,截至2024年上半年末,公司存货账面价值为7.86亿元,占净资产的12.0%,较上年末减少9913.63万元。其中,存货跌价准备为6.51亿元,计提比例为45.3%。

在偿债能力方面,公司2024年上半年末资产负债率为31.22%,相比上年末下降8.54个百分点;有息资产负债率为15.25%,相比上年末下降5.89个百分点。

2024年上半年,公司流动比率为1.79,速动比率为1.52。

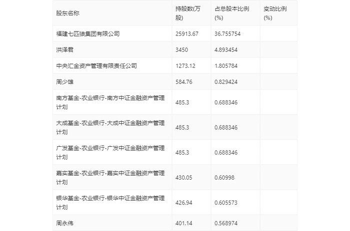
半年报显示,2024年上半年末公司十大流通股东中,持股最多的为福建七匹狼集团有限公司,占比36.76%。十大流通股东名单相比2024年一季报维持不变。在具体持股比例上,福建七匹狼集团有限公司、洪泽君、中央汇金资产管理有限责任公司、周少雄、南方基金-农业银行-南方中证金融资产管理计划、大成基金-农业银行-大成中证金融资产管理计划、广发基金-农业银行-广发中证金融资产管理计划、嘉实基金-农业银行-嘉实中证金融资产管理计划、银华基金-农业银行-银华中证金融资产管理计划、周永伟持股有所上升。

值得注意的是,根据半年报数据,七匹狼18.62%股份处于质押状态。其中,第一大股东福建七匹狼集团有限公司质押1.31亿股公司股份,占其全部持股的50.65%。

筹码集中度方面,截至2024年上半年末,公司股东总户数为2.75万户,较一季度末下降了1501户,降幅5.17%;户均持股市值由一季度末的14.33万元下降至12.90万元,降幅为9.98%。

指标注解:

市盈率

=总市值/净利润。当公司亏损时市盈率为负,此时用市盈率估值没有实际意义,往往用市净率或市销率做参考。

市净率

=总市值/净资产。市净率估值法多用于盈利波动较大而净资产相对稳定的公司。

市销率

=总市值/营业收入。市销率估值法通常用于亏损或微利的成长型公司。

文中市盈率和市销率采用TTM方式,即以截至最近一期财报(含预报)12个月的数据计算。市净率采用LF方式,即以最近一期财报数据计算。

市盈率为负时,不显示当期分位数,会导致折线图中断。

加载中...