新浪财经

信维通信:2024年上半年净利润2.03亿元 同比增长4.77%

中证网

关注

中证智能财讯 信维通信(300136)8月22日披露2024年半年报。2024年上半年,公司实现营业总收入37.46亿元,同比增长11.98%;归母净利润2.03亿元,同比增长4.77%;扣非净利润1.53亿元,同比增长5.00%;经营活动产生的现金流量净额为6.00亿元,同比下降56.47%;报告期内,信维通信基本每股收益为0.2095元,加权平均净资产收益率为2.85%。

以8月21日收盘价计算,信维通信目前市盈率(TTM)约为33.26倍,市净率(LF)约为2.48倍,市销率(TTM)约为2.22倍。

公司近年市盈率(TTM)、市净率(LF)、市销率(TTM)历史分位图如下所示:

根据半年报,公司第二季度实现营业总收入18.88亿元,同比增长17.39%,环比增长1.62%;归母净利润5107.96万元,同比增长5.62%,环比下降66.32%;扣非净利润3442.63万元,同比增长10.15%,环比下降70.88%。

半年报显示,公司主营业务包括天线及模组、无线充电及模组、EMI\EMC器件、高精密连接器、汽车互联产品、被动元件等,可广泛应用于消费电子、物联网/智能家居、商业卫星通讯、智能汽车等领域,客户覆盖全球知名科技企业。

分产品来看,2024年上半年公司主营业务中,射频零、部件收入37.46亿元,同比增长11.98%,占营业收入的100.00%。

2024年上半年,公司毛利率为18.71%,同比上升0.19个百分点;净利率为5.30%,较上年同期下降0.40个百分点。从单季度指标来看,2024年第二季度公司毛利率为17.15%,同比上升0.82个百分点,环比下降3.14个百分点;净利率为2.65%,较上年同期下降0.33个百分点,较上一季度下降5.34个百分点。

数据显示,2024年上半年公司加权平均净资产收益率为2.85%,较上年同期下降0.04个百分点;公司2024年上半年投入资本回报率为2.13%,较上年同期增长0.14个百分点。

2024年上半年,公司经营活动现金流净额为6.00亿元,同比下降56.47%;筹资活动现金流净额-3.59亿元,同比增加2.97亿元;投资活动现金流净额-4.11亿元,上年同期为-1.83亿元。

进一步统计发现,2024年上半年公司自由现金流为3.51亿元,相比上年同期下降69.71%。

2024年上半年,公司营业收入现金比为121.04%,净现比为295.75%。

营运能力方面,2024年上半年,公司公司总资产周转率为0.29次,上年同期为0.29次(2023年上半年行业平均值为0.28次,公司位居同行业39/86);固定资产周转率为1.56次,上年同期为1.38次(2023年上半年行业平均值为1.52次,公司位居同行业49/86);公司应收账款周转率、存货周转率分别为2.01次、1.22次。

2024年上半年,公司期间费用为5.11亿元,较上年同期增加6582.00万元;期间费用率为13.64%,较上年同期上升0.34个百分点。其中,销售费用同比增长9.1%,管理费用同比增长46.73%,研发费用同比增长15.65%,财务费用由去年同期的1909.05万元变为-1739.49万元。

资料显示,管理费用的变动主要因为报告期与上年同期相比人工成本增加、海外基地费用增加以及合并范围增加;财务费用的变动主要因为报告期汇率变动。

资产重大变化方面,截至2024年上半年末,公司存货较上年末增加23.22%,占公司总资产比重上升3.75个百分点;应收账款较上年末减少20.70%,占公司总资产比重下降3.53个百分点;在建工程较上年末增加41.60%,占公司总资产比重上升1.53个百分点;货币资金较上年末减少7.09%,占公司总资产比重下降1.28个百分点。

负债重大变化方面,截至2024年上半年末,公司其他应付款(含利息和股利)较上年末增加136.84%,占公司总资产比重上升2.25个百分点;一年内到期的非流动负债较上年末减少36.38%,占公司总资产比重下降2.23个百分点;长期借款较上年末增加12.38%,占公司总资产比重上升1.23个百分点;应付账款较上年末增加6.94%,占公司总资产比重上升0.61个百分点。

从存货变动来看,截至2024年上半年末,公司存货账面价值为27.6亿元,占净资产的38.78%,较上年末增加5.2亿元。其中,存货跌价准备为1.02亿元,计提比例为3.58%。

在偿债能力方面,公司2024年上半年末资产负债率为45.20%,相比上年末上升0.29个百分点;有息资产负债率为21.24%,相比上年末下降1.46个百分点。

2024年上半年,公司流动比率为1.89,速动比率为1.14。

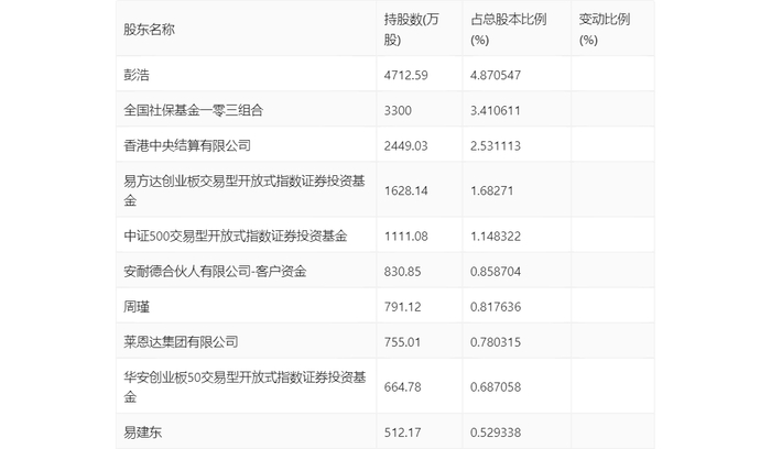
半年报显示,2024年上半年末公司十大流通股东中,新进股东为易建东,取代了一季度末的KB资产运用-KB中国大陆基金。在具体持股比例上,香港中央结算有限公司、中证500交易型开放式指数证券投资基金、安耐德合伙人有限公司-客户资金、华安创业板50交易型开放式指数证券投资基金持股有所上升,易方达创业板交易型开放式指数证券投资基金持股有所下降。

筹码集中度方面,截至2024年上半年末,公司股东总户数为9.25万户,较一季度末下降了6192户,降幅6.28%;户均持股市值由一季度末的19.77万元上升至20.49万元,增幅为3.64%。

指标注解:

市盈率

=总市值/净利润。当公司亏损时市盈率为负,此时用市盈率估值没有实际意义,往往用市净率或市销率做参考。

市净率

=总市值/净资产。市净率估值法多用于盈利波动较大而净资产相对稳定的公司。

市销率

=总市值/营业收入。市销率估值法通常用于亏损或微利的成长型公司。

文中市盈率和市销率采用TTM方式,即以截至最近一期财报(含预报)12个月的数据计算。市净率采用LF方式,即以最近一期财报数据计算。

市盈率为负时,不显示当期分位数,会导致折线图中断。

加载中...