新浪财经

拓维信息:2024年上半年净利润333.52万元 同比下降94.23%

中证网

关注

中证智能财讯 拓维信息(002261)8月20日披露2024年半年报。2024年上半年,公司实现营业总收入17.28亿元,同比增长61.07%;归母净利润333.52万元,同比下降94.23%;扣非净利润382.27万元,同比下降90.86%;经营活动产生的现金流量净额为-3.56亿元,上年同期为-5.69亿元;报告期内,拓维信息基本每股收益为0.0027元,加权平均净资产收益率为0.13%。

以8月19日收盘价计算,拓维信息目前市盈率(TTM)约为-1352.86倍,市净率(LF)约为5.0倍,市销率(TTM)约为3.38倍。

公司近年市盈率(TTM)、市净率(LF)、市销率(TTM)历史分位图如下所示:

根据半年报,公司第二季度实现营业总收入9.16亿元,同比增长142.99%,环比增长12.72%;归母净利润-271.7万元,同比下降116.98%,环比下降144.89%;扣非净利润-80.26万元,同比下降112.74%,环比下降117.35%。

半年报称,公司依托AI、OpenHarmony(即开源鸿蒙,下同)、大数据、云计算、物联网等核心技术能力,持续深耕软件服务、智能计算、昇腾AI、开源鸿蒙等核心业务。

分产品来看,2024年上半年公司主营业务中,智能计算产品收入8.74亿元,同比增长88.84%,占营业收入的50.54%;软件及服务收入7.61亿元,同比增长43.85%,占营业收入的44.02%。

2024年上半年,公司毛利率为17.82%,同比下降10.01个百分点;净利率为0.01%,较上年同期下降5.30个百分点。从单季度指标来看,2024年第二季度公司毛利率为20.24%,同比下降8.70个百分点,环比上升5.15个百分点;净利率为-0.37%,较上年同期下降3.19个百分点,较上一季度下降0.81个百分点。

分产品看,智能计算产品、软件及服务2024年上半年毛利率分别为10.18%、21.93%。

数据显示,2024年上半年公司加权平均净资产收益率为0.13%,较上年同期下降2.17个百分点;公司2024年上半年投入资本回报率为0.03%,较上年同期下降1.51个百分点。

2024年上半年,公司经营活动现金流净额为-3.56亿元,同比增加2.13亿元;筹资活动现金流净额2.36亿元,同比减少3866.72万元;投资活动现金流净额-9475.98万元,上年同期为1.97亿元。

进一步统计发现,2024年上半年公司自由现金流为-5.24亿元,上年同期为-4.58亿元。

2024年上半年,公司营业收入现金比为104.60%,净现比为-10687.48%。

营运能力方面,2024年上半年,公司公司总资产周转率为0.31次,上年同期为0.24次(2023年上半年行业平均值为0.17次,公司位居同行业28/103);固定资产周转率为15.82次,上年同期为9.34次(2023年上半年行业平均值为5.13次,公司位居同行业28/103);公司应收账款周转率、存货周转率分别为1.40次、1.34次。

2024年上半年,公司期间费用为2.89亿元,较上年同期增加4645.61万元;但期间费用率为16.74%,较上年同期下降5.89个百分点。其中,销售费用同比增长42.16%,管理费用同比增长3.0%,研发费用同比增长1.36%,财务费用由去年同期的-302.90万元变为1686.56万元。

资产重大变化方面,截至2024年上半年末,公司货币资金较上年末减少21.42%,占公司总资产比重下降5.70个百分点;应收账款较上年末增加28.24%,占公司总资产比重上升3.83个百分点;存货较上年末增加28.20%,占公司总资产比重上升3.27个百分点;无形资产较上年末减少20.52%,占公司总资产比重下降1.26个百分点。

负债重大变化方面,截至2024年上半年末,公司长期借款较上年末增加86.17%,占公司总资产比重上升3.77个百分点,主要系本期银行借款规模增加的影响;合同负债较上年末增加67.05%,占公司总资产比重上升1.34个百分点;一年内到期的非流动负债较上年末增加23.84%,占公司总资产比重上升0.78个百分点;应付票据较上年末增加82.72%,占公司总资产比重上升1.01个百分点。

从存货变动来看,截至2024年上半年末,公司存货账面价值为11.88亿元,占净资产的46.18%,较上年末增加2.61亿元。其中,存货跌价准备为2817.56万元,计提比例为2.32%。

在偿债能力方面,公司2024年上半年末资产负债率为53.18%,相比上年末上升4.42个百分点;有息资产负债率为36.89%,相比上年末上升3.03个百分点。

2024年上半年,公司流动比率为1.93,速动比率为1.42。

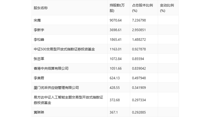
半年报显示,2024年上半年末公司十大流通股东中,新进股东为中证500交易型开放式指数证券投资基金、厦门优采供应链管理有限公司,取代了一季度末的南方中证1000交易型开放式指数证券投资基金、法国兴业银行。在具体持股比例上,李松峰持股有所上升,宋鹰、李新宇、张忠革、香港中央结算有限公司、李美君、易方达中证人工智能主题交易型开放式指数证券投资基金、黄琳琳持股有所下降。

筹码集中度方面,截至2024年上半年末,公司股东总户数为25.13万户,较一季度末下降了3.22万户,降幅11.37%;户均持股市值由一季度末的6.63万元下降至5.52万元,降幅为16.74%。

指标注解:

市盈率

=总市值/净利润。当公司亏损时市盈率为负,此时用市盈率估值没有实际意义,往往用市净率或市销率做参考。

市净率

=总市值/净资产。市净率估值法多用于盈利波动较大而净资产相对稳定的公司。

市销率

=总市值/营业收入。市销率估值法通常用于亏损或微利的成长型公司。

文中市盈率和市销率采用TTM方式,即以截至最近一期财报(含预报)12个月的数据计算。市净率采用LF方式,即以最近一期财报数据计算。

市盈率为负时,不显示当期分位数,会导致折线图中断。

加载中...