新浪财经

韦尔股份:2024年上半年净利润13.67亿元 同比增长792.79%

中证网

关注

中证智能财讯 韦尔股份(603501)8月20日披露2024年半年报。2024年上半年,公司实现营业总收入120.91亿元,同比增长36.50%;归母净利润13.67亿元,同比增长792.79%;扣非净利润13.72亿元,同比扭亏;经营活动产生的现金流量净额为18.22亿元,同比下降41.81%;报告期内,韦尔股份基本每股收益为1.14元,加权平均净资产收益率为6.38%。

公告称,公司营业收入变化主要由于报告期市场需求复苏,伴随着公司在高端智能手机市场的产品导入及汽车市场自动驾驶应用的持续渗透,公司营业收入实现了明显增长。

以8月19日收盘价计算,韦尔股份目前市盈率(TTM)约为61.56倍,市净率(LF)约为5.02倍,市销率(TTM)约为4.49倍。

公司近年市盈率(TTM)、市净率(LF)、市销率(TTM)历史分位图如下所示:

根据半年报,公司第二季度实现营业总收入64.48亿元,同比增长42.55%,环比增长14.24%;归母净利润8.09亿元,同比增长1869.21%,环比增长45.08%;扣非净利润8.06亿元,同比增长898.76%,环比增长42.43%。

半年报称,公司是一家主要从事芯片设计业务的Fabless芯片设计公司。

2024年上半年,公司毛利率为29.14%,同比上升8.21个百分点;净利率为11.26%,较上年同期上升9.59个百分点。从单季度指标来看,2024年第二季度公司毛利率为30.24%,同比上升12.94个百分点,环比上升2.35个百分点;净利率为12.51%,较上年同期上升13.56个百分点,较上一季度上升2.69个百分点。

数据显示,2024年上半年公司加权平均净资产收益率为6.38%,较上年同期增长5.55个百分点;公司2024年上半年投入资本回报率为4.33%,较上年同期增长3.24个百分点。

2024年上半年,公司经营活动现金流净额为18.22亿元,同比下降41.81%;筹资活动现金流净额-26.81亿元,同比减少25.39亿元;投资活动现金流净额-5.08亿元,上年同期为-13.83亿元。

进一步统计发现,2024年上半年公司自由现金流为10.60亿元,相比上年同期下降62.62%。

2024年上半年,公司营业收入现金比为101.05%,净现比为133.25%。

营运能力方面,2024年上半年,公司公司总资产周转率为0.32次,上年同期为0.24次(2023年上半年行业平均值为0.19次,公司位居同行业15/47);固定资产周转率为4.30次,上年同期为4.25次(2023年上半年行业平均值为6.86次,公司位居同行业29/47);公司应收账款周转率、存货周转率分别为2.89次、1.31次。

2024年上半年,公司期间费用为18.66亿元,较上年同期增加1.88亿元;但期间费用率为15.44%,较上年同期下降3.51个百分点。其中,销售费用同比增长30.21%,管理费用同比增长12.29%,研发费用同比增长33.84%,财务费用同比下降97.38%。

资料显示,销售费用的变动主要因为报告期职工薪酬与股份支付费用增加;财务费用的变动主要因为报告期利息支出减少、利息收入与汇兑收益增加;研发费用的变动主要因为报告期职工薪酬与股份支付费用增加。

资产重大变化方面,截至2024年上半年末,公司货币资金较上年末减少14.42%,占公司总资产比重下降3.13个百分点;存货较上年末增加6.90%,占公司总资产比重上升1.45个百分点;固定资产较上年末增加17.64%,占公司总资产比重上升1.34个百分点;在建工程较上年末减少50.53%,占公司总资产比重下降1.19个百分点。

负债重大变化方面,截至2024年上半年末,公司短期借款较上年末减少31.63%,占公司总资产比重下降2.16个百分点,主要系本期公司营业情况良好,现金流充足,归还银行借款;一年内到期的非流动负债较上年末减少18.77%,占公司总资产比重下降1.33个百分点;应付账款较上年末增加28.40%,占公司总资产比重上升1.34个百分点;其他应付款(含利息和股利)较上年末增加4.90%,占公司总资产比重上升0.21个百分点。

从存货变动来看,截至2024年上半年末,公司存货账面价值为67.58亿元,占净资产的31.14%,较上年末增加4.36亿元。其中,存货跌价准备为12.9亿元,计提比例为16.03%。

在偿债能力方面,公司2024年上半年末资产负债率为41.44%,相比上年末下降1.61个百分点;有息资产负债率为26.03%,相比上年末下降3.05个百分点。

2024年上半年,公司流动比率为2.42,速动比率为1.59。

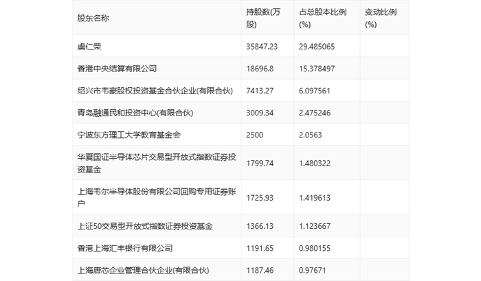
半年报显示,2024年上半年末公司十大流通股东中,新进股东为上海唐芯企业管理合伙企业(有限合伙),取代了一季度末的Citibank, National Association。在具体持股比例上,香港中央结算有限公司、上证50交易型开放式指数证券投资基金持股有所上升,青岛融通民和投资中心(有限合伙)、华夏国证半导体芯片交易型开放式指数证券投资基金、香港上海汇丰银行有限公司持股有所下降。

值得注意的是,根据半年报数据,韦尔股份19.08%股份处于质押状态。其中,第一大股东虞仁荣质押1.76亿股公司股份,占其全部持股的48.98%。

筹码集中度方面,截至2024年上半年末,公司股东总户数为7.08万户,较一季度末下降了1.15万户,降幅14.00%;户均持股市值由一季度末的145.33万元上升至170.64万元,增幅为17.42%。

指标注解:

市盈率

=总市值/净利润。当公司亏损时市盈率为负,此时用市盈率估值没有实际意义,往往用市净率或市销率做参考。

市净率

=总市值/净资产。市净率估值法多用于盈利波动较大而净资产相对稳定的公司。

市销率

=总市值/营业收入。市销率估值法通常用于亏损或微利的成长型公司。

文中市盈率和市销率采用TTM方式,即以截至最近一期财报(含预报)12个月的数据计算。市净率采用LF方式,即以最近一期财报数据计算。

市盈率为负时,不显示当期分位数,会导致折线图中断。

加载中...