新浪财经

普洛药业:2024年上半年净利润6.25亿元 同比增长3.96%

中证网

关注

中证智能财讯 普洛药业(000739)8月16日披露2024年半年度报告。2024年上半年,公司实现营业收入64.29亿元,同比增长7.96%;归母净利润6.25亿元,同比增长3.96%;扣非净利润6.02亿元,同比增长1.24%;经营活动产生的现金流量净额为9.81亿元,同比增长32.11%;报告期内,普洛药业基本每股收益为0.535元,加权平均净资产收益率为9.68%。

以8月15日收盘价计算,普洛药业目前市盈率(TTM)约为16.11倍,市净率(LF)约为2.75倍,市销率(TTM)约为1.46倍。

公司近年市盈率(TTM)、市净率(LF)、市销率(TTM)历史分位图如下所示:

根据半年报,公司第二季度实现营业总收入32.31亿元,同比增长12.61%,环比增长1.02%;归母净利润3.81亿元,同比增长5.35%,环比增长56.38%;扣非净利润3.63亿元,同比增长0.48%,环比增长51.76%。

分产品来看,2024年上半年公司主营业务中,原料药中间体收入47.04亿元,同比增长11.89%,占营业收入的73.18%;创新药研发生产服务收入10.28亿元,同比下降9.82%,占营业收入的15.98%;制剂收入6.80亿元,同比增长18.37%,占营业收入的10.57%。

2024年上半年,公司毛利率为24.70%,同比下降1.90个百分点;净利率为9.72%,较上年同期下降0.37个百分点。从单季度指标来看,2024年第二季度公司毛利率为25.35%,同比上升0.21个百分点,环比上升1.31个百分点;净利率为11.79%,较上年同期下降0.82个百分点,较上一季度上升4.17个百分点。

分产品看,原料药中间体、创新药研发生产服务、制剂2024年上半年毛利率分别为16.22%、40.09%、60.30%。

数据显示,2024年上半年公司加权平均净资产收益率为9.68%,较上年同期下降0.98个百分点;公司2024年上半年投入资本回报率为8.35%,较上年同期下降0.61个百分点。

2024年上半年,公司经营活动现金流净额为9.81亿元,同比增长32.11%;筹资活动现金流净额-4.78亿元,同比减少2.40亿元;投资活动现金流净额-2.21亿元,上年同期为-2.29亿元。

进一步统计发现,2024年上半年公司自由现金流为9.37亿元,相比上年同期增长65.67%。

2024年上半年,公司营业收入现金比为86.71%,净现比为156.96%。

营运能力方面,2024年上半年,公司公司总资产周转率为0.49次,上年同期为0.48次(2023年上半年行业平均值为0.22次,公司位居同行业3/45);固定资产周转率为2.18次,上年同期为2.01次(2023年上半年行业平均值为0.92次,公司位居同行业6/45);公司应收账款周转率、存货周转率分别为3.44次、2.53次。

2024年上半年,公司期间费用为7.83亿元,较上年同期减少1139.46万元;期间费用率为12.18%,较上年同期下降1.16个百分点。其中,销售费用同比增长4.85%,管理费用同比下降4.07%,研发费用同比下降10.52%,财务费用由去年同期的-6913.52万元变为-4653.70万元。

资料显示,财务费用的变动主要因为本期汇兑收益减少。

资产重大变化方面,截至2024年上半年末,公司存货较上年末减少15.96%,占公司总资产比重下降3.37个百分点;固定资产较上年末减少3.47%,占公司总资产比重下降2.08个百分点;应收账款较上年末增加20.68%,占公司总资产比重上升1.85个百分点;预付款项较上年末增加84.82%,占公司总资产比重上升1.50个百分点。

负债重大变化方面,截至2024年上半年末,公司应付票据较上年末增加16.46%,占公司总资产比重上升1.66个百分点;应付账款较上年末增加9.33%,占公司总资产比重上升0.52个百分点;短期借款较上年末增加12.85%,占公司总资产比重上升0.41个百分点;其他流动负债较上年末增加23.00%,占公司总资产比重上升0.53个百分点。

从存货变动来看,截至2024年上半年末,公司存货账面价值为17.51亿元,占净资产的27.64%,较上年末减少3.32亿元。其中,存货跌价准备为1.46亿元,计提比例为7.7%。

在偿债能力方面,公司2024年上半年末资产负债率为53.08%,相比上年末上升1.88个百分点;有息资产负债率为7.22%,相比上年末上升0.05个百分点。

2024年上半年,公司流动比率为1.30,速动比率为1.05。

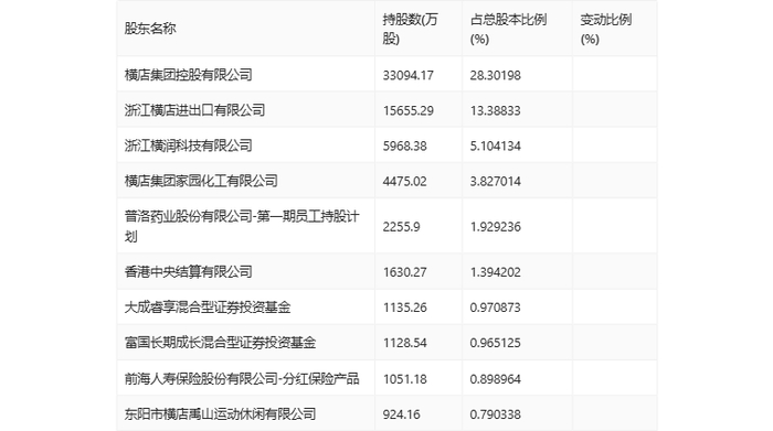
半年报显示,2024年上半年末的公司十大流通股东中,新进股东为富国长期成长混合型证券投资基金、前海人寿保险股份有限公司-分红保险产品,取代了一季度末的融通健康产业灵活配置混合型证券投资基金、兴全合润混合型证券投资基金。在具体持股比例上,横店集团控股有限公司、浙江横店进出口有限公司、浙江横润科技有限公司、横店集团家园化工有限公司、第一期员工持股计划、大成睿享混合型证券投资基金、东阳市横店禹山运动休闲有限公司持股有所上升,香港中央结算有限公司持股有所下降。

筹码集中度方面,截至2024年上半年末,公司股东总户数为4.41万户,较一季度末下降了7021户,降幅13.74%;户均持股市值由一季度末的28.95万元上升至36.00万元,增幅为24.35%。

指标注解:

市盈率

=总市值/净利润。当公司亏损时市盈率为负,此时用市盈率估值没有实际意义,往往用市净率或市销率做参考。

市净率

=总市值/净资产。市净率估值法多用于盈利波动较大而净资产相对稳定的公司。

市销率

=总市值/营业收入。市销率估值法通常用于亏损或微利的成长型公司。

文中市盈率和市销率采用TTM方式,即以截至最近一期财报(含预报)12个月的数据计算。市净率采用LF方式,即以最近一期财报数据计算。

市盈率为负时,不显示当期分位数,会导致折线图中断。

加载中...