新浪财经

万孚生物:2024年上半年净利润3.56亿元 同比增长6.37%

中证网

关注

中证智能财讯 万孚生物(300482)8月14日披露2024年半年度报告。2024年上半年,公司实现营业收入15.75亿元,同比增长5.82%;归母净利润3.56亿元,同比增长6.37%;扣非净利润3.25亿元,同比增长9.93%;经营活动产生的现金流量净额为2亿元,上年同期为-9494.61万元;报告期内,万孚生物基本每股收益为0.78元,加权平均净资产收益率为6.96%。

以8月13日收盘价计算,万孚生物目前市盈率(TTM)约为22.94倍,市净率(LF)约为2.17倍,市销率(TTM)约为4.09倍。

公司近年市盈率(TTM)、市净率(LF)、市销率(TTM)历史分位图如下所示:

根据半年报,公司第二季度实现营业总收入7.14亿元,同比增长8.70%,环比下降17.06%;归母净利润1.37亿元,同比增长5.08%,环比下降37.04%;扣非净利润1.16亿元,同比增长16.06%,环比下降44.30%。

资料显示,公司专业从事快速诊断试剂及配套仪器的研发、生产智造、营销及服务。

分产品来看,2024年上半年公司主营业务中,慢性疾病检测收入7.62亿元,同比增长6.14%,占营业收入的48.37%;传染病检测收入4.81亿元,同比增长12.50%,占营业收入的30.54%。

2024年上半年,公司毛利率为64.34%,同比上升0.79个百分点;净利率为22.75%,较上年同期上升0.39个百分点。从单季度指标来看,2024年第二季度公司毛利率为61.98%,同比上升0.63个百分点,环比下降4.32个百分点;净利率为19.31%,较上年同期下降0.57个百分点,较上一季度下降6.29个百分点。

分产品看,慢性疾病检测、传染病检测2024年上半年毛利率分别为74.86%、59.75%。

数据显示,2024年上半年公司加权平均净资产收益率为6.96%,较上年同期下降0.61个百分点;公司2024年上半年投入资本回报率为6.36%,较上年同期增长0.02个百分点。

2024年上半年,公司经营活动现金流净额为2.00亿元,同比增加2.95亿元,主要系由于上期支付的到期供应商货款金额较大所致;筹资活动现金流净额4.95亿元,同比增加8.78亿元,主要系由于本期募集资金到账所致;投资活动现金流净额-11.44亿元,上年同期为3.51亿元,主要系由于本期购买理财产品金额增加所致。

进一步统计发现,2024年上半年公司自由现金流为-5.73亿元,上年同期为-2.54亿元。

2024年上半年,公司营业收入现金比为88.95%,净现比为56.31%。

营运能力方面,2024年上半年,公司公司总资产周转率为0.25次,上年同期为0.25次(2023年上半年行业平均值为0.14次,公司位居同行业6/39);固定资产周转率为1.56次,上年同期为1.53次(2023年上半年行业平均值为1.12次,公司位居同行业12/39);公司应收账款周转率、存货周转率分别为2.21次、1.47次。

2024年上半年,公司期间费用为6.17亿元,较上年同期增加1830.42万元;但期间费用率为39.19%,较上年同期下降1.05个百分点。其中,销售费用同比增长0.95%,管理费用同比增长1.07%,研发费用同比增长3.45%,财务费用由去年同期的-1339.28万元变为-579.95万元。

资料显示,财务费用的变动主要因为汇兑损益影响。

资产重大变化方面,截至2024年上半年末,公司交易性金融资产较上年末增加100.24%,占公司总资产比重上升9.19个百分点;货币资金较上年末减少53.16%,占公司总资产比重下降8.65个百分点;债权投资合计较上年末增加166.07%,占公司总资产比重上升4.83个百分点;其他流动资产较上年末减少23.68%,占公司总资产比重下降3.82个百分点。

负债重大变化方面,截至2024年上半年末,公司应付账款较上年末增加50.53%,占公司总资产比重上升0.69个百分点;应付职工薪酬较上年末减少23.77%,占公司总资产比重下降0.89个百分点;其他应付款(含利息和股利)较上年末减少29.80%,占公司总资产比重下降0.42个百分点;应交税费较上年末增加38.72%,占公司总资产比重上升0.13个百分点。

从应收账款账龄结构来看,截至2024年上半年末,公司账龄在1年以内的应收账款余额为8.18亿元,较上年末增长2.40亿元,占应收账款总额比例为91.87%,较上年末上升2.66个百分点。

从存货变动来看,截至2024年上半年末,公司存货账面价值为4.12亿元,占净资产的7.67%,较上年末增加6098.86万元。其中,存货跌价准备为908.4万元,计提比例为2.16%。

在偿债能力方面,公司2024年上半年末资产负债率为17.89%,相比上年末下降2.16个百分点;有息资产负债率为8.82%,相比上年末下降1.09个百分点。

2024年上半年,公司流动比率为7.49,速动比率为6.65。

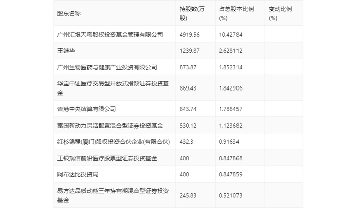
半年报显示,2024年上半年末的公司十大流通股东中,新进股东为红杉锦程(厦门)股权投资合伙企业(有限合伙)、工银瑞信前沿医疗股票型证券投资基金,取代了一季度末的李文美、中欧医疗健康混合型证券投资基金。在具体持股比例上,香港中央结算有限公司持股有所上升,广州汇垠天粤股权投资基金管理有限公司、王继华、广州生物医药与健康产业投资有限公司、华宝中证医疗交易型开放式指数证券投资基金、富国新动力灵活配置混合型证券投资基金、阿布达比投资局、易方达品质动能三年持有期混合型证券投资基金持股有所下降。

筹码集中度方面,截至2024年上半年末,公司股东总户数为3.93万户,较一季度末下降了2175户,降幅5.24%;户均持股市值由一季度末的27.98万元上升至29.27万元,增幅为4.61%。

指标注解:

市盈率

=总市值/净利润。当公司亏损时市盈率为负,此时用市盈率估值没有实际意义,往往用市净率或市销率做参考。

市净率

=总市值/净资产。市净率估值法多用于盈利波动较大而净资产相对稳定的公司。

市销率

=总市值/营业收入。市销率估值法通常用于亏损或微利的成长型公司。

文中市盈率和市销率采用TTM方式,即以截至最近一期财报(含预报)12个月的数据计算。市净率采用LF方式,即以最近一期财报数据计算。

市盈率为负时,不显示当期分位数,会导致折线图中断。

加载中...