新浪财经

赛腾股份:2024年上半年净利润1.54亿元 同比增长48.87%

中证网

关注

中证智能财讯 赛腾股份(603283)8月10日披露2024年半年报。2024年上半年,公司实现营业总收入16.31亿元,同比增长16.21%;归母净利润1.54亿元,同比增长48.87%;扣非净利润1.34亿元,同比增长88.93%;经营活动产生的现金流量净额为-3.66亿元,上年同期为-1360.91万元;报告期内,赛腾股份基本每股收益为0.79元,加权平均净资产收益率为6.88%。

公告称,公司营业收入变化主要由于公司深耕智能制造装备行业多年,积累了较多优质客户,实现合作共赢。

以8月9日收盘价计算,赛腾股份目前市盈率(TTM)约为16.14倍,市净率(LF)约为5.09倍,市销率(TTM)约为2.55倍。

公司近年市盈率(TTM)、市净率(LF)、市销率(TTM)历史分位图如下所示:

根据半年报,公司第二季度实现营业总收入8.57亿元,同比增长24.46%,环比增长10.74%;归母净利润5965.62万元,同比增长93.00%,环比下降36.84%;扣非净利润4463.64万元,同比增长141.82%,环比下降49.95%。

资料显示,公司是一家专业提供智能制造解决方案的高新技术企业,主要从事智能制造装备的研发、设计、生产、销售及技术服务,为客户实现智能化生产提供系统解决方案,助力制造业行业客户提升生产力、提高客户产品品质。

分产品来看,2024年上半年公司主营业务中,自动化设备收入12.82亿元,占营业收入的78.60%;夹治具收入2.55亿元,占营业收入的15.64%;技术服务收入0.87亿元,占营业收入的5.35%。

2024年上半年,公司毛利率为44.99%,同比上升4.60个百分点;净利率为9.96%,较上年同期上升2.36个百分点。从单季度指标来看,2024年第二季度公司毛利率为44.47%,同比上升4.69个百分点,环比下降1.09个百分点;净利率为7.22%,较上年同期上升2.48个百分点,较上一季度下降5.79个百分点。

分产品看,自动化设备、夹治具、技术服务2024年上半年毛利率分别为46.64%、42.86%、29.43%。

数据显示,2024年上半年公司加权平均净资产收益率为6.88%,较上年同期增长0.82个百分点;公司2024年上半年投入资本回报率为5.71%,较上年同期增长1.77个百分点。

2024年上半年,公司经营活动现金流净额为-3.66亿元,同比减少3.52亿元;筹资活动现金流净额3.36亿元,同比增加2.52亿元;投资活动现金流净额-1.37亿元,上年同期为-2.56亿元。

进一步统计发现,2024年上半年公司自由现金流为-5.10亿元,上年同期为-3.10亿元。

2024年上半年,公司营业收入现金比为86.66%,净现比为-237.28%。

营运能力方面,2024年上半年,公司公司总资产周转率为0.33次,上年同期为0.29次(2023年上半年行业平均值为0.24次,公司位居同行业10/29);固定资产周转率为1.99次,上年同期为2.20次(2023年上半年行业平均值为3.53次,公司位居同行业20/29);公司应收账款周转率、存货周转率分别为1.72次、0.62次。

2024年上半年,公司期间费用为5.41亿元,较上年同期增加8147.92万元;期间费用率为33.15%,较上年同期上升0.43个百分点。其中,销售费用同比增长25.59%,管理费用同比增长9.6%,研发费用同比增长28.61%,财务费用由去年同期的260.48万元变为-1265.95万元。

资料显示,销售费用的变动主要因为公司销售规模持续增长,客服团队人员增长导致职工薪酬增长;管理费用的变动主要因为上年下半年授予的限制性股票本期计提的股份支付费用增加;财务费用的变动主要因为本期外币汇率波动影响汇兑损益导致;本期借款规模较上年同期减少;研发费用的变动主要因为公司持续加大研发投入力度,研发人员薪酬及研发材料投入增加。

资产重大变化方面,截至2024年上半年末,公司应收账款较上年末增加55.65%,占公司总资产比重上升5.66个百分点;存货较上年末增加36.48%,占公司总资产比重上升4.91个百分点;货币资金较上年末减少23.59%,占公司总资产比重下降4.50个百分点;固定资产较上年末减少5.89%,占公司总资产比重下降3.33个百分点。

负债重大变化方面,截至2024年上半年末,公司短期借款较上年末增加248.56%,占公司总资产比重上升7.10个百分点,主要系流动资金借款增加;应付账款较上年末增加55.04%,占公司总资产比重上升4.76个百分点,主要系期末未支付的材料款项增加;应付职工薪酬较上年末减少53.79%,占公司总资产比重下降4.07个百分点;应付票据较上年末增加36.51%,占公司总资产比重上升0.77个百分点。

从存货变动来看,截至2024年上半年末,公司存货账面价值为16.66亿元,占净资产的71.3%,较上年末增加4.45亿元。其中,存货跌价准备为3562.9万元,计提比例为2.09%。

在偿债能力方面,公司2024年上半年末资产负债率为54.71%,相比上年末上升3.24个百分点;有息资产负债率为13.90%,相比上年末上升6.21个百分点。

2024年上半年,公司流动比率为1.30,速动比率为0.70。

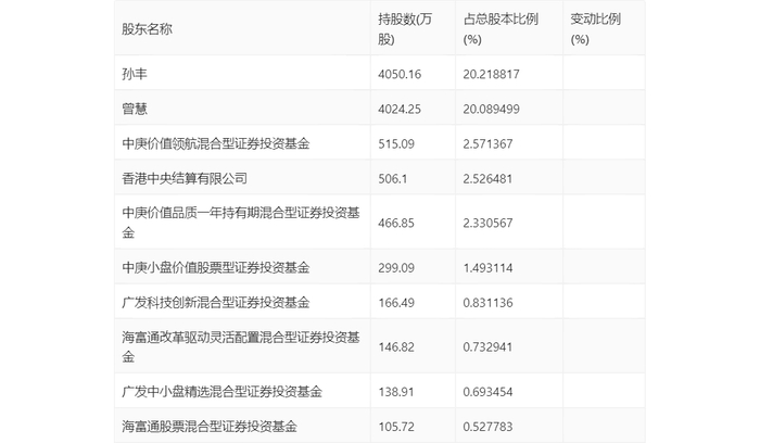
半年报显示,2024年上半年末公司十大流通股东中,新进股东为广发科技创新混合型证券投资基金、海富通改革驱动灵活配置混合型证券投资基金、广发中小盘精选混合型证券投资基金、海富通股票混合型证券投资基金,取代了一季度末的苏州赛伟投资管理中心(有限合伙)、李肖维、江翠芳、郑贵军。在具体持股比例上,香港中央结算有限公司持股有所上升,中庚价值领航混合型证券投资基金、中庚价值品质一年持有期混合型证券投资基金、中庚小盘价值股票型证券投资基金持股有所下降。

值得注意的是,根据半年报数据,赛腾股份13.03%股份处于质押状态。其中,第一大股东孙丰质押1420.00万股公司股份,占其全部持股的35.06%。

筹码集中度方面,截至2024年上半年末,公司股东总户数为2.38万户,较一季度末下降了3044户,降幅11.35%;户均持股市值由一季度末的57.07万元上升至64.35万元,增幅为12.76%。

指标注解:

市盈率

=总市值/净利润。当公司亏损时市盈率为负,此时用市盈率估值没有实际意义,往往用市净率或市销率做参考。

市净率

=总市值/净资产。市净率估值法多用于盈利波动较大而净资产相对稳定的公司。

市销率

=总市值/营业收入。市销率估值法通常用于亏损或微利的成长型公司。

文中市盈率和市销率采用TTM方式,即以截至最近一期财报(含预报)12个月的数据计算。市净率采用LF方式,即以最近一期财报数据计算。

市盈率为负时,不显示当期分位数,会导致折线图中断。

加载中...