新浪财经

所以,央企也扛不住了?

市场资讯 2024.08.07 16:23

据《每日经济新闻》报道:中国中铁多家控股公司被纳入“失信被执行人”或“限制高消费”名单。

而被拖欠的企业多为小微企业,拖欠金额在数百万元元、数十万元,甚至仅几万元。

而另一家“中字头”央企――中国铁建与中国中铁存在类似情况:公司多家间接控股公司被列为“失信被执行人”,以及被限制高消费。

多位中国铁建间接控股公司的相关人士表示,并非故意拖欠,而是涉及业主方欠款的“三方债务”、部分诉讼案件存在争议等多种复杂情况。

公司积极与小微企业谈判相关付款方案,最近开展了专项行动,公布了投诉电话接受监督。

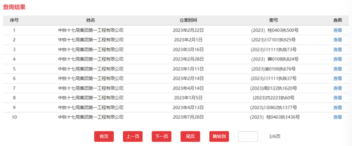
截至7月26日,中铁十七局集团旗下的第一、第三、第五、第六工程有限公司,以及中铁十五局集团第一工程有限公司涉及限制高消费(来自法院公布过的限制高消费文书,不排除部分案件已还款)的案件数合计超过1000起。

此外,中铁十七局集团旗下的第一、第三、第五工程有限公司被列为“失信被执行人”的案件数量均在几十起。

上述被列为“失信被执行人”的失信情况包括:

有履行能力而拒不履行生效法律文书确定义务、其他规避执行、被执行人无正当理由拒不履行执行和解协议,以及违反财产报告制度。

更为极端的是,有一家武汉公司曾申请上述一家央企公司破产,该武汉公司负责人7月10日向记者透露,双方已经和解。

《每日经济新闻》记者注意到,中国铁建间接控股公司被欠款方申请破产的案件不只一起。

近年来,工信部一直在组织开展清理拖欠企业账款专项行动,缓解中小微企业资金压力。

2020年7月5日,国务院颁布第728号《保障中小企业款项支付条例》,机关、事业单位从中小企业采购货物、工程、服务,应当自货物、工程、服务交付之日起30日内支付款项;

合同另有约定的,付款期限最长不得超过60日。

为了落实《保障中小企业款项支付条例》,2021年12月30日,工信部印发《保障中小企业款项支付投诉处理暂行办法》。

前述业内人士表示,相关方一直都在积极处理拖欠中小微企业货款一事。

加载中...