新浪财经

汤臣倍健:2024年上半年净利润8.91亿元 同比下降42.34%

中证网

关注

中证智能财讯 汤臣倍健(300146)8月6日披露2024年半年报。2024年上半年,公司实现营业总收入46.13亿元,同比下降17.56%;归母净利润8.91亿元,同比下降42.34%;扣非净利润8.31亿元,同比下降42.83%;经营活动产生的现金流量净额为2.94亿元,同比下降71.69%;报告期内,汤臣倍健基本每股收益为0.52元,加权平均净资产收益率为7.37%。

以8月5日收盘价计算,汤臣倍健目前市盈率(TTM)约为20.31倍,市净率(LF)约为1.96倍,市销率(TTM)约为2.63倍。

公司近年市盈率(TTM)、市净率(LF)、市销率(TTM)历史分位图如下所示:

根据半年报,公司第二季度实现营业总收入19.67亿元,同比下降20.93%,环比下降25.66%;归母净利润1.64亿元,同比下降68.12%,环比下降77.36%;扣非净利润1.22亿元,同比下降73.48%,环比下降82.82%。

资料显示,公司要从事膳食营养补充剂的研发、生产和销售。

分产品来看,2024年上半年公司主营业务中,片剂收入10.03亿元,同比下降35.70%,占营业收入的21.75%;胶囊收入9.79亿元,同比下降5.96%,占营业收入的21.23%;粉剂收入5.83亿元,同比下降32.31%,占营业收入的12.64%。

2024年上半年,公司毛利率为68.56%,同比下降1.76个百分点;净利率为19.08%,较上年同期下降8.91个百分点。从单季度指标来看,2024年第二季度公司毛利率为66.75%,同比下降3.57个百分点,环比下降3.15个百分点;净利率为8.19%,较上年同期下降12.57个百分点,较上一季度下降18.98个百分点。

分产品看,片剂、胶囊、粉剂2024年上半年毛利率分别为78.36%、65.73%、73.25%。

数据显示,2024年上半年公司加权平均净资产收益率为7.37%,较上年同期下降6.20个百分点;公司2024年上半年投入资本回报率为7.17%,较上年同期下降6.32个百分点。

2024年上半年,公司经营活动现金流净额为2.94亿元,同比下降71.69%;筹资活动现金流净额-17.58亿元,同比减少14.18亿元;投资活动现金流净额5.38亿元,上年同期为-14.84亿元。

进一步统计发现,2024年上半年公司自由现金流为5.26亿元,上年同期为-4.81亿元。

2024年上半年,公司营业收入现金比为86.83%,净现比为33.04%。

营运能力方面,2024年上半年,公司公司总资产周转率为0.32次,上年同期为0.41次(2023年上半年行业平均值为0.39次,公司位居同行业15/27);固定资产周转率为5.18次,上年同期为6.21次(2023年上半年行业平均值为1.83次,公司位居同行业2/27);公司应收账款周转率、存货周转率分别为13.00次、1.74次。

2024年上半年,公司期间费用为21.2亿元,同比增长3827.66万元;期间费用率为45.95%,同比增长8.75个百分点。其中,销售费用同比下降0.37%,管理费用同比增长23.49%,研发费用同比下降13.47%,财务费用-2550.49万元,去年同期-3307.39万元。

资产重大变化方面,截至2024年上半年末,公司交易性金融资产较上年末减少51.15%,占公司总资产比重下降4.05个百分点;货币资金较上年末减少27.89%,占公司总资产比重下降3.99个百分点;其他流动资产较上年末增加12.14%,占公司总资产比重上升3.58个百分点;在建工程较上年末增加5.00%,占公司总资产比重上升1.81个百分点。

负债重大变化方面,截至2024年上半年末,公司合同负债较上年末减少65.57%,占公司总资产比重下降4.45个百分点,主要系上年底客户提前备货、预收客户货款较多,报告期已发货;其他应付款(含利息和股利)较上年末增加39.24%,占公司总资产比重上升1.83个百分点;应付账款较上年末减少36.82%,占公司总资产比重下降0.80个百分点;应付职工薪酬较上年末减少48.06%,占公司总资产比重下降0.68个百分点。

从应收账款账龄结构来看,截至2024年上半年末,公司账龄在1年以内的应收账款余额为4.81亿元,较上年末增长2.23亿元,占应收账款总额比例为99.7%,较上年末上升0.43个百分点。

从存货变动来看,截至2024年上半年末,公司存货账面价值为6.83亿元,占净资产的6.04%,较上年末减少3.06亿元。其中,存货跌价准备为1670.7万元,计提比例为2.39%。

在偿债能力方面,公司2024年上半年末资产负债率为14.70%,相比上年末下降4.21个百分点;有息资产负债率为0.10%,相比上年末上升0.02个百分点。

2024年上半年,公司流动比率为4.28,速动比率为3.85。

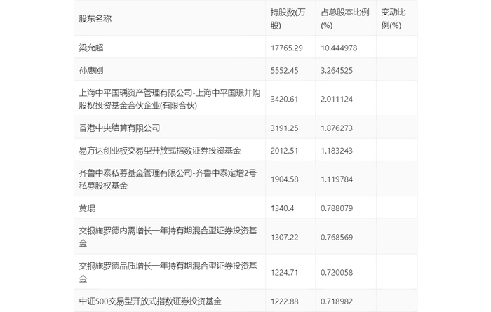
半年报显示,2024年上半年末公司十大流通股东中,持股最多的为梁允超,占比10.44%。十大流通股东名单相比2024年一季报维持不变。在具体持股比例上,中证500交易型开放式指数证券投资基金持股有所上升,香港中央结算有限公司、易方达创业板交易型开放式指数证券投资基金、交银施罗德内需增长一年持有期混合型证券投资基金、交银施罗德品质增长一年持有期混合型证券投资基金持股有所下降。

筹码集中度方面,截至2024年上半年末,公司股东总户数为6.65万户,较一季度末下降了1459户,降幅2.15%;户均持股市值由一季度末的42.06万元下降至34.65万元,降幅为17.62%。

指标注解:

市盈率

=总市值/净利润。当公司亏损时市盈率为负,此时用市盈率估值没有实际意义,往往用市净率或市销率做参考。

市净率

=总市值/净资产。市净率估值法多用于盈利波动较大而净资产相对稳定的公司。

市销率

=总市值/营业收入。市销率估值法通常用于亏损或微利的成长型公司。

文中市盈率和市销率采用TTM方式,即以截至最近一期财报(含预报)12个月的数据计算。市净率采用LF方式,即以最近一期财报数据计算。

市盈率为负时,不显示当期分位数,会导致折线图中断。

加载中...