新浪财经

课题组|乡镇人民法庭参与农地流转纠纷治理研究

媒体滚动 2024.08.02 10:30

转自:上观新闻

农村土地流转是发展农村产业的重要途径,农地“三权分置”后,土地资源能够更自由地参与市场配置,但在当前的农地流转过程中,仍存在农地流转不畅、流转矛盾纠纷大等难以解决的问题,乡镇人民法庭扎根基层,是司法服务乡村振兴的前沿“阵地”,笔者运用ER建模思维分析农地流转纠纷治理困境背后的系统性原因,对乡镇人民法庭的功能定位进行重新审视,不断深化人民法庭的能动司法实践,更好地服务乡村振兴。

引言

2019年修改后施行的农村土地承包法中将“土地经营权”明确为单独的权利进行规范,2021年施行的民法典进一步明确了农村土地所有权、土地承包经营权、土地经营权“三权分置”,我国的农地流转制度发展到了“规范性流转”的新历史阶段。本文以S省J市自2019年以来的农地流转纠纷治理情况为研究样本,以ER建模思维为研究视角,分析农地流转纠纷治理困境的系统性原因以及完善路径,提出乡镇人民法庭参与农地流转纠纷治理的“能动司法”新型模式。

一、缘起:农村土地流转纠纷治理现状——以J市为例

J市系四川省的一个县级市,农村总面积1283平方公里,占市域面积95.53%,现有耕地608.6平方公里,其中永久基本农田573.3平方公里,是典型的“小城市带大农村”格局,故笔者以J市的土地流转纠纷作为研究样本,分析自2019年“三权分置”改革以来农地流转纠纷治理的现实困境。

J市法院共7个人民法庭,自2019年1月1日至2023年5月31日,诉前化解的农地流转纠纷149件,受理农地流转纠纷案件209件,各年度的纠纷情况如下:

从J市人民法庭化解农地流转纠纷数量的总体数据来看,2019年度、2020年度数量较少,在2021年度激增五倍后,2022年度有所回落,但预计2023年度将呈上升趋势。同时,人民法庭化解的农地流转纠纷中,诉前调解化解比例不高,且呈下降趋势。

农地流转纠纷占比最大的是合同类纠纷,如农村土地承包合同纠纷、土地承包经营权出租合同纠纷、土地承包经营权转让合同纠纷等,比例高达95.4%,自2019年农村土地承包经营权确权登记颁证后,农民享有的土地承包经营权已通过产权证书的方式进行规范确认,故土地承包经营权确认纠纷的数量大幅降低,自2021年起,即未再出现该类纠纷。

通过对J市人民法庭受理的209件农地流转纠纷案件进行分析,案件的相关情况如下:

从上述数据可以看出,农地流转纠纷案件中合同无效及流转程序不规范的情况较为普遍,当事人的主要诉求系金钱给付(即支付租金),对土地的腾退等流转后续的处理的诉求较少,案件进入执行的占比较小,同时执行到位率较低。

我国农村是典型的“熟人社会”,在农地流转过程中发生纠纷,大多会先自行进行协商,或通过共同的熟人、亲戚作为“和事佬”化解纠纷。该种解纷方式在以前的农地纠纷化解中起着最主要的作用,但自“三权分置”改革以来,土地经营权越来越多地流转到村外的个人、经济组织中,传统的自行协商方式已越来越难以发挥作用。

农地纠纷化解是农村基层治理的重要内容,乡镇政府、农业农村局、司法所等也系农地流转纠纷多元解纷的重要力量,发挥着重要作用,大量的农地流转纠纷均是通过多元解纷机制来化解,但随着农地经营权流转的逐渐的市场化,其产生的矛盾也越来越尖锐复杂,多元解纷的力量也越来越难以成功地实质化解纠纷。

农地流转纠纷实质是土地经营权流转过程中由于利益博弈产生的各种矛盾,当无法通过协商、三方介入调解等方式化解时,矛盾相对尖锐复杂的纠纷,必然会流向司法途径,从该种意义上来说,乡镇人民法庭即是农地流转纠纷的最终站,且随着农地流转市场化发展,农地流转纠纷将越来越多地流入法庭,需要动用司法资源进行裁判解决。

2016年,Z村23户村民将土地流转给B公司,B公司又将土地经营权流转给谢某,谢某拖欠村民们土地租金,5户村民向J市法院起诉,法庭法官在村里开庭审理,在开庭中通过对法律的充分释明,当事人达成调解协议,谢某在一周内向剩余18户村民支付租金,纠纷得到实质化解。

P村村民将土地经营权流转给甲公司后,部分村民未经甲公司同意,又与乙公司签订土地流转合同,由此引发纠纷,乡政府同人民法庭召开联席会,分析研判土地流转矛盾产生的症结,促进各方达成调解协议,由村民退还多收取的流转费用,同乙公司重新签订规范合同。

C村村民将农业用地流转给B家具公司用于修建厂房,该流转改变了土地用途,合同无效,法庭判令B公司支付土地占用损失并承担复耕责任,但B公司认为其没有复耕义务,村民、村委会希望继续获取土地占用损失,故也不愿复耕土地,导致土地撂荒两年后,村民再次将B公司诉至法院。

无论是流转合同的签订以及备案、流转前的民主议事程序、合同约定内容等方面均呈现出混乱、不规范的情况,特别是土地流转使用方面,出现了违规改变土地用途,用于建设建筑物、堆放建筑垃圾等,部分出现了土地“非粮化、非农化”问题。

2019年三权分置后,随着土地流转率的提升,涉及土地承包、出租等土地经营权流转纠纷明显增加,且调解难度增加,纠纷大量进入诉讼阶段,涉及土地承包经营纠纷多为批案,群体特征明显,涉及面广,化解难度大。

进入诉讼后常常会出现无合同、合同约定不明、没有书面证据等情况,加之该类案件举证困难,合同签订、合同履行事实不易查明,案件涉众涉稳,需要反复研判、不断汇报,导致案件审理周期较长。

基于“城镇化”背景下,大量农民更愿意通过流转经营权的方式获取收益,在“非粮化、非农化”整改过程中暴露出多种问题,包括非法土地流转的违约责任、农民不愿接收土地、复耕主体不明确等问题导致农地流转中止或到期后出现土地撂荒现象。

二、探析:用ER建模思维梳理人民法庭参与农地流转纠纷治理困境

ER(Entity Relationship Diagram)模型,即实体关系模型,是数据库设计的一种理论基础,其将事务抽象为“实体”“属性”“关系”来表示数据关联和事物描述,因此在该模型的视角下,一个数据库系统应包含实体、属性、关系三大基本元素。

农地流转ER建模思维即通过明确实体、分析属性、确定关系三方面来建立一个所有身份的用户都能理解的数据库系统模型,该模型是描述现实世界概念结构模型的有效方法。纠纷治理体系是一个涉及多个流转主体、多种权利属性、多种法律关系、多重价值追求的复杂系统,其组成元素、构建思路与ER建模思维相契合,以ER建模思维为研究视角,能够客观、全面、精准地分析出农地流转纠纷治理的结构性、系统性问题,并发现解决之道。

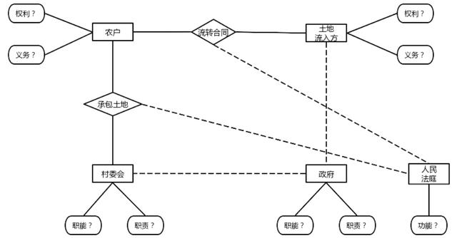
农地流转纠纷治理涉及的主体主要有五类,即农户、土地流入方、政府职能部门、基层组织、人民法庭:

(1)承包农户

农户在流转过程中存在法律意识淡薄、对土地的流转意愿不高,对土地流转政策理解具有滞后性的行为特质,同时其缺乏自我利益最大化意识和谈判能力,流转自发性和随意性较强,利益受损情况发生概率大,难以通过合法途径维权。

(2)政府职能部门及基层组织

政府是推动土地流转的指引者,在流转过程中承担监管职责,村委会为土地流转的发包方代表,负责宣传相关政策和监督土地流转行为,但二者存在履职不足及监管滞后的问题。

(3)农地流入方

流入方则主要是指土地实际经营者,他们提高了农业生产效率,但对于农村土地的情感依赖不强,实践中存在经营主体为利益最大化打政策“擦边球”,改变土地用途、破坏土地生态价值,或在经营不善时“跑路”,损害农民利益的情况。

(1)专业化审判能力欠缺

处理农地流转纠纷需熟悉土地流转纠纷涉及的法律法规、政策,更需清楚在面临证据不足、事实难以查清的情况时如何把握裁判尺度,但现阶段,乡镇法庭因人力、物力及自身认识等方面原因,仍然延续综合性审判建设路径,未有效开展针对农地流转纠纷的审判专业化建设。

(2)诉讼外参与治理能力不足

乡镇法庭不仅应具备农地流转纠纷专业化审判能力,同时也应延伸诉讼外治理职能,但囿于乡镇法庭对自身定位的传统认识,将更多精力倾注于案件办理,未真正将社会治理重心向基层下移,未充分发挥人民法庭法治与治理相融的功能优势。

农村土地流转纠纷治理主体的属性对应的是主体法律地位、权利义务以及职权职责:

开放土地经营权流转后,相关的法律条文、司法解释及其他规定都尚不完备,对于土地所有权、承包经营权、经营权的权利范围和负有的义务、责任划分尚不明确,各监管和化解主体的权责界定也较为笼统。

实践中各界对乡镇人民法庭的功能定位认识不同,因此人民法庭参与农村土地流转纠纷治理的权利和职责也较为模糊,其他参与主体也未对人民法庭纠纷治理的定位和重要功能有充分认知,普遍认为法庭只需要负责纠纷产生后的审理裁判,未将人民法庭纳入纠纷治理全过程考量。

结合主体、属性及三要素存在的问题,逐步完成当前农地流转纠纷现状的ER模型概念图:

流转土地经营权时,存在农户与农地流入方未充分磋商、相关责任未充分约定、信息不对称等问题;政府对其他主体进行土地流转引导、监管时存在干预过度或监管不到位的问题;村委会在向农户宣传流转政策和监督流转行为等方面存在履职不到位的问题。

从农地流转的整体情况来看,各个主体之间的交互联系并不频繁,呈现出偶然性、单向性、滞后性的特征,尚未形成成熟的交互模式和规范的协同机制,各主体之间没有畅通的信息交汇渠道,尚未形成规模效应和集成效应,土地流转过程中各方主体掌握的信息的不对称,不互通,更未实现土地流转数据挖掘价值。

人民法庭与各流转主体之间均存在联系,但联系较弱、也较滞后,往往只能被动地参与纠纷治理,游离在农地流转纠纷的主要活动之外,人民法庭与各方的联系存在“无力感”,地位也较为“边缘化”,治理动能发挥不足。

三、思索:ER模型视角下人民法庭参与农地流转纠纷治理的启示

与传统的民事权利设计路径不同,我国的农村集体土地制度改革为更为复杂的“所有权—土地承包经营权—土地经营权”三权结构,其权利内涵的关键在于农村土地制度“一头衔接着私有财产权、一头衔接着社会公有制”,即追求三重价值取向:国家安全稳定—农民生存保障—资源有效利用,因此,我们必须做好这三个层面的价值追求的统筹平衡,通过法律法规及配套的体制机制来同时兼顾、保障这三项利益。

围绕三重价值追求,需同时确定权责:土地资源的保护和管控,坚守耕地红线,防止土地的非粮化、非农化,保护国家粮食安全;提升农民流转土地获得的财产性收益,让其能够真正享受到盘活土地资源带来的红利;促进农地经营权流转的市场化,建立良好的农地流转秩序,让土地能够实现适度规模化经营,实现农村产业的振兴。只有将上述三个维度的责任履行好,才能真正发挥土地的最大效用,实现“三权分置”的真正目的。

从ER建模思维下的农地流转纠纷图来看,各个主体的属性并不明确,其关键就在于虽然将权利拆分为三种权利,但却没有明确相应责任,比如在土地保护方面:村集体将土地承包给农户后是否仍然有保护土地资源的职责;农户将土地经营权流转给他人后,是否还需为土地撂荒负责;流转合同到期后经营者应当承担什么样的后续责任等。义务和责任的不明确,势必导致权利的无法实现和保障。

“三权分置”后传统的封闭性、小范围的熟人间流转模式已经被打破,越来越多的经济主体进入农地经营领域,农地流转频率、渠道与范围也持续大幅度增加,逐渐形成以土地经营权为客体的商业化交易市场,而这样的交易行为必然需要具备技术运用、共享资源、规则完备的现代化市场来进行维系。

农地流转纠纷治理不仅包含经济纠纷化解问题,还包含着农地流转过程中土地资源保护、落实所有权、稳定承包权、放活经营权等综合性、系统性问题,因此农地流转纠纷治理需坚持社会治理模式,“法治”是社会治理的关键内容,现代化农地纠纷治理,更应当是一种在法治思维下的“规则之治”,让土地流转的参与主体依法主张权利、履行义务,让监管主体依法履职,让解纷主体依法进行纠纷化解,真正建立良好的农地流转纠纷治理秩序。

基于对土地流转的不同维度的价值追求,农户、土地流入方、村委会、基层政府等不同的主体在其中当然会有天然的利益倾向,主体间具有一定的利益冲突和价值博弈,无法做到完全的公正和中立,但乡镇人民法庭系人民法院的派出机构,与当地并无利益联系,又肩负化解矛盾纠纷的职责,处于中立和枢纽的位置,因此对合理合法地平衡各方利益,推动建立新的农地流转秩序具有天然优势。

2021年7月25日召开的全国高级法院院长座谈会会议强调,新时代人民法庭坚持的工作原则由“两便”原则发展到“三便”原则,增加了“便于人民群众及时感受到公平正义”,其实质首先是对人民法庭的职能定位从仅方便个案审判提升到了在乡村振兴战略中提供法治保障的社会层面,在农地流转纠纷治理体系中,乡镇人民法庭之于法院机关庭更扎根于乡村第一线,同时之于乡镇其他的基层组织、政府机构又更具有中立性、专业性,应当成为农地流转纠纷治理体系的“主力军”。

人民法庭参与乡村这一社会“神经末梢”的纠纷治理,是对法治职能履职方式的变革,是社会治理层面能动司法的实践,从审判来看,人民法庭仅需审理个案,但从农地流转纠纷治理ER模型可以看出,在个案的审理之外,在整个纠纷治理系统中,还可以主动发挥司法作用,构建回应型、服务型、主动型的人民法庭司法模式,进一步关注土地安全保护、提供农户权利司法保障、推动建立规范的农地流转秩序等。

乡村振兴意味着国家治理权力将进一步下沉,更需要法治的同步下沉保障,人民法庭作为乡村治理体系中的专业化法律治理主体,与党委政府和社会组织等主体相比,其显著优势在于拥有最终的“法律裁判权”,能够确立“规则”。在农地流转纠纷治理体系中,乡镇人民法庭作为一线司法阵地,首先要运用法治思维和法治方式行使审判权,更要积极发挥司法能动性和法治规则的引领性,回应“三权分置”下农业现代化转型时期的现实法治需求。

四、设计:乡镇人民法庭参与农地流转纠纷治理的路径

坚守国家土地安全、粮食安全、种业保护等国家安全层面的价值追求,乡镇法庭应促进各主体认识到权利背后的职责:村委会应当定期排查其所有的土地的情况;农户将土地经营权流转后,也应掌握承包的土地经营的情况,不因流转而免责;土地流入方私自改变土地用途、污染土地资源的,不仅要承担复耕、污染清理的责任,还会受到相应惩罚。

土地资源作为农户生存的保障,是社会保障制度的关键组成部分,乡镇法庭应推动乡镇、市级政府严格监管土地资源的社会保障功能,不仅有责任客观、全面地了解地区内土地性质、土地流转情况、土地使用情况、土地纠纷情况等,防范土地撂荒;同时,还应明确政府在土地经营权大规模流转的主体资格审查、保证金收取、促进土地价值升值等方面的职责。

乡镇法庭可结合农地流转的法治状况,推动出台相关法律法规,明确农业农村局、乡镇人民政府、村委会在土地经营权流转过程中的监管职责,明确土地使用的范围,确定什么样的土地经营方式属于改变了土地用途,以及明确流转各方的权利义务,在发生纠纷时,在土地经营权流转合同能否解除,进一步明确解除后的各方当事人的法律责任,土地损失的确定及赔偿。

现在尚未有对人民法庭基层治理工作做出的相对具体的、明确的规定,人民法庭尚未真正与其他组织机构形成社会综合治理联动机制,若探寻人民法庭参与基层治理的角色定位、工作方式和行为要求,可将人民法庭参与农地流转纠纷治理作为突破点,明确人民法庭在农地流转纠纷治理中的法定职权并配套规定相应的保障机制,进一步发挥人民法庭的法治功能。

只有建立人民法庭参与的农地流转纠纷ER数据库,发挥法治串联功能,在数据库的基础上搭建交易平台,全面、完整地收集地区土地使用及流转情况,向农户、土地流入方、政府部门、基层组织、人民法庭开放向对应的数据接口,满足各主体的使用需求,才能真正建立成熟现代化的农地流转市场,并成为纠纷治理的有效手段。

在农地流转市场的现代化发展的趋势下,农地流转的频次越来越高,农地流转的主体越来越复杂,仅备案已无法满足农村产业发展的需求,故需要参照不动产登记制度,通过明确的法律法规来推进土地经营权流转登记,让农村土地的信息及所有流转行为都数据化、可视化,从而对农地流转市场实现数据掌握和行为监管。

一直以来,传统认识认为乡土社会秩序的维持主要靠道德、习俗、习惯,故更看重于乡镇人民法庭的群众工作能力、纠纷实质化解能力,认为乡镇人民法庭不需要专业的审判能力建设,但农地流转纠纷司法需求越来越突出的形势下,乡镇人民法庭必须提升自身的审判专业能力,进行农地流转类纠纷的法律研究和专业化审判建设,以应对越来越多、越来越复杂的农地流转法律纠纷。

人民法庭参与农地流转纠纷治理包含案件审判、法律政策宣传、诉源治理、联动多元解纷等多项内容,因此专业化不仅要包含案件审判的专业化,还包括能动司法、纠纷治理的专业化建设,即包含土地承包给农户、农户将经营权流转给他人、土地流入方进行土地经营、流转完毕或解除后的后续事宜处理全流程各环节下出现的问题的治理能力的提升。

囿于传统认识,大多基层法院仅将人民法庭定位于案件审判站点,仅设置极少的审判力量,并未将纠纷治理、乡村振兴的职能职责纳入工作内容和考核内容,故要让乡镇人民法庭能够发挥农地流转纠纷治理的效能,必须配套相应的司法力量,让乡镇人民法庭有足够的人力物力去进行案件审判外的治理工作,同时要配套修改考核制度,以确保治理工作实质化运行。

针对乡镇政府、村委会、农户等不同的主体,通过个案裁判、典型案例、联席会议、实地走访、法庭开放日等,加深各主体对“三权分置”后各自承担的义务和责任的认识和理解,引导他们在法治的规则下开展活动。

监测土地流转可能存在的法律风险和耕地保护、农户利益保障方面的风险,通过农地流转纠纷ER数据库反映的土地流转情况,评测土地安全威胁度,监管土地流转合法性,并实时向相关部门发送土地风险预警。

建立完善农地纠纷联动化解平台,农户可以在平台上实时反映农地流转问题,各纠纷化解主体可在平台上明确各自的化解任务,实现纠纷化解力量的聚合和联通,在出现纠纷苗头和纠纷爆发后,充分发挥联动协调作用,及时化解纠纷。

农地流转纠纷ER数据库全面真实地记载了一个地区最重要的土地资源情况,乡镇人民法庭也可将处理的农地流转纠纷情况上传到数据库中,以便深度运用农地流转纠纷ER数据库,分析全市范围的土地流转和纠纷情况,为党委政府乡村振兴长远规划提出法治建议和法治参谋。

加载中...