新浪财经

1年3次被罚,重庆三峡银行IPO跑了8年“状况”频发……

市场资讯 2024.08.02 09:56

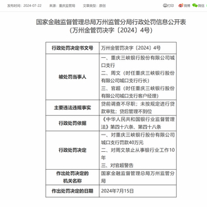
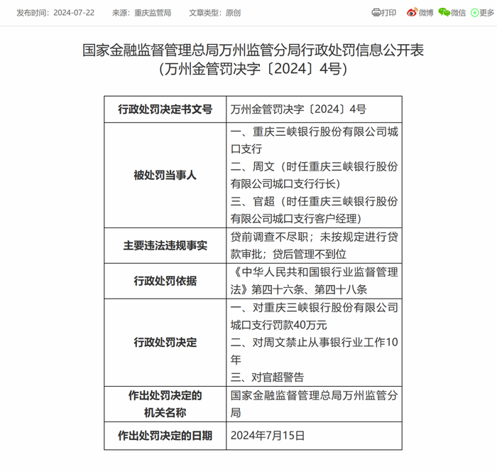
科创四川刚刚获悉,国家金融监督管理总局万州监管分局发布一则行政处罚信息,重庆三峡银行股份有限公司(简称:重庆三峡银行)城口支行被罚40万元,相关负责人被禁业10年。

一年内三次被罚

罚款累积达160万元

公布的行政处罚信息显示,此次被罚是因为其支行存在贷前调查不尽职、未按规定进行贷款审批、贷后管理不到位等违规行为,故被处以40万元罚款。与此同时,时任该银行城口支行行长的周文因负有直接责任,被禁止从事银行业工作10年。此外,时任客户经理的官超也因相关违规行为被处以警告。

值得关注的是,而这并不是重庆三峡银行在今年内的首次被罚。早在今年1月,国家金融监督管理总局两江监管分局对重庆三峡银行两江支行被罚款60万元,时任重庆三峡银行两江支行营业部总经理被予以警告。同日,重庆三峡银行渝北支行被处以60万元罚款。

左右滑动,查看更多

图源:国家金融监督管理总局

据不完全统计,截至目前,重庆三峡银行在今年内已经收到3张罚单,累计罚款金额已达160万元。

贷款“三查”问题成为被罚重灾区

2024年以来,重庆三峡银行已不止一次因贷款“三查”问题被处以惩罚。贷款“三查”,顾名思义,就是“贷前调查、贷时审查、贷后检查”的简称。这是银行信贷管理的一种重要方法,旨在全面了解借款人的经营状况、贷款风险情况,及时发现风险隐患,并采取相应措施进行防范和控制。

而在此次被罚当中,就是因该支行存在贷前调查不尽职、贷后管理不到位等违规问题,导致被处以罚款及负责人被问责。不仅如此,早在去年4月,重庆三峡银行空港支行就因贷款“三查”未尽职、发现贷款资金被挪用后未采取有效措施等违规问题。根据《中华人民共和国银行业监督管理法》第四十六条、第四十八条,被处人民币三十万元罚款,同时,两名相关责任人杨淋淋、陈自力被予以警告。

而在今年1月的罚单当中,重庆三峡银行渝北支行也是因为存在贷款“三查”严重不尽职、员工管理不到位等违法违规行为被问责。

无独有偶,重庆三峡银行也不止一次栽在贷款“三查”问题上。在今年开出的四张罚单当中,就有三张罚单因贷款“三查”问题被处罚。据数据显示,2023年以来重庆三峡银行收到至少7张罚单,其中4张是明确涉及贷款“三查”问题。

“重庆三峡银行收到涉及贷款‘三查’问题的罚单,反映出该行在贷款管理环节存在疏漏”相关行业专家表示,在后续的工作中,三峡银行还需要进一步加强内控管理和员工培训,来提升整体的合规性和风险控制的能力。

IPO上市之路历经8年还在继续

在冲刺IPO的道路上,重庆三峡银行可谓是起了个大早,但却连晚集都没赶上。早在2016年重庆三峡银行就进行了上市辅导备案,还曾于2018年将辅导券商由招商证券变更为银河证券,自2020年6月拿到上市资格开始,就一波三折。首先三峡银行在2021年10月经历,时任党委书记、董事长丁世录被双开。后又在去年1月遭到聘请的会计师事务所的牵连,IPO审核状态一度变为“终止”。

直至2023年3月,三峡银行的审核状态才变为“预披露更新”。尽管去年6月,三峡银行迎来了新任董事长刘江桥,并加紧推进IPO,但最终未能如期完成注册制“平移”。

令人欣慰的是,去年重庆三峡银行交出了一份颇为亮眼的成绩单。2023年,重庆三峡银行实现营业总收入51.19亿元,同比增长11.14%,资产规模为3020亿元。2024年延续了上升的势头,一季度重庆三峡银行实现营业收入12.95亿元,较上年同期增长1.65%;净利润4.63亿元,较上年同期增长5.23%。

此前,针对重庆三峡银行上市情况的介绍,科创四川进行了详细报道,点击下图查看详情:

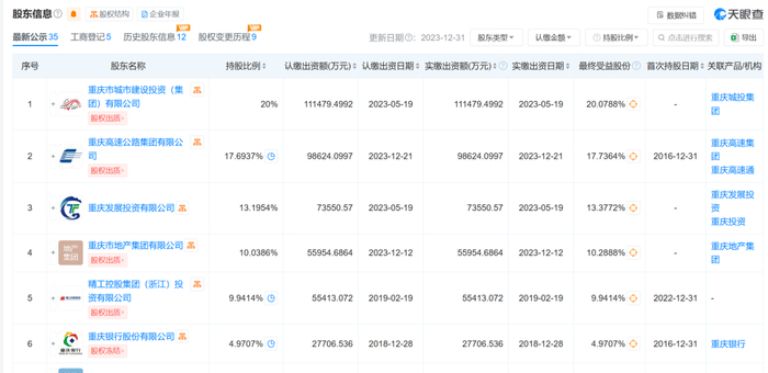
据悉,重庆三峡银行是在原万州商业银行基础上重组成立的地方性股份制城市商业银行,2008年2月重组改制并更为现名,2023年4月引入4家重庆市属国有重点企业作为战略投资者。

目前前五大股东重庆城投集团、重庆高速集团、重庆发展投资、重庆地产集团、精工控股集团分别持有20%、17.694%、13.195%、10.039%、9.941%股权。

作为区域性商业银行,重庆三峡银行在支持当地经济发展、维护当地金融稳定等方面发挥重要作用。相信在未来的发展中,重庆三峡银行将以此为戒,重整旗鼓。重庆三峡银行会何时重启IPO?科创四川将持续关注。

加载中...