新浪财经

宁德时代:2024年上半年净利润228.65亿元 同比增长10.37%

中证网

关注

中证智能财讯 宁德时代(300750)7月27日披露2024年半年报。2024年上半年,公司实现营业总收入1667.67亿元,同比下降11.88%;归母净利润228.65亿元,同比增长10.37%;扣非净利润200.54亿元,同比增长14.25%;经营活动产生的现金流量净额为447.09亿元,同比增长20.61%;报告期内,宁德时代基本每股收益为5.2017元,加权平均净资产收益率为11.39%。

以7月26日收盘价计算,宁德时代目前市盈率(TTM)约为18.0倍,市净率(LF)约为4.24倍,市销率(TTM)约为2.2倍。

公司近年市盈率(TTM)、市净率(LF)、市销率(TTM)历史分位图如下所示:

根据半年报,公司第二季度实现营业总收入869.96亿元,同比下降13.18%,环比增长9.06%;归母净利润123.55亿元,同比增长13.40%,环比增长17.56%;扣非净利润108.07亿元,同比增长10.80%,环比增长16.86%。

半年报称,公司是全球领先的新能源创新科技公司,主要从事动力电池及储能电池的研发、生产及销售,以推动固定式化石能源替代、移动式化石能源替代,并以电动化+智能化为核心,推动市场应用的集成创新。

分产品来看,2024年上半年公司主营业务中,动力电池系统收入1126.49亿元,同比下降19.20%,占营业收入的67.55%;储能电池系统收入288.25亿元,同比增长3.00%,占营业收入的17.28%;电池材料及回收收入143.33亿元,同比增长13.02%,占营业收入的8.59%。

2024年上半年,公司毛利率为26.53%,同比上升4.90个百分点;净利率为14.92%,较上年同期上升3.57个百分点。从单季度指标来看,2024年第二季度公司毛利率为26.64%,同比上升4.68个百分点,环比上升0.22个百分点;净利率为15.73%,较上年同期上升4.36个百分点,较上一季度上升1.70个百分点。

分产品看,动力电池系统、储能电池系统、电池材料及回收2024年上半年毛利率分别为26.90%、28.87%、8.21%。

数据显示,2024年上半年公司加权平均净资产收益率为11.39%,较上年同期下降0.92个百分点;公司2024年上半年投入资本回报率为6.41%,较上年同期下降0.30个百分点。

2024年上半年,公司经营活动现金流净额为447.09亿元,同比增长20.61%;筹资活动现金流净额-191.76亿元,同比减少253.62亿元;投资活动现金流净额-348.78亿元,上年同期为-121.17亿元。

进一步统计发现,2024年上半年公司自由现金流为-594.05万元,上年同期为2059638.43万元。

2024年上半年,公司营业收入现金比为133.76%,净现比为195.53%。

营运能力方面,2024年上半年,公司公司总资产周转率为0.23次,上年同期为0.30次(2023年上半年行业平均值为0.26次,公司位居同行业9/32);固定资产周转率为1.46次,上年同期为1.97次(2023年上半年行业平均值为1.18次,公司位居同行业7/32);公司应收账款周转率、存货周转率分别为2.73次、2.62次。

2024年上半年,公司期间费用为188.05亿元,较上年同期增加9.02亿元;期间费用率为11.28%,较上年同期上升1.82个百分点。其中,销售费用同比增长4.56%,管理费用同比下降2.68%,研发费用同比下降12.77%,财务费用由去年同期的-31.59亿元变为-11.83亿元。

资料显示,财务费用的变动主要因为持有的外币货币性项目受汇率变动影响。

资产重大变化方面,截至2024年上半年末,公司交易性金融资产较上年末增加222642.63%,占公司总资产比重上升2.42个百分点;应收款项融资较上年末减少20.51%,占公司总资产比重下降1.57个百分点;货币资金较上年末减少3.52%,占公司总资产比重下降1.20个百分点;应收账款较上年末减少9.25%,占公司总资产比重下降0.81个百分点。

负债重大变化方面,截至2024年上半年末,公司应付票据较上年末减少14.79%,占公司总资产比重下降1.58个百分点;预计负债较上年末增加14.58%,占公司总资产比重上升1.07个百分点;应交税费较上年末减少48.10%,占公司总资产比重下降0.79个百分点;长期借款较上年末增加6.44%,占公司总资产比重上升0.78个百分点。

在偿债能力方面,公司2024年上半年末资产负债率为69.26%,相比上年末下降0.08个百分点;有息资产负债率为18.65%,相比上年末上升1.24个百分点。

2024年上半年,公司流动比率为1.63,速动比率为1.46。

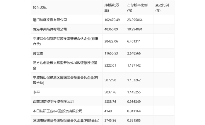
半年报显示,2024年上半年末公司十大流通股东中,持股最多的为厦门瑞庭投资有限公司,占比23.30%。十大流通股东名单相比2024年一季报维持不变。在具体持股比例上,厦门瑞庭投资有限公司、香港中央结算有限公司、宁波联合创新新能源投资管理合伙企业(有限合伙)、黄世霖、李平、本田技研工业(中国)投资有限公司、深圳市招银叁号股权投资合伙企业(有限合伙)持股有所上升,易方达创业板交易型开放式指数证券投资基金、宁波梅山保税港区博瑞荣合投资合伙企业(有限合伙)、西藏鸿商资本投资有限公司持股有所下降。

筹码集中度方面,截至2024年上半年末,公司股东总户数为23.73万户,较一季度末下降了1.29万户,降幅5.17%;户均持股市值由一季度末的334.26万元下降至333.67万元,降幅为0.18%。

指标注解:

市盈率

=总市值/净利润。当公司亏损时市盈率为负,此时用市盈率估值没有实际意义,往往用市净率或市销率做参考。

市净率

=总市值/净资产。市净率估值法多用于盈利波动较大而净资产相对稳定的公司。

市销率

=总市值/营业收入。市销率估值法通常用于亏损或微利的成长型公司。

文中市盈率和市销率采用TTM方式,即以截至最近一期财报(含预报)12个月的数据计算。市净率采用LF方式,即以最近一期财报数据计算。

市盈率为负时,不显示当期分位数,会导致折线图中断。

加载中...