新浪财经

紧急停牌后,沙特ETF大跌

财经杂志

关注

7月18日上午,两只沙特ETF临时停牌,券商提示炒作风险,复牌后冲高回落,午后出现大跌

文|《财经》记者 黄慧玲 郭楠

编辑|陆玲

此前连续两日涨停后,7月18日,两只备受市场追捧的沙特ETF(交易型开放式指数基金)冲高回落,大幅收跌。

7月16日,华泰柏瑞与南方基金旗下两只投向沙特阿拉伯市场的ETF上市,连续两日以涨停板收涨。尽管多方提示高溢价风险且提高申购额度,但降温效果不佳,溢价率超过17%。

7月18日上午,华泰柏瑞与南方基金双双发布溢价风险及临时停牌公告,并表示若溢价幅度未有效回落,将继续停牌。多家券商也向投资者发布提示称,两只沙特ETF近期溢价率较高,存在严重的市场炒作风险,同时沪深交易所将对上述证券的异常交易行为进行从严认定,并视情况从重采取列为重点监控账户、暂停账户交易、限制账户交易等自律管理措施。

7月18日午间收盘,两只沙特ETF盘中涨幅由最高时超8%回落至3%以内,午后继续下跌,截至收盘分别下跌6.66%、7.08%。

沙特ETF从大涨到跳水

近两年,全球资产配置的理念愈发深入,广大投资者越来越关注配置全球优质资产的机会,而沙特有着独特的资源优势、强劲的经济增长和近年来积极力推的转型举措,随着中沙两国资本市场加强互通,投资沙特股市成为不少投资者的期待。因此,作为境内首批可投中东市场的ETF,吸引了众多资金买入,两只产品刚上市就连续两日涨停,也引发了溢价风波。

7月16日上市当日,两只ETF以10%的价格涨幅、合计近50亿成交额、超过300%的换手率收盘。7月17日,换手率和成交额均有所下降,但仍封死涨停板。

7月17日,尽管多方提示高溢价风险,两家基金公司均提高了申购额度,但降温效果不佳,两只沙特ETF仍以涨停收盘。

7月18日,华泰柏瑞与南方基金双双发布溢价风险及临时停牌公告。

两家基金公司公告称,当前二级市场交易价格明显高于基金份额参考净值,出现较大幅 度溢价。特此提示投资者关注二级市场交易价格溢价风险,投资者如果盲目投资,可能遭受重大损失。

据公告,两只ETF均于7 月 18 日开市起至当日 10:30 停牌, 复牌后若上午收盘时二级市场交易价格溢价幅度未有效回落,或向沪深交易所申请下午开市继续停牌至收盘。

公告中也提示了溢价风险的基本原理。具体为:ETF在二级市场交易价格,除了有基金份额净值变化的风险,还会受到市场供求关系、系统性风险、流动性风险等其他因素的影响,可能使投资人面临损失。

投资沙特的好机会,同时也有风险

买入沙特ETF,被认为是与“土豪”做朋友的难得投资机会,同时也显示了中国与沙特资本市场的合作在不断深化。

2022年12月,中沙两国元首亲自签署《中华人民共和国和沙特阿拉伯王国全面战略伙伴关系协议》。2023年9月,上交所与沙特交易所在利亚德签订了合作备忘录,进一步深化两地资本市场交流。根据备忘录,双方将共同探索在交叉上市、金融科技、ESG(环境、社会和公司治理)、数据交换和研究方面的机遇,共同推进包括ETF在内的产品合作。

在两只ETF上市前夕,7月10日,证监会主席吴清会见了沙特公共投资基金(PIF)总裁鲁梅延,双方就中沙双边关系及资本市场合作等议题进行了交流。

沙特吸引投资者注意的主要原因在于,作为全球最大的石油出国口与第二大的石油产量与储备国,沙特是中东地区最大的经济体;沙特股市整体表现与全球其他主要资本市场的相关性较低,在当前全球多元化、分散化的资产配置格局中占据重要位置等。

那么,买入沙特ETF,究竟在买什么?可能存在哪些风险?

基金招募书显示,华泰柏瑞与南方基金旗下的这两只沙特ETF均以不低于90%的资产净值都投资于南方东英沙特阿拉伯ETF(2830.HK),而南方东英沙特ETF则是跟踪富时沙特阿拉伯指数。

虽然沙特以石油闻名,但沙特ETF买入的底层资产——富时沙特阿拉伯指数成分股中,并非以油气股为主。数据显示,占比最高的是金融业,高达40%以上,其次是原材料、能源、通讯、公用事业等。

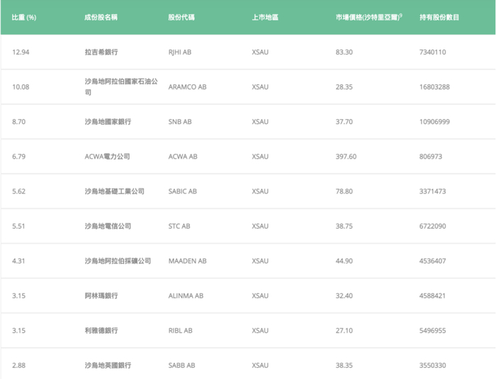
南方东英方面数据显示,南方沙特-R的重仓股包括:拉吉希银行、沙乌地阿拉伯国家石油公司(即沙特阿美)、沙乌地国家银行、ACWA电力公司等。

在南方东英沙特ETF的招募说明书中,对于沙特阿拉伯的投资风险有更具体的风险提示,包括:经济风险、政治风险、 法律及监管风险、国有化风险、新兴市场风险等。

说明书中提及,沙特阿拉伯的经济以石油出口为主导。石油价格持续下跌时可能对沙特阿拉伯经济的各个方面产生负面影响。大中东地区的任何不稳定性亦可能对沙特阿拉伯的经济产生不利影响。

此外,作为一个新兴市场,可能涉及通常与其他发达市场的投资相对而言更多考虑因素,包括流动性风险、货币管制、政治及经济不确定性、法律及税务风险、结算风险、托管风险及高度波动的可能性。由于沙特阿拉伯的交易量普遍较低,公司市值较小以及沙特阿拉伯潜在的结算困难,因此对比其他发达市场,沙特阿拉伯的投资可能流动性较差且波动较大。

Wind(万得)数据显示,今年以来南方沙特-R(82830)净值上涨2.74%,南方沙特(2830)上涨0.24%。

跨境ETF溢价普遍

这已经不是跨境ETF第一次被炒作。

今年以来,日经指数、印度、纳斯达克指数等相关上市QDII基金溢价轮番推高。截至7月17日收盘,多只QDII的场内溢价率依然高企。

从上表可以看到,上市基金中,当前溢价率最高的便是两只沙特ETF,此外,易方达黄金主题、景顺长城纳斯达克科技市值加权ETF的溢价率也超过了13%。

为什么部分QDII溢价率居高不下?业内人士表示,外汇额度有限、限制申购的情况下,投资者若想参与投资,只能从二级市场买入。在市场情绪高涨的情况下,价格自然水涨船高。此外,沙特ETF的T+0交易机制也促进了场内交投的活跃。

有业内人士向《财经》表示,资金对沙特ETF的炒作热情首要原因或在于标的的稀缺性和前期较高的市场关注度。

而从抖音、小红书等社交网络平台上可以看到,关于沙特ETF的讨论非常热烈。有的投资者将其等同于沙特阿美,也有的将其类比为沙特版长江电力。虽然也有部分博主提示了溢价风险,但留言更多在讨论“还能不能上车”。

加载中...