新浪财经

半年22家退市!还有20多家在路上,七成因为这个……

IPO国金

关注

随着资本市场的发展改革,退市制度逐步深化,常态化退市机制也逐步形成。

Choice金融终端显示,2024年至今,已经有22家上市公司退市,去年同期为27家。其中,21家是A股上市公司,1家是B股公司,这家B股公司还是首个触发“市值退市”的公司。

那么,具体有哪些企业退市?又有哪些企业正在退市的路上?这些公司退市的主要原因是什么?

面值退市为退市主因

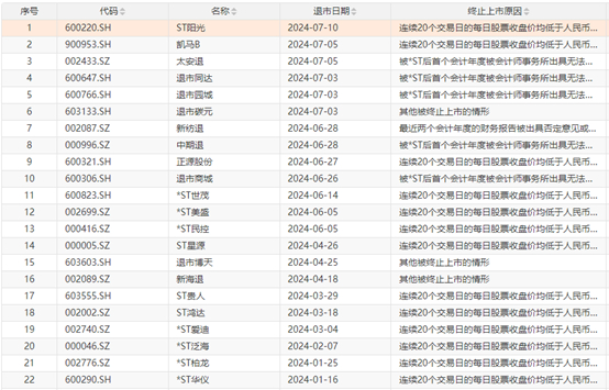
据IPO日报不完全统计,截至7月10日,今年已有22家公司完成退市,另有22家公司锁定退市。

数据显示,去年同期有27家公司完成退市,全年共46家上市公司退市。

虽然相较于去年同期,退市公司数量有所下滑,但是算上已经锁定退市命运的公司,预计今年全年退市公司数量将有所增长。

在22家已经退市的公司中,退市博天和新海退等2家公司触及重大违法强制退市,13家触及面值退市,7家公司触及财务类退市情形。

在22家锁定退市命运的公司中,18家公司触及面值退市情形,3家公司触及财务类退市情形,还有1家公司触及市值退市情形。

在这44家公司,31家是因为触及面值退市而退市或即将退市,占比高达70.45%。可以看出,面值退市仍为公司退市的主要原因。

具体来看触及财务类退市情形的3家公司,*ST左江因2023年净利润为负值且营业收入低于1亿元并且公司2023年年报被审计机构出具“非标”审计意见,交易所拟终止公司股票上市交易;*ST越博、*ST三盛则因公司未在法定期间内披露2023年年报,交易所拟决定终止公司股票上市交易。

首只市值退市股

6月14日晚间,建车B(重庆建设汽车系统股份有限公司200054)公告,截至6月14日当天,公司股票收盘市值为1.33亿元,连续二十个交易日每日股票收盘市值低于3亿元,已触及深交所《股票上市规则》第9.2.1条第一款第(七)项规定的交易类强制退市指标。

根据相关规定,公司股票将于6月17日起停牌,且将被终止上市交易。

2020年底,退市新规出台,新增“3亿元市值”退市指标,与“面值退市”指标共同构成交易类退市标准。

需要指出的是,至今尚未有公司触及市值退市指标。因此,建车B将成为首个“市值退”案例。

建车B系中国兵装集团旗下上市公司,1995年在B股上市,2015年实施重大资产重组,主业由摩托车变更为汽车空调压缩机。近5年来,公司扣非后归母净利润持续亏损。拉长时间线来看,公司股价更是从2016年开始就持续走低。

除建车B以外,近期,还有*ST深天、宁通信B、*ST美讯等多家公司均因为触及“市值退市”指标,相继发布可能被终止上市的风险提示公告。

此外,新“国九条”出台后,沪深两大交易所也修订完善了相关退市规则。

在交易类退市指标中,主板A股(含A+B股)公司的市值退市标准,将自10月30日开始从3亿元提高至5亿元,4月30日至10月30日为过渡期,市值退市标准仍为3亿元;B股、创业板及科创板公司的市值退市标准维持3亿元不变。

沪深两大交易所均表示,对“壳”公司重大资产重组进行精细化监管,从严监管因缺乏持续经营能力而触及收入利润指标被实施“退市风险警示”(*ST)的公司、濒临交易类退市指标的公司筹划重大资产重组,严防违规“保壳”“炒壳”。

这些公司退市风险大

除了上述44家公司官宣退市结局, 还有一些公司也站在了退市的边缘线上。

截至7月10日收盘,A股市场共有14家公司的股价小于等于1元,有117家公司股价在1元到1.5元之间(不包括停牌公司)。

其中,*ST天成于2024年7月10日收盘价为0.96元/股,公司股票已连续13个交易日的收盘价低于1元。

*ST景峰于2024年7月10日收盘价为0.97元/股,公司股票已连续13个交易日的收盘价低于1元。

东方集团7月10日的收盘价为0.8元/股,已连续13个交易日的收盘价低于1元。

截至2024年7月10日,海印股份股票收盘价为0.75元/股,已连续12个交易日低于1元。

截至2024年7月10日,ST鼎龙股票收盘价为0.78元,已连续16个交易日低于1元/股,公司股票存在可能因股价低于面值被终止上市的风险。

IPO日报计算发现,即便ST鼎龙在接下来的4个交易日内持续涨停,其股价也仍低于1元。这意味着,ST鼎龙将触发面值退市,提前锁定退市名额。

需要指出的是,一些面临退市风险的公司,即便短期解除了眼前的退市危机,但是长远来看,其股价仍在退市边缘线上徘徊。

截至2024年6月27日,*ST贤丰的股票收盘价已经连续16个交易日低于1元。6月28日,*ST贤丰涨停,股价收报1.03元,暂时解除危机。但目前,公司已经连续两日跌停,7月10日的收盘价为0.91元。

截至7月10日收盘,A股市场共有6家公司的市值小于3亿元。

加载中...