新浪财经

硬刚!国元信托申请强制执行潍坊城投背后

市场资讯

关注
听新闻

转自:金石杂谈

近些年,信托雷声遍地,各大城投也是步履蹒跚、违约不断。最近国元信托硬刚潍坊城投,无疑是其中代表,一个是暴雷不断、业绩滑坡,一个现金流紧张、维权事件频发。

6月12日,潍坊滨城建设集团有限公司新增一条执行人信息,执行金额2亿元,原因是潍坊滨城建设集团有限公司未能偿还到期债务,而潍坊滨海旅游集团和潍坊滨海央城开发建设为担保人,因此被一起列为被执行人。

国元信托潍坊滨城项目规模2亿元,期限24个月,首期成立于2021年5月26日,已于2023年5月26日到期,延期超过2年。

由于长时间延期,迟迟未能还款,国元信托在安徽合肥将潍坊三大城投诉诸法院,最终一审胜诉,滨海建设随即上诉,2024 年4月9日,安徽省高级人民法院驳回上诉,维持原判。

现在大家关注的是,在滨海新城等三家城投被强制执行后,是否真的能拿回欠款?不过,在被执行2亿元之前,国元信托已经将担保方滨海旅游集团所持潍坊银行2.1亿元股权进行了司法冻结,国元信托此次可谓双管齐下。

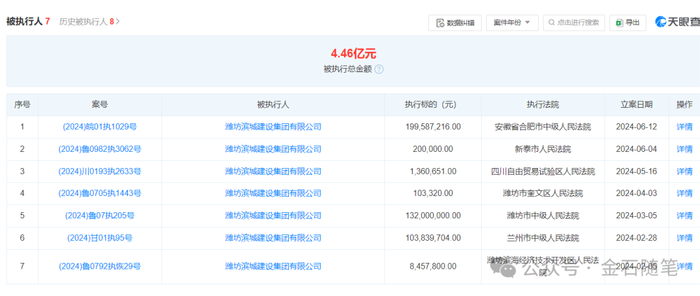
不过,即便如此,也不容乐观。1)本次违约主体滨海建设仅今年以来就因纠纷被7次列为被执行人,被执行金额4.46亿元,其他诉讼纠纷不断。

2)账上货币资金从去年的9.06亿骤降至1.48亿,但短期借款及1年内到期的借款就高达11.5亿;营收从2.29亿骤降至0.26亿,下降幅度高达88%,不过利润没有下降很多。

至于本次被冻结股权的滨海旅游集团,被执行金额4.4亿,有10次被列入被执行人。2023年9月因未及时偿还平安信托宏泰八百三十四号集合资金信托计划本息200多元的贷款,竟然冻结了滨海旅游在潍坊银行1.7亿元的股权。

此外,财报显示,滨海旅游集团2023年营收从49.58亿降至2023年的41.75亿元,但归母净利润则从1.24亿转为亏损0.87亿。该公司的账上现金从9.04亿锐减至23年的2.68亿,短期借款大幅减少但依然高达9亿元。

可以说潍坊城投们资金链状况堪忧,业绩下滑的又非常惨烈,如何偿还欠款是个难题。另一边厢,国元信托此次可以说是直接硬刚潍坊三大城投,除了2亿元欠款未还,还有就是国元信托暴雷不断,业绩同样惨不忍视。

国元信托,坐落于安徽省合肥市,为15家省属政府控股的信托公司之一,是安徽省内唯二的信托公司之一(另一家为建信信托)。国元信托素有“国企+央企”信托之称,这里的“国企”指的是国元金控,“央企”指的是深圳中海。

近两年,城投债问题此起彼伏,各大城投也上演违约不还的戏码,国元信托正是信托公司中倚重政信类项目的代表,2019年财报显示,国元信托公司基础产业占比近一半,而地产占比极少。截至目前,国元信托基础产业占比依然超过34%。随着贵州城投雷声四起,从2019年开始被一直被视作“乖孩子”的国元信托旗下信托产品就接二连三暴雷。

2019年,国元信托首只逾期产品“国元安盈201702003号集合资金信托计划”续期又到期后,再度出现违约,事涉云南城投仅2019年下半年,国元信托“安盈系列”5单地方政信项目集中“踩雷”,其中4个融资方在贵州省内,共涉及资金约5.5亿元。

大家看,2019年部分产品暴雷之后,国元信托信托纠纷就没停过。最近一笔信托纠纷,韩城金融控股集团有限公司与安徽国元信托有限责任公司相关民事信托纠纷,事涉陕西省韩城城投,目前尚处于一审状态;

2023年10月份,国元信托和南京第四建筑工程的信托纠纷,源自踩雷丰盛系,而丰盛的问题又源自恒大拖欠工程款,丰盛背后实控人为曾经的江苏首富季昌群。

丰盛集团从2019年债务危机爆发,彼时南京高科为其28.5亿信托贷款提供担保,当时还爆出,南京地方城投平台南京新港对丰盛系还有高达45亿元的暗保。截至2021年底,丰盛控股对恒大集团联营公司投资确认减值亏损13.63亿元,这直接导致丰盛控股利润亏损扩大至26.85亿元。

2019年11月,国元信托将丰盛系南京第四建筑集团诉诸法院,2023年4月法院将季昌群列为被执行人,仅国元信托这一笔就被执行11.5亿,4年过去了依然未有偿还,季昌群也沦为老赖。不出意外,国元信托这11.5亿将成为坏账。

最后,大家一起看看国元信托这几年的成绩单,雷声遍地之下,国元信托2023年实现营收66.3亿,实现信托利润56.93亿元,同比继续下降,较2019年营收、利润双双腰斩,彼时营收高达125亿,而利润高达114亿。

加载中...