新浪财经

中国昔日最牛超市,突然暴涨!

投资家

关注

来源:投资家

作者 | 锐眼哥

从2012年开始中国两大线下零售品牌苏宁和永辉开始疯狂融资、跑马圈地,结果十年后这两大零售巨头都陷入了持续的巨亏和债台高筑的窘境。

今年以来,一直偏安一隅的许昌胖东来,先是带领团队“爆改”线下商超步步高,再带团队“拯救”永辉超市,于东来能让如今的永辉起死回生吗?

学习胖东来,股价连续大涨

自有胖东来“爆改”永辉、帮扶永辉、“拯救”永辉等报道出现以来,永辉超市二级市场股价开始持续反弹,今年以来较低位已经反弹超35%,也是从其历史最低点反弹的,最新市值262亿,较辉煌时最高1107.3亿市值暴跌超845亿

梳理胖东来与永辉这个事,大致是以下这么个过程:

4月24日,胖东来创始人于东来在一个视频中表示,胖东来原本去年计划挣2000万,没想到年底挣了1.4亿,胖东来员工在扣除社保后最低收入7600多元,员工工资普遍在8000元以上。

5月7日,胖东来创始人于东来、永辉创始人张轩松在郑州四家永辉超市门店探场,据称是联商东来商业研究院筹划且即将实施的一项“帮扶计划”。

5月8日,有消息报道,胖东来启动对永辉帮扶,但永辉对此回应:进展不方便透露。当天永辉超市二级市场股价跳空高开,放量4-5倍强势涨停。

5月27日,河南永辉超市官微正式发布门店调改公告,第一家调改门店为郑州永辉信万广场店。该公告显示,永辉超市因之前的企业管理和经营理念不成熟,没给顾客带来实实在在的商品,在胖东来、青海一家亲的帮扶下,从商品、价格、环境、员工等多方面进行调改。

或许是受此消息刺激,永辉超市二级市场股价自5月28日以来持续上涨,近两个交易日持续大涨,5月31日大涨9.58%、6月3日涨停

3年巨亏超80亿,拿什么还430亿债务?

大家有兴趣的可以自己去河南永辉超市公众号看看那篇调改公告,从这个公告可以看出,这次河南永辉的姿态确实放的很低,又是承认自己“经营理念不成熟”,又说“对不起”的,总之很有态度。

希望在本来计划一年挣2000万却挣了1.4亿的胖东来的“帮扶”下,永辉超市真的能有所改善!

但是,不得不认清的一个现实是,永辉目前的问题恐怕不是向胖东来学点“经营理念”、“爆改”几个门店就能解决的

冰冻非一日之寒。要知道,永辉会走到今天这个地步,几乎完全是自己作的。

张轩松是如何创业起家,永辉是如何做到全国超市零售巨头的故事这里就不多说了,重点说一说在布局国内新零售的过程中,永辉是如何把自己逼上“绝路”的。

时间还是要先回到2012年“百团大战”那个时候,上百家外卖平台激战正酣,阿里腾讯、京东等互联网巨头突然瞄准了O2O新零售方向。

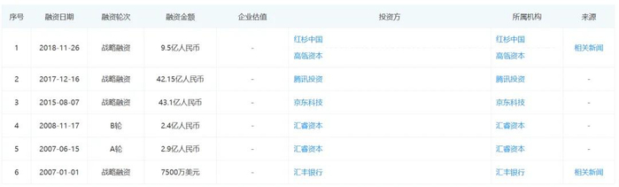
2015年京东对永辉战略投资43.1亿,2017年腾讯对永辉战略投资42.15亿,与此同时,永辉从2013年到2016年在A股通过定向增发累计募资超130亿,这就是200多亿资金了。

拿到这么多钱的永辉,自然是开始疯狂的扩张门店做大规模。

2012年永辉全国门店数量249家,2016年增加到487家,2019年已经扩张至约1600家门店,堪称中国最牛超市。门店快速扩张,永辉各方面的规模也在扩张,特别是负债扩张的最快,这里面最突出又是应付货款负债以及门店租金负债!

(数据来源:同花顺网站)

2012年时永辉的总负债还不到65亿,到2021年其负债总额已经扩张到600多亿,负债率也已经飙到了84.47%。然而,当年的经营情况如何呢?

2021年是永辉上市以来首亏之年,没想到首亏就爆亏近40亿。与此同时,永辉当年账上的现金余额(包括货币资金和交易性金融资产)只有107.24亿。

一边是不断增长的巨额负债,一边是巨额亏损的经营实现。对于永辉的危机,这已经不是拉响警报了,而是最后通牒、病危通知了!

2021年开始,永辉喊出了“聚焦主业,缩小对外投资规模”的转型口号。从过去几年的结果来看,永辉的转型还是初见成效的,亏损额度减少了、负债整体下降了、门店从1600家降至1000家左右,但仍然还在高负债和亏损的泥潭里面。

到今年一季度末,永辉总资产498.83亿、总负债432.23亿,对应资产负债率高达86.64%,而账上现金只有75.88亿,资金紧张程度依然没有太大改善。

不过,好消息是,今年一季度永辉终于扭转了之前连续3个季度亏损的情况,实现了7.36亿的净利润,这里面扣非净利润有5.99亿,这说明只要不再盲目追逐规模扩张,永辉还是能够经营好的。

但是,对于永辉来说,除了好好经营主业之外,目前最大的任务恐怕还是偿还之前盲目扩张欠下的债!

张氏兄弟5年套现超56亿

然而,还有一个问题,永辉低头向胖东来学习“经营理念”没有问题,缩小门店规模、降低负债也没问题,问题在于,如何让外界相信曾让永辉成为中国最牛超市的张氏兄弟。

张轩松、张轩宁两兄弟是永辉超市创始人、老板,永辉走到今天这个地步他俩有不可推卸的责任,但实际上他俩是怎么干的呢?

同花顺i问财数据显示,永辉上市以来股东累计减持套现金额超100亿,其中张氏兄弟套现金额就超56亿。更让人难以置信的是,有近40亿的套现金额是在永辉最艰难的最近2-3年减持套现的!

具体来看,2014年张轩宁减持套现6897万元,2018年张轩松减持套现超18.8亿,2021年张轩松减持套现超22.81亿,2022年张轩松减持套现超8.06亿,2023年张轩松减持套现超2.99亿、张轩宁减持套现超3.33亿。

这样的情况,让人如何相信永辉还会变好?于东来、张轩松是走到了一起,胖东来是用自己独特的经营理念在“帮扶”永辉,但是,在永辉这艘巨轮在最危难的时候,“船长”张轩松竟然选择了“弃船”抛售永辉股份,用二级市场股民的钱来填充自己的腰包,而不是努力重新把永辉经营好,用永辉实实在在的经营业绩给投资者一个说法。

如果张氏兄弟再继续减持的话,那恐怕永辉就真的没救了!

加载中...