新浪财经

华为向北汽新能源转让“享界”商标,北汽蓝谷回应

21世纪经济报道

关注

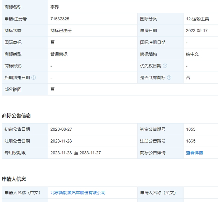
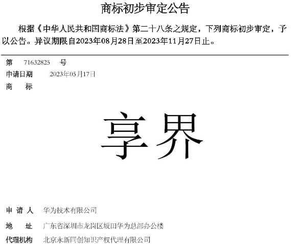
天眼查APP显示,近日,华为技术有限公司将其注册的运输工具类“享界”商标转让给北京新能源汽车股份有限公司(简称“北汽新能源”)。

该商标系华为于2023年5月申请,11月完成注册。

据了解,上市公司北汽蓝谷(600733.SZ)的主要业务及资产由子公司北汽新能源构成,享界S9由该公司与华为深度合作,共同打造。

南财快讯记者以投资者身份致电北汽蓝谷询问商标转让一事,相关人士表示,华为将“享界”商标转让给北汽新能源目的是给"享界s9"使用。

记者注意到,北汽蓝谷第一季度业绩说明会会议记录显示,享界S9已在北京车展亮相,预计7-8月份正式上市。

余承东微博显示,享界S9是鸿蒙智行旗下首款行政级豪华旗舰轿车,定位为D级豪华轿车。享界汽车官微显示,有网友评论称,“享界S9作为深度智能赋能的纯电轿车,填补了大型豪华新能源轿车市场的空白。”

值得一提的是,去年12月,华为申请多枚“享界”商标,国际分类包括广告销售、教育娱乐、金属材料等,当前商标状态均为“注册申请中”。

加载中...