新浪财经

1.56亿元成交!谁接盘了“巴龙系”的青岛农商行5千万股股权?

市场资讯 2024.05.23 19:32

来源:独角金融

作者 | 郑理

青岛前首富姜俊平控股的巴龙国际集团有限公司(下称“巴龙集团”),又拍卖了青农商行002958.SZ;或称“青岛农商行”)5512万股股权。

5月20日,因债务原因,青岛市崂山区人民法院对青岛农商行股东巴龙集团所持该行的5512万股份在阿里巴巴拍卖平台被司法拍卖本次拍卖所展示的评估价格为1.49亿元,起拍价1.55亿元。经过一天的竞逐,在3名出价者中,上海楷巨信息科技有限公司(下称“楷巨信息”)以出价1.56亿元竞拍成功。

而让外界好奇的是,姜俊平旗下的“巴龙系”,近年持有青岛农商行的股权频遭拍卖,背后究竟出了什么事?此外,“巴龙系”2022年从青农商行借来的近9亿元资金,已经逾期一年之久,对于资金链紧张的“巴龙系”而言,与青农商行的借款要靠什么偿还?

1

买家半年内3次竞拍,持股2家上市公司

银行作为吸纳资金的特殊金融机构,其股东股权的变动自然会受市场高度关注。

此次“巴龙系”拍卖涉及的股占巴龙集团所持青岛商行全部股份比例为42.1%,占青岛商行全部股份比例为0.99%。

这并非巴龙集团首次拍卖青岛农商行股份。

2023年5月24日,青岛农商行公告称,因债务问题,青岛市黄岛区人民法院公开拍卖了该行股东巴龙国际集团有限公司、巴龙国际建设集团有限公司所持该行的部分股份,涉及巴龙集团持有的6012万股股份,占青农商行总股本的1.08%;以及巴龙建设持有的1873万股股份,占青农商行总股本的0.34%。不过,当时的拍卖因为无人出价而流拍。

2023年12月16日,巴龙国际集团持有的青岛农商行3400万股无限售流通股被挂上京东司法拍卖平台,该笔股权经过237轮紧张竞拍,最终拍出了8719.1万元的价格。

此次股权拍卖成功后,后续还有缴款、股权变更等环节

独角金融梳理发现,接盘方楷巨信息成立于2017年9月主营业务为软件开发和信息技术服务,公司由两名自然人股东持股,实控人为郑志坚,持股比例70%,吴晓敏持股30%。2021年-2023年,公司参加缴纳社保人数仅有2人。

巨信息通过竞拍成为公司股东的事件,并不止这一起。

*ST榕泰披露的一份执行裁定书显示,兴业银行汕头分行就其与*ST榕泰、*ST榕泰旗下公司、揭阳市兴盛化工原料有限公司、揭阳泰禾房地产开发有限公司等借款纠纷案,向法院申请拍卖兴盛化工持有的*ST榕泰1667万股无限售流通股票,2023年12月19日,楷巨信息以5895.58万元的出价竞得该笔股权

同时,该股东又因与工商银行揭阳分行存在借款纠纷,以839.8万元竞得231.42万股股权。股权转让完成后,楷巨信息总计持有*ST榕泰2.7%的股份。

*ST榕泰业务以IDC业务(互联网数据中心)的轻资产运营模式为主。而在发展过程中,公司连续两年年报虚增利润、连续三年业绩亏损(2023年转亏为盈利)、董事长还曾被采取3年证券市场禁入措施等诸多问题爆发后,2023年12月25日,*ST榕泰重整计划获得揭阳市中级人民法院批准。

2

青岛前首富从“买买买”到“断舍离”

“巴龙系”掌门人姜俊平,曾是青岛前首富。1991年,姜俊平创立专注高端商务服饰及职业装的巴龙国际服饰集团。1997年,巴龙建设集团成立,进入房地产开发、房屋建筑、市政等领域。

2009年,姜俊平以31.7亿元的资产,登上福布斯中国富豪榜;彼时,根据公开信息,巴龙集团以大股东身份投资青岛、济南、烟台、潍坊、长岛5家农商行,拥有6000亿金融资产;2013年,新财富500位富人榜”出炉,青岛共有3个家族选入这一榜单中。其中姜俊平以52亿元的财富排在第232位,进入到岛地区首富榜单中。

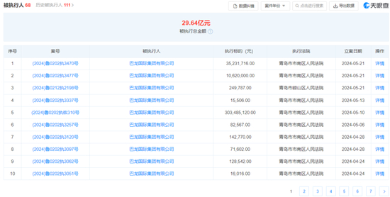
2022年下半年,“巴龙系”流动性风险逐渐暴露。天眼查APP显示,仅巴龙集团一家公司,被执行总金额就高达29.64亿元,姜俊平还多次被法院下达限制消费令,所持青岛农商行、巴龙建设、巴龙服饰、巴龙地产等股权显示为出质状态。

2023年3月16日,巴龙集团于公众号“央联万贸”发布一则声明显示,其总资产约为73亿元,其中房产、持有的金融机构股权价值分别约32.8亿元、40.2亿元,金融机构贷款49亿元,负债率约67%。

在上述的声明中,巴龙集团曾明确表示,公司“资产优良、保值增值空间较大,资产远大于负债,不具备破产重整的条件。我们一定信守承诺,全力以赴,尽快分期偿还所有债权人的款项。”

对于造成公司资金紧张的原因,巴龙集团表示,2017年,青岛港巴龙生活消费品集散中心项目启动,为了确保这个民生工程早日建成,巴龙集团在租赁的土地上先行开工建设,并且将全部自由资金投入项目建设。

巴龙集团进一步指出,由于多种原因,在长达5年多的时间里,一直没有解决土地这一“瓶颈”问题,造成建筑物和土地长期分离,项目无法正常融资,导致公司资金长期紧张,无力偿还项目工程款和短期拆借的民间借款。

除了被限制消费,巴龙集团还遭遇员工讨薪。2023年1月8日,巴龙集团曾发布《关于集团积极筹措员工薪资的说明函》,对近期未能及时发放薪资向员工们道歉。

此外,2023年8月,上海票据交易所发布《截至2023年7月31日持续逾期名单》,2023年7月1日开始,巴龙集团持续逾期,累计逾期发生额为704万元,逾期余额为60万元。当月,巴龙国际服饰集团开始持续逾期,累计逾期发生额约为8126.56万元。

资金链危机没有解除,“巴龙系”旗下银行股权频被拍卖。

值得注意的是,作为青岛农商行昔日第三大股东,“巴龙系”两家公司在青岛农商行合计高达9.17亿元的借款逾期未还。其中巴龙国际建设集团涉及3.68亿元、巴龙集团借款5.5亿元未还。青农商行向法院申请强制执行,要求“巴龙系”偿还本金及逾期利息、罚息、复利等,并已对上述贷款计提了相应贷款损失准备。

对于青农商行发布的相关诉讼公告,IPG中国首席经济学家柏文喜曾认为,这是上市公司涉及重大事件与重大事项必须的信披责任,也是就自身运行状况、可能的风险向公众投资者的必要通报,是上市公司管理层勤勉尽责的职责所在,至于对青农的具体影响还要看诉讼结果如何。

“巴龙系”在青岛农商行的逾期借款,会通过何种方式偿还?对此,青岛农商行称,“巴龙系”借款前有抵押物,但处置资产需要一定的时间。

截至2023年末,仅巴龙集团还持有青岛农商行1.65亿股股份,且均处于质押、标记或冻结状态。

3

青岛农商行资产质量提升

青岛农商行成立于2012年6月,是在原青岛华丰、城阳、黄岛、即墨农村合作银行和胶州、胶南、平度、莱西农村信用社联合社以及青岛市联社基础上,以新设合并方式组建而来。2019年3月在深交所上市,成为全国最年轻的A股上市行。

据2023年报信息显示,青岛国信发展(集团)有限责任公司持股9.08%,青岛城市建设投资(集团)有限责任公司持股9.05%,分别为第一、二大股东,巴龙集团以2.97%的持股比例,位列该行第七大股东。在此之前,巴龙集团和巴龙国际曾合计持股7.16%,位列该行第三大股东。

从业绩表现看,该行2023年实现营业收入103.25亿元,同比增长3.84%;归属于母公司股东的净利润为25.68亿元,同比增长10.82%。

具体看青岛农商行2023年的营收组成,该行利息净收入为营业收入的主要来源,占总营收的比例为71.2%,利息净收入为73.56亿元,较上年减少4.83亿元,降幅为6.17%。

对此,青岛农商行表示,主要原因是由于让利实体经济、市场利率下行、贷款重定价效应、存量房贷利率下调等因素,生息资产平均收益率较上年下降0.29个百分点。

截至2023年末,青岛农商行的资产规模达到4679.37亿元,增长7.62%。进入到2024年一季度末,青岛农商行资产规模为4738.58亿元,较年初增加59.21亿元,增长1.27%。

2023年青岛农商行发放贷款和垫款总计为2558.45亿元,四个季度分别增长48.9亿元、66.52亿元、13.75亿元和27.44亿元。截至一季度末,该行发放贷款和垫款总额为2597.8亿元,同比下降近20个百分点,不过较2023年底增加39.35亿元。

此外,青岛农商行去年信用减值损失46.62亿元,同比减少0.38亿元。在年报中青农商行表示,发放贷款和垫款信用减值损失是信用减值损失最大组成部分。2023年,青岛农商行计提的发放贷款和垫款信用减值损失为45.13亿元,较上年同期减少0.85亿元。

资产质量方面,不良贷款余额与不良贷款率双降。报告期末,青岛农商行不良贷款余额为46.42亿元,较上年末下降6.18亿元,降幅11.75%,不良贷款率为1.81%,较上年末下降0.38个百分点;拨备覆盖率237.96%,较上年末提高30.33个百分点。一季度末,该行不良贷款率1.8%,较上年末下降0.01个百分点;拨备覆盖率233.17%,较上年末下降4.79个百分点。

青岛农商行时隔一年,重启分红。年报显示,青岛农商行2023年的利润分配预案为计划向普通股股东每10股派发现金红利1元(含税),以该行目前总股本推算,将现金分红5.56亿元,此分红金额位于当前已披露利润分配预案的A股上市银行的中下游。

作为全国最年轻的股份行,未来青岛农商行将走向何方?我们拭目以待。你看好青岛农商行吗?评论区留言讨论吧。

加载中...