新浪财经

锁定退市,南通前首富“无力回天”,11万股民无眠!

每日经济新闻

关注
日k线图

日k线图

原标题:锁定退市,南通前首富“无力回天”,11万股民无眠!其个人年薪曾高达千万元,如今官司缠身,已被限制高消费……

每经编辑 程鹏    

0.56元!

这是ST中南(000961.SZ)最后的收盘价。5月8日是ST中南连续第20个交易日收盘价低于1元,15年的A股浮沉之路,ST中南以“面值退市”迎来终局。

5月13日晚,ST中南公告称,公司收到深交所《事先告知书》,因公司股票在4月3日至5月8日期间,连续20个交易日的每日收盘价均低于1元,触及交易所股票上市规则相关规定的股票终止上市情形,深交所拟决定终止公司股票上市交易。

尽管根据相关规则,公司有权申请听证或者提出书面陈述和申辩,但按照以往惯例,公司大概率再难回天。截至4月30日,公司股东户数约为11.35万户。

中南建设是A股老牌上市房企,成立于1985年,自2009年在深交所挂牌交易,至今已经有15年。尽管不如万科、碧桂园等“宇宙房企”全国知名,但中南建设在江苏南通当地具有举足轻重的地位。2020年,中南建设销售额在全国开发商中排名第14,创下纪录,创始人陈锦石也在当年凭借140亿身家成为南通首富。

据中国房地产报报道,“28人携手创业,砥砺前行;35年逐梦不止,壮怀未已……”这是中南建设官网上“心启未来”宣传片的一段,是属于中南建设的故事。故事之外,房地产行业从“黄金时代”走进“青铜时代”再坠入“冰点”, 复苏之路坎坷且漫长。从出险到退市,ST中南只用了两年时间。期间也通过政府站台、增持、引战投等一系列措施试图打赢面值保卫战,最终也没能阻止深交所对中南建设关上大门。

从中南建设到ST中南

曾积极自救

0.94、0.89、0.85……一直到最后的0.56元/股,ST中南股价一路下跌,11万股民的心也跟着揪了起来。

“不卖就不算亏,谁知道哪天就翻身了”“已经亏了91%,即使现在出手也没意思”……中南建设危险的股价走势,使得大量中南股民涌入了东方财富股票社区“股吧”,他们聚在一起讨论着彼此亏了多少钱,以及这只股票未来的可能走向。

中南建设也不甘愿退市。中南建设曾进行过一系列挽救措施,以保上市公司之壳。

早在今年2月,中南建设就公布了部分董事及高管自愿增持股份的公告,包括施锦华等在内的6名董事高管,计划自2月8日起6个月内,通过二级市场增持500万~1000万元股份。

高管增持可以提升市场信心、拉升股价,是上市公司保壳的常见方式。公司最新公告称,截至5月8日,有关人员增持公司股份合计682.8700万股,占公司总股份的0.178%,增持金额合计约484万元。高管增持曾让公司短暂脱离了退市危机,但适逢年报与一季报发布的敏感期,高管未能实施增持,公司股价再次一蹶不振,并由此锁定了面值退市。

另一个保壳的手段是引入战略投资。

中南建设还迎来了“白武士”相助。4月20日,由南通市海门区政府牵头,中南建设控股股东中南城建与亚洲著名私募股权投资公司太盟投资集团(PAG)及江苏资产等机构洽谈债务化解、股权交易等合作。

4月22日,深交所向中南建设下发关注函,要求中南建设披露与太盟投资合作真实性等信息。或受此消息影响,4月22日,中南建设开盘迎来“一字板”涨停,收盘价报0.84元/股。当日晚间,中南建设第三次公告提示有可能退市。

紧随一个涨停板后,中南建设发布2023年报,公司连续3年亏损,4月23日中南建设停牌一天,4月24日复牌,中南建设“一字板”跌停,并被实施“其他风险警示”,股票简称由“中南建设”变更为“ST中南”。

在回复深交所问询函的公告中,中南建设确认了与太盟投资等合作事相的真实性。“目前双方仅就合作的可能性进行探讨,无具体的方案或推进计划。该事项尚处于筹划阶段,对公司影响具有重大不确定性。”中南建设方面表示。

此后,ST中南再无回天之力,股价开始“跌跌不休”。

4月26日,ST中南发出关于面值退市的第五次风险提示公告。5月8日开盘,ST中南股价停留在一条0.56元的直线,总市值仅剩21.43亿元,陈锦石和他的中南建设不得不面对被摘牌的命运。

据证券时报,ST中南董事长陈锦石的最近一次公开露面,是在4月23日公司举办的2023年度投资者交流会,一起出席的,还有包括陈锦石之女、ST中南总经理陈昱含在内的3名高管。据悉,陈锦石在会上给出判断:目前行业已在底部,但预计还将调整一段时间,需要有更多的政策落地,市场才会改善。

陈昱含在过往业绩会上多次表达ST中南不躺平的决心。在这次交流会上,陈昱含再次重申,公司会克服种种困难,绝不躺平退缩,扎扎实实把房子按计划、按品质交付好。

据中国房地产报报道,事实上,自发生流动性危机以来,中南建设一直在全力自救,通过出售资产、剥离物业和酒店等业务、引进华融和信达等AMC合作、和债务人商谈展期、推进债务重组等方式。

在企业自救的同时,作为南通市重点上市公司,当地政府也在全力进行帮扶。今年2月7日,南通市金融局、海门区政府专程到中南调研,并进一步出台了七大方面的纾困举措,包括组建政府资本市场政企专班、进一步协调中南建设与金融机构沟通化解债务、推进本地国资建筑企业与中南建设合作、支持社会资本通过市场化机制设立投资基金引入战略投资者增持中南建设股份、加大中南建设资产盘活帮扶力度、帮助中南建设股东与金融机构沟通化解股权质押风险、加快推进中南建设“白名单”项目落地、支持保交楼等措施。

“这些举措,对于我们走出困境将起到极大作用,而举措的落地速度也非常快。”陈昱含说,2024年我们仍然会加大与地方政府的沟通力度,包括业务拓展、债务化解、资产处置、风险化解、交付保障等多个方面,我们也有理由相信将会得到更多纾困支持。

截至2023年12月末,中南建设有息负债432.6亿元,比2022年末减少42.9亿元。其中一年以内的有息负债合计227.3亿元,比2022年末减少4.8亿元。有息负债占总资产的比重19.06%。2023年11月以来,中南建设发行存续的公司债券都已完成展期5年。

虽然短期经营发展存在困难和压力,但中南建设的管理层对未来依然保持信心。陈锦石曾在接受中国房地产报记者采访时表示,做企业不容易,把企业从小做大再做强,30多年靠的就是实干精神,以及谨慎应对市场的态度。

昔日千亿房企

ST中南成长于建筑之乡——南通市,也是该市最大规模房企。中南集团老总部大楼中南大厦建立在海门镇,周围“没有一座与之匹敌的高层建筑”。司参建过鸟巢、国家大剧院、北京大兴国际机场、中央电视台总部大楼国家项目

19年前,中南建筑以“蛇吞象”的气概,拿到了南通CBD项目,建筑面积达278.65万平方米,这是中南建设的成名之战。在一次采访中,陈锦石说,南通那时候比别人发展得慢,别人不敢做,我敢做。

2009年,公司完成在深交所上市。

2015年,陈锦石决定将地产业务向一二线城市集中,业务最终遍及全国26个省、160多个城市。

2016年,公司搭上了棚改的时代红利,销售规模直奔2000亿元。

在业绩巅峰期的2020年,公司曾公告实现合同销售金额超2200亿元。

然而,随着房地产行业出现较大变化,公司来不及收缩规模,随后便陷入危机。2021年,公司营业收入达792.11亿元,但归属母公司净利润亏损33.82亿元;2022年,公司亏损幅度加大,实现营业收入590.36亿元,归属母公司净利润亏损91.71亿元;2022年,公司继续亏损,实现营业收入684.88亿元,归属母公司净利润亏损52.93亿元。

今年以来的业绩仍未明显改善,公司一季度实现营业收入98.72亿元,归属母公司净利润亏损6.01亿元。

ST中南还发布了2024年4月份经营情况,公告显示,在房地产业务方面,ST中南2024年4月合同销售金额17.1亿元,销售面积13.9万平方米。1—4月,累计合同销售金额64.4亿元,销售面积54.3万平方米,同比分别减少59.9%和59.6%。

5000元起家,个人年薪曾达千万

身家最高达140亿元

公开资料显示,中南集团的创始人、董事长陈锦石,1962年10月生于江苏南通,复旦大学EMBA,香港城市大学DBA博士,高级工程师,是杰出的民营企业家,慈善家。

公司官网

和碧桂园杨国强一样,陈锦石也是建筑工起家。

1988年初,公司创始人陈锦石带领28人,怀揣东拼西凑来的5000元资金,远赴山东东营,挂靠海门平山乡五大队劳务资质的分包工程队,从包清工做起,踏上艰难的创业之路。

1988年1月,陈锦石为了招募队伍,顶风冒雨,挨家上门沟通,原本谈好70余人的队伍,到出发时只有28人。 图片来源:中南建设官网

经过三十多年的发展,中南集团业务遍及全国26个省、160多个城市及澳大利亚、阿尔及利亚等海外市场,一度位列中国企业500强第78位,中国民营企业500强第11位,中国房地产企业16强,中国建筑企业500强第8名。

随着中南集团的发展,陈锦石的身家也水涨船高,2008年就登上了《胡润百富榜》,2020年他以140亿元的身家排名第388。

wind数据显示,2019年-2022年陈锦石的年薪分别为1461万元、1650万元、1066万元、1088万元;2023年,陈锦石又成为A股房企降薪最大的高管,将工资打了一折,仅剩96万。

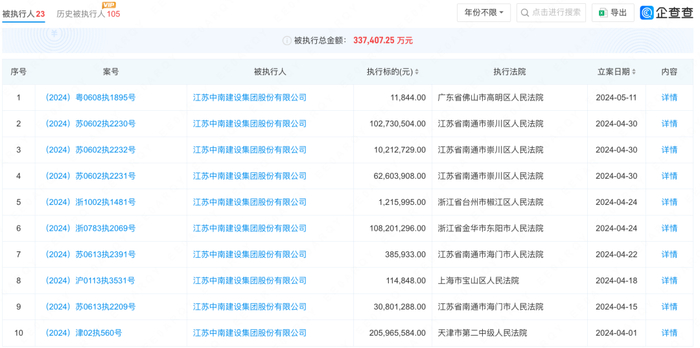
连年的财务危机已让这位曾经的南通首富官司缠身,被限制高消费。企查查显示,目前中南建设被执行金额达33.74亿元,失信被执行涉案金额达8.153亿元。

编辑|程鹏 杜恒峰

加载中...