新浪科技

三星、LG、京东方LED/Micro OLED显示技术最新动态

LEDinside

关注

近日,显示面板大厂三星、LG、京东方在量子点LED、Micro OLED技术上传来最新动态,新型显示技术发展再获突破。

三星研发出喷墨打印QD-LED

5月12日消息,三星显示研究所团队发表了一篇关于“通过喷墨打印工艺实现自发光QD-LED技术”的论文,并获得了SID显示周最佳论文奖。

图片来源:三星显示

据悉,QD-LED是一种使用QD量子点实现RGB(红、绿、蓝)像素的显示技术。三星显示研究团队通过在QD表面应用了新材料,并通过喷墨印刷工艺提高了稳定性,从而增加了QD-LED技术商业化的可能性。

值得注意的是,近日,三星还在中国取得了量子点技术专利。据国家知识产权局公告,三星电子株式会社取得一项名为“量子点和其制造方法、量子点聚合物复合物、显示装置“,授权公告号CN111826161B,申请日期为2020年4月。

图片来源:国家知识产权局

该专利通过硒和铝成分的量子点能打造无镉量子点显示装置。专利摘要显示,该专利一种核-壳量子点、量子点、量子点聚合物复合物、显示装置和量子点制造方法,该核-壳量子点包括、包含第一半导体纳米晶体材料的核、以及设置在核上的半导体纳米晶体壳,其中该核-壳量子点不包括镉,并且包括锌、碲、硒和铝。

LGD在Micro OLED技术上获突破,亮度达1万尼特

在SID显示周上,LGD的“关于VR用硅基OLED”技术研究也被评为了最佳论文。

据悉,硅基OLED通过将传统OLED的玻璃基板替换为单晶硅基板,并采用有机发光技术实现了显示效果。硅基OLED可在小尺寸面积内实现高图像质量显示,因此是目前AR和VR显示领域的热点技术之一。

图片来源:LGD

LGD研发团队通过将新开发的高性能OLED器件与自主研发的OLED光提取最大化技术“MLA(Micro Lens Array)”相结合,成功实现了亮度高达10000尼特的效果,比现有产品高出约40%。

值得注意的是,LGD现已打入苹果Vision Pro Micro OLED供应链,未来或打破索尼为Vision Pro独供Micro OLED显示面板的局面,并增加苹果Vision Pro产量、使产品成本下降。

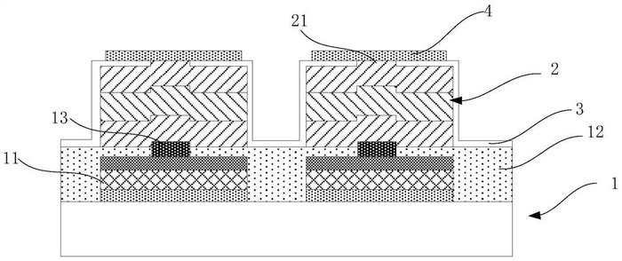
京东方获Micro OLED专利

5月11日消息,据国家知识产权局公告,京东方科技集团股份有限公司取得一项名为“一种硅基OLED显示面板、及其制备方法、显示装置“的专利,授权公告号CN113224108B,申请日期为2020年2月。专利能够让显示透明阳极层比较平整。

图片来源:国家知识产权局

专利摘要显示,该硅基OLED显示面板包括晶圆基底、金属反射层、第一绝缘层和透明阳极层。其中,金属反射层设于晶圆基底上,并与晶圆基底上的晶体管开关电连接,金属反射层中具有朝向背离晶圆基底方向凸出的凸起。第一绝缘层设于金属反射层背离晶圆基底的一侧,并与金属反射层对应部位的背离金属反射层的表面与凸起的顶面平齐。透明阳极层设于第一绝缘层背离金属反射层的一侧。该硅基OLED显示面板中,第一绝缘层在金属反射层上的表面与凸起的顶面平齐,使透明阳极层不受凸起的影响,使透明阳极层比较平整。

据悉,京东方在硅基OLED业务方面已布局8英寸和12英寸产线,并已完成多款FHD分辨率产品开发。在VR/AR等领域,京东方的硅基OLED技术显示产品已实现出货或具备出货能力。

此前,京东方透露,公司的12英寸硅基OLED产线将于今年1月全部完成,项目总投资34亿元,设计年产能523万片。

LEDinside整理

更多LED产业深入数据,点击了解《金级+会员市场报告:全球LED产业资料库与LED厂商季度更新》。

关于集邦

上下滑动查看

加载中...