新浪财经

映宇宙扭亏为盈背后:批量生产社交APP,一年花20亿销售及推广

新经济IPO

关注

近日,映宇宙(原映客互娱)发布的2023年年度报告显示,2019-2023年,映宇宙分别实现营业收入32.69亿元、49.49亿元、91.76亿元、63.19亿元和68.45亿元,分别实现归母净利润0.55亿元、1.94亿元、4.15亿元、-1.66亿元和3.87亿元。

不难发现,2023年,映宇宙营业收入只增长了8%,但净利润却实现大翻盘,且净利润近4亿元。虽然财务数据表现亮眼,但运营数据却走了下坡路。根据年报披露,2023年,映宇宙的每月平均月活用户下降了14.6%,但每月每用户平均收入增长了26.9%。

公开资料显示,映宇宙是中国领先的互动社交平台。2015年5月,核心产品映客直播上线,2018年7月,映客直播在香港成功上市。2019年以来,映客直播陆续孵化出“积目”、“对缘”、“超级喜欢”等多款现象级产品,业务拓展至直播、相亲、社交三大板块。

有意思的是,作为“陌生人社交第一股”的挚文集团(原陌陌)核心业务却是直播服务和增值服务,而作为“娱乐直播第一股”的映宇宙(原映客直播)核心业务却向“直播+社交”生态转型。殊途同归背后,2023年,挚文集团营业收入120.02亿元,归母净利润19.58亿元;而映宇宙营业收入68.45亿元,归母净利润只有3.87亿元。

比较直观的印象是,陌陌、探探分别为小米应用商店“聊天社交-交友”分类榜的第1名、第2名,但映客直播目前在“影音视听-直播”分类榜的第12名。或许,映宇宙已意识到其基石业务——映客直播开始掉队,由此加大销售及推广支付,反而缩减了研发投入。

映宇宙年报显示,2023年,销售及推广开支20.74亿元(占营业收入30.30%),同比增长50.13%;研发开支2.72亿元(占营业收入3.97%),同比减少30.03%。映宇宙在年报中表示,销售及推广开支的增加主要由集团加大推广及广告投放力度。

事实上,映宇宙20.74亿元的销售及推广开支可能还不够花。除了映客直播,映宇宙旗下还有社交APP“积目”,交友APP“对缘”、“超级喜欢”。另据新经济IPO不完全统计,映宇宙以海南乾升网络科技有限公司、海南峰娱网络科技有限公司5家公司开发运营了近20款交友APP。注:百科资料显示,奉佑生未映宇宙(原映客互娱)创办人、董事长。

映宇宙年报披露,集团还战略投资了陌生社交APP“在一起”(持股40%)、中老年直播APP“老柚”(持股41.65%),以及主营社交网络产品的北京亲吻鱼网络科技有限公司(持股55%)、深圳市蜜花科技有限公司(持股50%)。

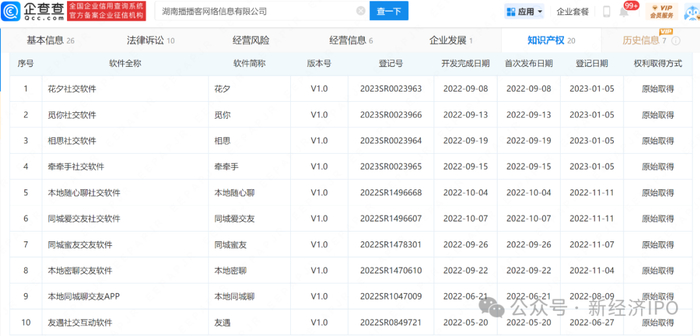
另外,映宇宙还曾是湖南播播客网络信息有限公司(简称“播播客”)的唯一股东,但目前映客互娱与播播客在股权上已无任何关联。小米应用商店显示,播播客开发运营了社交APP“聊交友同城爱交友本地同城聊同城密友”。

工商资料显示,播播客成立于2021年7月26日,注册资本,法定代表人郑颖,股东为郑颖(持股90%)、林水平(持股10%)。2022年3月18日,播播客股东由湖南映客互娱网络信息有限公司(100%)变更为郑颖(90%)、林水平(10%),与此同时法定代表人由张海朋变更为郑颖。

企查查数据显示,播播客旗下共有15个软件著作权,首次发布日期自2022年4月21日至2022年10月7日。

除了批量开发运营社交APP,映宇宙还涉足网络小贷。映宇宙年报显示,湖南浩瀚汇通网络小额贷款有限公司(简称“浩瀚汇通”)是其联营企业,持股比例为30%,截至2023年12月31日的账面值为0.85亿元,同比增长0.57%。

值得注意的是,背靠映宇宙2200万月活用户的浩瀚汇通却靠变相“出租牌照”过日子。2023年12月,浩瀚汇通因变相出借、出租经营许可证及妨害地方金融监督管理部门依法履行职责两项违规行为,被罚款110万元。据媒体此前报道,浩瀚汇通的网络小贷牌照曾变相出租给51信用卡、51公积金、微米云服等助贷机构。

加载中...