新浪财经

厦门空港:2023年净利润同比增长1159.66% 拟10派2.6元

中证网

关注

中证智能财讯 厦门空港(600897)4月30日披露2023年年报。2023年,公司实现营业总收入16.95亿元,同比增长68.58%;归母净利润3.54亿元,同比增长1159.66%;扣非净利润3.02亿元,同比扭亏;经营活动产生的现金流量净额为6.13亿元,同比增长271.50%;报告期内,厦门空港基本每股收益为0.85元,加权平均净资产收益率为8.88%。公司2023年年度利润分配预案为:拟向全体股东每10股派2.6元(含税)。

以4月30日收盘价计算,厦门空港目前市盈率(TTM)约为16.42倍,市净率(LF)约为1.4倍,市销率(TTM)约为3.43倍。

公司近年市盈率(TTM)、市净率(LF)、市销率(TTM)历史分位图如下所示:

数据统计显示,厦门空港近三年营业总收入复合增长率为11.43%,在航空机场行业已披露2023年数据的12家公司中排名第9。近三年净利润复合年增长率为27.35%,排名6/12。

年报称,公司的经营范围是为国内外航空运输企业及旅客提供地面保障服务;出租和管理候机楼内航空营业场所、商业场所和办公场所;商务信息咨询;旅客票务代理;其他航空运输辅助活动;装卸搬运;国内货运代理;其他未列明运输代理业务;其他仓储业;物业管理;停车场管理。

分产品来看,2023年公司主营业务中,航空业务收入收入11.16亿元,同比增长84.87%,占营业收入的65.85%;租赁及特许权收入收入3.94亿元,同比增长61.98%,占营业收入的23.24%;货站及货服业务收入1.12亿元,同比增长2.00%,占营业收入的6.59%。

截至2023年末,公司员工总数为3672人,人均创收46.17万元,人均创利9.64万元,人均薪酬15.22万元,较上年同期分别变化43.42%、971.68%、-7.26%。

2023年,公司毛利率为32.51%,同比上升31.28个百分点;净利率为22.35%,较上年同期上升18.32个百分点。从单季度指标来看,2023年第四季度公司毛利率为30.28%,同比上升35.41个百分点,环比下降2.18个百分点;净利率为20.63%,较上年同期上升18.96个百分点,较上一季度下降4.23个百分点。

分产品看,航空业务收入、租赁及特许权收入、货站及货服业务2023年毛利率分别为17.13%、71.95%、41.09%。

报告期内,公司前五大客户合计销售金额6.39亿元,占总销售金额比例为37.70%,公司前五名供应商合计采购金额2.12亿元,占年度采购总额比例为18.55%。

数据显示,2023年公司加权平均净资产收益率为8.88%,较上年同期增长8.15个百分点;公司2023年投入资本回报率为8.78%,较上年同期增长7.71个百分点。

2023年,公司经营活动现金流净额为6.13亿元,同比增长271.50%;筹资活动现金流净额-1.23亿元,同比减少5420.01万元;投资活动现金流净额-4.17亿元,上年同期为-2.42亿元。

进一步统计发现,2023年公司自由现金流为1.70亿元,上年同期为-2.51亿元。

2023年,公司营业收入现金比为104.83%,净现比为173.25%。

营运能力方面,2023年,公司公司总资产周转率为0.33次,上年同期为0.20次(2022年行业平均值为0.16次,公司位居同行业4/12);固定资产周转率为0.73次,上年同期为0.41次(2022年行业平均值为0.52次,公司位居同行业9/12);公司应收账款周转率、存货周转率分别为9.12次、1570.45次。

2023年,公司期间费用为8215.76万元,较上年同期增加1480.86万元;但期间费用率为4.85%,较上年同期下降1.85个百分点。其中,管理费用同比增长19.97%,财务费用同比增长43.26%。

资产重大变化方面,截至2023年年末,公司交易性金融资产较上年末增加40.95%,占公司总资产比重上升9.25个百分点;固定资产较上年末减少5.06%,占公司总资产比重下降6.54个百分点;应收账款较上年末增加67.87%,占公司总资产比重上升1.49个百分点;货币资金较上年末增加109.45%,占公司总资产比重上升1.22个百分点。

负债重大变化方面,截至2023年年末,公司租赁负债较上年末增加101.74%,占公司总资产比重上升1.05个百分点;应付职工薪酬较上年末增加33.56%,占公司总资产比重上升0.69个百分点;应交税费较上年末增加230.16%,占公司总资产比重上升0.71个百分点;递延所得税负债较上年末减少94.36%,占公司总资产比重下降0.65个百分点。

在偿债能力方面,公司2023年年末资产负债率为18.89%,相比上年末上升0.84个百分点;有息资产负债率为1.05%,相比上年末下降0.12个百分点。

2023年,公司流动比率为3.09,速动比率为3.09。

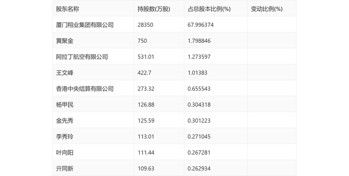
年报显示,2023年年末公司十大流通股东中,新进股东为亓同新,取代了三季度末的周晓宇。在具体持股比例上,香港中央结算有限公司持股有所上升,王文峰、金先秀持股有所下降。

筹码集中度方面,截至2023年年末,公司股东总户数为1.86万户,较三季度末增长了42户,增幅0.23%;户均持股市值由三季度末的29.27万元下降至28.01万元,降幅为4.30%。

指标注解:

市盈率

=总市值/净利润。当公司亏损时市盈率为负,此时用市盈率估值没有实际意义,往往用市净率或市销率做参考。

市净率

=总市值/净资产。市净率估值法多用于盈利波动较大而净资产相对稳定的公司。

市销率

=总市值/营业收入。市销率估值法通常用于亏损或微利的成长型公司。

文中市盈率和市销率采用TTM方式,即以截至最近一期财报(含预报)12个月的数据计算。市净率采用LF方式,即以最近一期财报数据计算。

市盈率为负时,不显示当期分位数,会导致折线图中断。

加载中...