新浪财经

万达电影:2023年盈利9.12亿元 同比扭亏

中证网

关注

中证智能财讯 万达电影(002739)4月30日披露2023年年报。2023年,公司实现营业总收入146.20亿元,同比增长50.79%;归母净利润9.12亿元,同比扭亏;扣非净利润7.19亿元,同比扭亏;经营活动产生的现金流量净额为44.23亿元,同比增长270.40%;报告期内,万达电影基本每股收益为0.4186元,加权平均净资产收益率为12.06%。

以4月29日收盘价计算,万达电影目前市盈率(TTM)约为37.08倍,市净率(LF)约为4.21倍,市销率(TTM)约为2.31倍。

公司近年市盈率(TTM)、市净率(LF)、市销率(TTM)历史分位图如下所示:

数据统计显示,万达电影近三年营业总收入复合增长率为32.43%,在影视院线行业已披露2023年数据的20家公司中排名第3。近三年净利润复合年增长率为28.80%,排名8/20。

分产品来看,2023年公司主营业务中,观影收入收入84.45亿元,同比增长56.89%,占营业收入的57.76%;商品、餐饮销售收入收入19.44亿元,同比增长39.60%,占营业收入的13.30%;广告收入收入13.24亿元,同比增长8.35%,占营业收入的9.06%。

2023年,公司毛利率为27.69%,同比上升10.69个百分点;净利率为6.38%,较上年同期上升26.58个百分点。从单季度指标来看,2023年第四季度公司毛利率为21.72%,同比上升14.09个百分点,环比下降9.46个百分点;净利率为-5.99%,较上年同期上升66.02个百分点,较上一季度下降21.64个百分点。

分产品看,观影收入、商品、餐饮销售收入、广告收入2023年毛利率分别为4.32%、64.22%、48.22%。

报告期内,公司前五大客户合计销售金额62.64亿元,占总销售金额比例为42.85%,公司前五名供应商合计采购金额39.43亿元,占年度采购总额比例为35.93%。

数据显示,2023年公司加权平均净资产收益率为12.06%,较上年同期增长36.06个百分点;公司2023年投入资本回报率为7.67%,较上年同期增长12.14个百分点。

2023年,公司经营活动现金流净额为44.23亿元,同比增长270.40%;筹资活动现金流净额-35.60亿元,同比减少18.71亿元;投资活动现金流净额-5.57亿元,上年同期为-7.33亿元。

进一步统计发现,2023年公司自由现金流为35.02亿元,相比上年同期增长1969.41%。

2023年,公司营业收入现金比为109.38%,净现比为484.88%。

营运能力方面,2023年,公司公司总资产周转率为0.56次,上年同期为0.35次(2022年行业平均值为0.21次,公司位居同行业5/20);固定资产周转率为7.02次,上年同期为4.12次(2022年行业平均值为18.16次,公司位居同行业12/20);公司应收账款周转率、存货周转率分别为9.83次、6.57次。

资产重大变化方面,截至2023年年末,公司预付款项较上年末减少56.85%,占公司总资产比重下降2.18个百分点;应收账款较上年末增加20.44%,占公司总资产比重上升1.42个百分点;商誉较上年末增加2.11%,占公司总资产比重上升1.37个百分点;递延所得税资产较上年末增加42.56%,占公司总资产比重上升0.83个百分点。

负债重大变化方面,截至2023年年末,公司短期借款较上年末减少61.82%,占公司总资产比重下降8.16个百分点;租赁负债较上年末减少5.05%,占公司总资产比重上升0.26个百分点;其他应付款(含利息和股利)较上年末减少16.25%,占公司总资产比重下降0.55个百分点;应付账款较上年末增加10.64%,占公司总资产比重上升0.85个百分点。

从存货变动来看,截至2023年年末,公司存货账面价值为14.94亿元,占净资产的18.61%,较上年末减少2.31亿元。其中,存货跌价准备为3.54亿元,计提比例为19.15%。

2023年全年,公司研发投入金额为7091.50万元,同比下降18.32%;研发投入占营业收入比例为0.49%,相比上年同期下降0.41个百分点。此外,公司全年研发投入资本化率为55.66%。

2023年,万达电影的商誉达到43.75亿元,相当于同期公司净资产80.30亿元的54.48%。

在偿债能力方面,公司2023年年末资产负债率为67.46%,相比上年末下降5.52个百分点;有息资产负债率为18.17%,相比上年末下降7.41个百分点。

2023年,公司流动比率为1.03,速动比率为0.83。

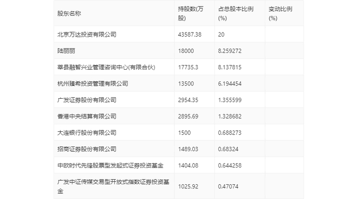
年报显示,2023年年末公司十大流通股东中,新进股东为大连银行股份有限公司、广发中证传媒交易型开放式指数证券投资基金,取代了三季度末的逄宇峰、长江证券股份有限公司。在具体持股比例上,广发证券股份有限公司、香港中央结算有限公司持股有所上升,招商证券股份有限公司、中欧时代先锋股票型发起式证券投资基金持股有所下降。

筹码集中度方面,截至2023年年末,公司股东总户数为11.77万户,较三季度末下降了378户,降幅0.32%;户均持股市值由三季度末的24.89万元下降至24.12万元,降幅为3.09%。

指标注解:

市盈率

=总市值/净利润。当公司亏损时市盈率为负,此时用市盈率估值没有实际意义,往往用市净率或市销率做参考。

市净率

=总市值/净资产。市净率估值法多用于盈利波动较大而净资产相对稳定的公司。

市销率

=总市值/营业收入。市销率估值法通常用于亏损或微利的成长型公司。

文中市盈率和市销率采用TTM方式,即以截至最近一期财报(含预报)12个月的数据计算。市净率采用LF方式,即以最近一期财报数据计算。

市盈率为负时,不显示当期分位数,会导致折线图中断。

加载中...