新浪财经

天邦食品:2023年亏损28.83亿元

中证网

关注

中证智能财讯 天邦食品(002124)4月30日披露2023年年报。2023年,公司实现营业总收入102.32亿元,同比增长6.91%;归母净利润亏损28.83亿元,上年同期盈利4.89亿元;扣非净利润亏损29.87亿元,上年同期亏损10.01亿元;经营活动产生的现金流量净额为2.64亿元,同比下降59.83%;报告期内,天邦食品基本每股收益为-1.57元,加权平均净资产收益率为-116.34%。

以4月29日收盘价计算,天邦食品目前市盈率(TTM)约为-2.09倍,市净率(LF)约为2.72倍,市销率(TTM)约为0.59倍。

公司近年市盈率(TTM)、市净率(LF)、市销率(TTM)历史分位图如下所示:

数据统计显示,天邦食品近三年营业总收入复合增长率为-1.68%,在生猪养殖行业已披露2023年数据的10家公司中排名第8。近三年净利润复合年增长率为-196.14%,排名7/10。

资料显示,公司以“美好食品缔造幸福生活”为愿景,以“做安全、健康、美味的动物源食品”为使命,正从一家生猪养殖企业向食品企业转型,主营业务为生猪养殖和猪肉制品加工。公司主要产品为食品及食品相关类别中的商品猪、猪肉生鲜产品、猪肉加工产品等。

分产品来看,2023年公司主营业务中,生猪养殖收入73.11亿元,同比增长5.45%,占营业收入的71.45%;食品加工收入24.84亿元,同比增长12.77%,占营业收入的24.27%;饲料产品收入4.06亿元,同比下降5.34%,占营业收入的3.97%。

截至2023年末,公司员工总数为8766人,人均创收116.72万元,人均创利-32.89万元,人均薪酬14.04万元,较上年同期分别变化28.85%、-809.94%、13.48%。

2023年,公司毛利率为-8.93%,同比下降23.21个百分点;净利率为-28.24%,较上年同期下降33.22个百分点。从单季度指标来看,2023年第四季度公司毛利率为-17.35%,同比下降38.47个百分点,环比下降15.52个百分点;净利率为-44.61%,较上年同期下降25.42个百分点,较上一季度下降32.36个百分点。

分产品看,生猪养殖、食品加工、饲料产品2023年毛利率分别为-10.97%、-6.49%、9.50%。

报告期内,公司前五大客户合计销售金额21.06亿元,占总销售金额比例为20.58%,公司前五名供应商合计采购金额80.91亿元,占年度采购总额比例为85.80%。

数据显示,2023年公司加权平均净资产收益率为-116.34%,较上年同期下降129.65个百分点;公司2023年投入资本回报率为-24.38%,较上年同期下降33.06个百分点。

2023年,公司经营活动现金流净额为2.64亿元,同比下降59.83%;筹资活动现金流净额2.74亿元,同比增加15.74亿元;投资活动现金流净额-2356.65万元,上年同期为-5.47亿元。

进一步统计发现,2023年公司自由现金流为-4085.93万元,上年同期为157348.84万元。

2023年,公司营业收入现金比为122.41%,净现比为-9.17%。

营运能力方面,2023年,公司公司总资产周转率为0.56次,上年同期为0.50次(2022年行业平均值为0.58次,公司位居同行业7/10);固定资产周转率为1.33次,上年同期为1.39次(2022年行业平均值为2.02次,公司位居同行业6/10);公司应收账款周转率、存货周转率分别为206.10次、4.79次。

2023年,公司期间费用为16.14亿元,同比减少1.18亿元;期间费用率为15.77%,同比下降2.33个百分点。其中,销售费用同比增长4.87%,管理费用同比下降8.03%,研发费用同比增长49.77%,财务费用同比下降8.57%。

资产重大变化方面,截至2023年年末,公司固定资产较上年末减少0.99%,占公司总资产比重上升5.01个百分点;使用权资产较上年末减少35.61%,占公司总资产比重下降4.27个百分点;货币资金较上年末增加29.27%,占公司总资产比重上升2.34个百分点;其他应收款(含利息和股利)较上年末减少70.20%,占公司总资产比重下降1.86个百分点。

负债重大变化方面,截至2023年年末,公司租赁负债较上年末减少38.44%,占公司总资产比重下降3.71个百分点;其他应付款(含利息和股利)较上年末增加10.73%,占公司总资产比重上升5.64个百分点;长期借款较上年末减少43.72%,占公司总资产比重下降1.91个百分点,主要系报告期租赁合同到期终;应付账款较上年末增加11.48%,占公司总资产比重上升3.87个百分点。

从存货变动来看,截至2023年年末,公司存货账面价值为20.22亿元,占净资产的91.19%,较上年末减少6.1亿元。其中,存货跌价准备为2.26亿元,计提比例为10.07%。

2023年全年,公司研发投入金额为4650.31万元,同比增长49.77%;研发投入占营业收入比例为0.45%,相比上年同期上升0.13个百分点。此外,公司全年研发投入资本化率为0。

年报显示,2023年度公司下属各研究所共计划项目13项(含延续项目),完成年度研发任务11项。共申报并受理专利5件,其中发明专利2件,实用新型专利3件。

在偿债能力方面,公司2023年年末资产负债率为86.73%,相比上年末上升7.11个百分点;有息资产负债率为27.34%,相比上年末上升2.11个百分点。

2023年,公司流动比率为0.29,速动比率为0.13。

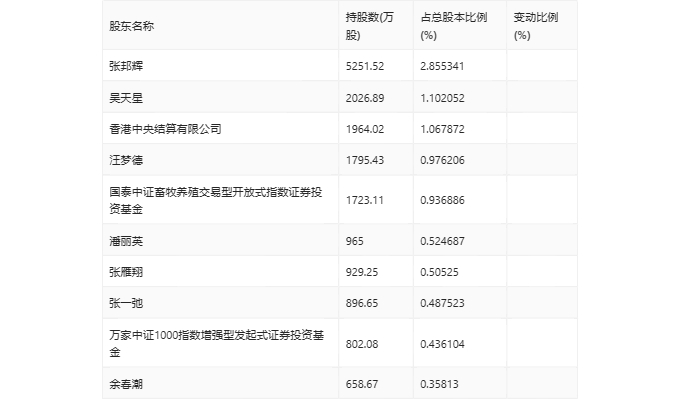
年报显示,2023年年末公司十大流通股东中,新进股东为张邦辉、万家中证1000指数增强型发起式证券投资基金,取代了三季度末的银河德睿资本管理有限公司、广发证券股份有限公司。在具体持股比例上,香港中央结算有限公司、潘丽英持股有所上升,吴天星、汪梦德、国泰中证畜牧养殖交易型开放式指数证券投资基金、张一弛、余春潮持股有所下降。

筹码集中度方面,截至2023年年末,公司股东总户数为10.65万户,较三季度末增长了2412户,增幅2.32%;户均持股市值由三季度末的7.38万元下降至6.27万元,降幅为15.04%。

指标注解:

市盈率

=总市值/净利润。当公司亏损时市盈率为负,此时用市盈率估值没有实际意义,往往用市净率或市销率做参考。

市净率

=总市值/净资产。市净率估值法多用于盈利波动较大而净资产相对稳定的公司。

市销率

=总市值/营业收入。市销率估值法通常用于亏损或微利的成长型公司。

文中市盈率和市销率采用TTM方式,即以截至最近一期财报(含预报)12个月的数据计算。市净率采用LF方式,即以最近一期财报数据计算。

市盈率为负时,不显示当期分位数,会导致折线图中断。

加载中...