新浪财经

恒立实业:2023年亏损1147.99万元

中证网

关注

中证智能财讯 恒立实业(000622)4月30日披露2023年年报。2023年,公司实现营业总收入1.11亿元,同比下降54.74%;归母净利润亏损1147.99万元,上年同期亏损1325.60万元;扣非净利润亏损1211.26万元,上年同期亏损1539.10万元;经营活动产生的现金流量净额为-219.69万元,上年同期为-606.86万元;报告期内,恒立实业基本每股收益为-0.027元,加权平均净资产收益率为-6.09%。

以4月29日收盘价计算,恒立实业目前市盈率(TTM)约为-95.2倍,市净率(LF)约为5.98倍,市销率(TTM)约为9.8倍。

公司近年市盈率(TTM)、市净率(LF)、市销率(TTM)历史分位图如下所示:

数据统计显示,恒立实业近三年营业总收入复合增长率为-28.57%,在综合Ⅲ行业已披露2023年数据的21家公司中排名第19。近三年净利润复合年增长率为-256.13%,排名18/21。

分产品来看,2023年公司主营业务中,委托加工-碳酸锂收入4315.80万元,同比下降18.69%,占营业收入的38.72%;设备安装收入收入3154.76万元,占营业收入的28.30%;车用空调收入1874.83万元,同比下降0.67%,占营业收入的16.82%。

截至2023年末,公司员工总数为125人,人均创收89.18万元,人均创利-9.18万元,人均薪酬10.13万元,较上年同期分别变化-51.84%、7.86%、-13.68%。

2023年,公司毛利率为8.97%,同比上升5.87个百分点;净利率为-10.30%,较上年同期下降4.92个百分点。从单季度指标来看,2023年第四季度公司毛利率为44.96%,同比上升42.37个百分点,环比上升35.08个百分点;净利率为-564.99%,较上年同期下降563.01个百分点,较上一季度下降452.99个百分点。

分产品看,设备安装收入、车用空调2023年毛利率分别为22.47%、7.51%。

报告期内,公司前五大客户合计销售金额1.09亿元,占总销售金额比例为97.79%,公司前五名供应商合计采购金额0.76亿元,占年度采购总额比例为80.08%。

数据显示,2023年公司加权平均净资产收益率为-6.09%,较上年同期增长0.51个百分点;公司2023年投入资本回报率为-5.82%,较上年同期增长0.05个百分点。

2023年,公司经营活动现金流净额为-219.69万元,同比增加387.17万元;筹资活动现金流净额2531.08万元,同比增加2393.64万元;投资活动现金流净额-3154.25万元,上年同期为-9122.0万元。

进一步统计发现,2023年公司自由现金流为-1304.37万元,上年同期为-2234.58万元。

2023年,公司营业收入现金比为151.76%。

营运能力方面,2023年,公司公司总资产周转率为0.31次,上年同期为0.74次(2022年行业平均值为0.40次,公司位居同行业6/22);固定资产周转率为3.03次,上年同期为19.46次(2022年行业平均值为6.29次,公司位居同行业6/22);公司应收账款周转率、存货周转率分别为2.78次、5.94次。

资产重大变化方面,截至2023年年末,公司应收票据较上年末减少99.47%,占公司总资产比重下降30.96个百分点;预付款项较上年末增加613.72%,占公司总资产比重上升21.44个百分点;固定资产较上年末增加423.17%,占公司总资产比重上升12.00个百分点;应收账款较上年末增加144.50%,占公司总资产比重上升7.26个百分点。

负债重大变化方面,截至2023年年末,公司应付账款较上年末增加123.52%,占公司总资产比重上升6.46个百分点;合同负债较上年末增加57.02%,占公司总资产比重上升1.74个百分点;其他应付款(含利息和股利)较上年末增加49.03%,占公司总资产比重上升1.43个百分点;长期递延收益较上年末增加178.17%,占公司总资产比重上升1.09个百分点。

从存货变动来看,截至2023年年末,公司存货账面价值为1400.34万元,占净资产的7.66%,较上年末减少618.42万元。其中,存货跌价准备为411.31万元,计提比例为22.7%。

2023年全年,公司研发投入金额为256.92万元,同比下降5.53%;研发投入占营业收入比例为2.30%,相比上年同期上升1.20个百分点。此外,公司全年研发投入资本化率为0。

在偿债能力方面,公司2023年年末资产负债率为52.05%,相比上年末上升13.64个百分点;有息资产负债率为9.09%,相比上年末上升5.30个百分点。

2023年,公司流动比率为1.52,速动比率为1.42。

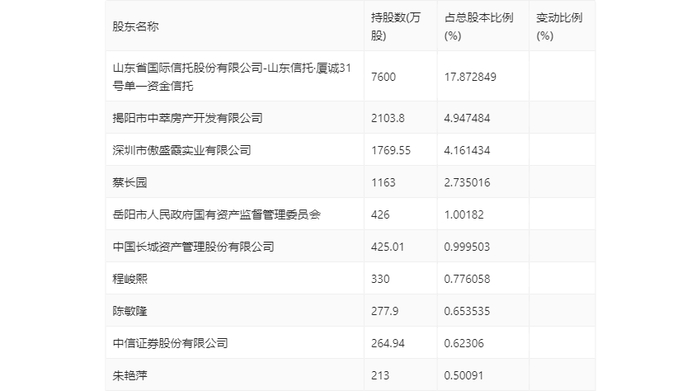
年报显示,2023年年末公司十大流通股东中,新进股东为程峻熙、朱艳萍,取代了三季度末的程浩生、林汉龙。在具体持股比例上,陈敏隆持股有所上升,揭阳市中萃房产开发有限公司、中信证券股份有限公司持股有所下降。

筹码集中度方面,截至2023年年末,公司股东总户数为2.51万户,较三季度末下降了723户,降幅2.80%;户均持股市值由三季度末的7.44万元下降至7.42万元,降幅为0.27%。

指标注解:

市盈率

=总市值/净利润。当公司亏损时市盈率为负,此时用市盈率估值没有实际意义,往往用市净率或市销率做参考。

市净率

=总市值/净资产。市净率估值法多用于盈利波动较大而净资产相对稳定的公司。

市销率

=总市值/营业收入。市销率估值法通常用于亏损或微利的成长型公司。

文中市盈率和市销率采用TTM方式,即以截至最近一期财报(含预报)12个月的数据计算。市净率采用LF方式,即以最近一期财报数据计算。

市盈率为负时,不显示当期分位数,会导致折线图中断。

加载中...