新浪财经

韵达股份:2023年净利润同比增长9.58% 拟10派1.7元

中证网

关注

中证智能财讯 韵达股份(002120)4月30日披露2023年年报。2023年,公司实现营业总收入449.83亿元,同比下降5.17%;归母净利润16.25亿元,同比增长9.58%;扣非净利润13.90亿元,同比增长0.07%;经营活动产生的现金流量净额为33.87亿元,同比下降35.98%;报告期内,韵达股份基本每股收益为0.56元,加权平均净资产收益率为8.96%。公司2023年年度利润分配预案为:拟向全体股东每10股派1.7元(含税)。

以4月29日收盘价计算,韵达股份目前市盈率(TTM)约为14.06倍,市净率(LF)约为1.19倍,市销率(TTM)约为0.51倍。

公司近年市盈率(TTM)、市净率(LF)、市销率(TTM)历史分位图如下所示:

数据统计显示,韵达股份近三年营业总收入复合增长率为10.32%,在物流行业已披露2023年数据的46家公司中排名第24。近三年净利润复合年增长率为4.98%,排名28/46。

分产品来看,2023年公司主营业务中,派费收入收入231.88亿元,同比增长12.53%,占营业收入的51.55%;中转费收入收入172.18亿元,同比下降26.43%,占营业收入的38.28%;面单销售收入收入28.45亿元,同比增长210.46%,占营业收入的6.32%。

2023年,公司毛利率为9.55%,同比上升0.42个百分点;净利率为3.67%,较上年同期上升0.50个百分点。从单季度指标来看,2023年第四季度公司毛利率为7.95%,同比下降3.66个百分点,环比下降0.68个百分点;净利率为3.87%,较上年同期下降2.27个百分点,较上一季度上升1.17个百分点。

报告期内,公司前五大客户合计销售金额43.44亿元,占总销售金额比例为9.66%,公司前五名供应商合计采购金额36.76亿元,占年度采购总额比例为9.04%。

数据显示,2023年公司加权平均净资产收益率为8.96%,较上年同期下降0.07个百分点;公司2023年投入资本回报率为6.36%,较上年同期下降0.11个百分点。

2023年,公司经营活动现金流净额为33.87亿元,同比下降35.98%;筹资活动现金流净额-8.39亿元,同比减少1.27亿元;投资活动现金流净额-17.53亿元,上年同期为-38.02亿元。

进一步统计发现,2023年公司自由现金流为-3.58亿元,上年同期为2.85亿元。

2023年,公司营业收入现金比为111.52%,净现比为208.43%。

营运能力方面,2023年,公司公司总资产周转率为1.18次,上年同期为1.28次(2022年行业平均值为1.25次,公司位居同行业25/46);固定资产周转率为3.40次,上年同期为3.42次(2022年行业平均值为15.55次,公司位居同行业37/46);公司应收账款周转率、存货周转率分别为37.29次、222.03次。

资产重大变化方面,截至2023年年末,公司固定资产较上年末减少8.12%,占公司总资产比重下降2.95个百分点;货币资金较上年末增加26.91%,占公司总资产比重上升2.76个百分点;无形资产较上年末减少19.40%,占公司总资产比重下降2.20个百分点;在建工程较上年末减少22.12%,占公司总资产比重下降1.73个百分点。

负债重大变化方面,截至2023年年末,公司应付账款较上年末减少24.76%,占公司总资产比重下降3.05个百分点,主要系本报告期内支付设备款、运费等;应付票据较上年末减少84.41%,占公司总资产比重下降1.42个百分点;其他流动负债较上年末减少85.32%,占公司总资产比重下降1.31个百分点;应付债券较上年末增加7.80%,占公司总资产比重上升1.29个百分点,主要系本报告期发行可转债。

从存货变动来看,截至2023年年末,公司存货账面价值为1.58亿元,占净资产的0.82%。根据财报,公司本期没有计提存货跌价准备。

2023年全年,公司研发投入金额为3.12亿元,同比下降14.59%;研发投入占营业收入比例为0.69%,相比上年同期下降0.08个百分点。此外,公司全年研发投入资本化率为9.26%。

在偿债能力方面,公司2023年年末资产负债率为49.30%,相比上年末下降5.83个百分点;有息资产负债率为30.00%,相比上年末上升1.64个百分点。

2023年,公司流动比率为1.34,速动比率为1.32。

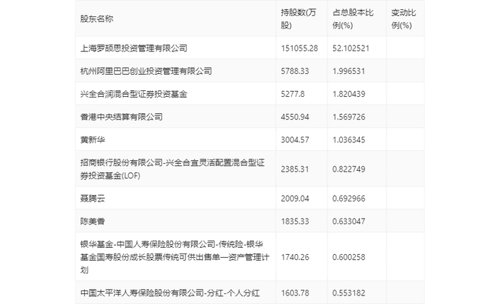
年报显示,2023年年末公司十大流通股东中,新进股东为中国太平洋人寿保险股份有限公司-分红-个人分红,取代了三季度末的兴全新视野灵活配置定期开放混合型发起式证券投资基金。在具体持股比例上,上海罗颉思投资管理有限公司、杭州阿里巴巴创业投资管理有限公司、香港中央结算有限公司、黄新华、聂腾云、陈美香、银华基金-中国人寿保险股份有限公司-传统险-银华基金国寿股份成长股票传统可供出售单一资产管理计划持股有所上升,兴全合润混合型证券投资基金、招商银行股份有限公司-兴全合宜灵活配置混合型证券投资基金(LOF)持股有所下降。

值得注意的是,根据年报数据,韵达股份10.33%股份处于质押状态。其中,第一大股东上海罗颉思投资管理有限公司质押2.80亿股公司股份,占其全部持股的18.55%。

筹码集中度方面,截至2023年年末,公司股东总户数为9.36万户,较三季度末增长了7080户,增幅8.19%;户均持股市值由三季度末的33.09万元下降至23.12万元,降幅为30.13%。

指标注解:

市盈率

=总市值/净利润。当公司亏损时市盈率为负,此时用市盈率估值没有实际意义,往往用市净率或市销率做参考。

市净率

=总市值/净资产。市净率估值法多用于盈利波动较大而净资产相对稳定的公司。

市销率

=总市值/营业收入。市销率估值法通常用于亏损或微利的成长型公司。

文中市盈率和市销率采用TTM方式,即以截至最近一期财报(含预报)12个月的数据计算。市净率采用LF方式,即以最近一期财报数据计算。

市盈率为负时,不显示当期分位数,会导致折线图中断。

加载中...