新浪财经

海亮股份:2023年净利润同比下降7.46% 拟10派1.7元

中证网

关注

中证智能财讯 海亮股份(002203)4月30日披露2023年年报。2023年,公司实现营业总收入757.49亿元,同比增长2.36%;归母净利润11.18亿元,同比下降7.46%;扣非净利润13.08亿元,同比增长16.56%;经营活动产生的现金流量净额为-7.76亿元,上年同期为8.70亿元;报告期内,海亮股份基本每股收益为0.56元,加权平均净资产收益率为8.40%。公司2023年年度利润分配预案为:拟向全体股东每10股派1.7元(含税)。

以4月29日收盘价计算,海亮股份目前市盈率(TTM)约为16.84倍,市净率(LF)约为1.34倍,市销率(TTM)约为0.25倍。

公司近年市盈率(TTM)、市净率(LF)、市销率(TTM)历史分位图如下所示:

数据统计显示,海亮股份近三年营业总收入复合增长率为17.65%,在行业已披露2023年数据的16家公司中排名第9。近三年净利润复合年增长率为18.16%,排名9/16。

年报显示,公司主要从事铜管、铜棒、铜箔、铜管接件、导体材料、铝型材等产品的研发、生产制造和销售。

分产品来看,2023年公司主营业务中,铜管收入412.02亿元,同比增长0.58%,占营业收入的54.39%;原材料等收入265.18亿元,同比增长8.03%,占营业收入的35.01%;铜棒收入48.18亿元,同比下降19.42%,占营业收入的6.36%。

2023年,公司毛利率为3.91%,同比下降0.11个百分点;净利率为1.54%,较上年同期下降0.12个百分点。从单季度指标来看,2023年第四季度公司毛利率为8.27%,同比上升3.18个百分点,环比上升5.22个百分点;净利率为2.57%,较上年同期上升0.87个百分点,较上一季度上升1.55个百分点。

分产品看,铜管、铜棒、铜排2023年毛利率分别为6.09%、5.54%、1.84%。

报告期内,公司前五大客户合计销售金额131.63亿元,占总销售金额比例为19.14%,公司前五名供应商合计采购金额181.98亿元,占年度采购总额比例为35.96%。

数据显示,2023年公司加权平均净资产收益率为8.40%,较上年同期下降1.83个百分点;公司2023年投入资本回报率为4.65%,较上年同期下降1.12个百分点。

2023年,公司经营活动现金流净额为-7.76亿元,同比减少16.47亿元;筹资活动现金流净额57.42亿元,同比增加44.48亿元;投资活动现金流净额-24.56亿元,上年同期为-23.09亿元。

进一步统计发现,2023年公司自由现金流为-28.38亿元,上年同期为-9.65亿元。

2023年,公司营业收入现金比为116.12%,净现比为-69.43%。

营运能力方面,2023年,公司公司总资产周转率为2.05次,上年同期为2.26次(2022年行业平均值为1.83次,公司位居同行业6/16);固定资产周转率为13.61次,上年同期为21.36次(2022年行业平均值为11.06次,公司位居同行业3/16);公司应收账款周转率、存货周转率分别为14.97次、10.42次。

2023年,公司期间费用为14.77亿元,同比减少6994.42万元;期间费用率为1.95%,同比下降0.14个百分点。其中,销售费用同比增长8.6%,管理费用同比下降8.59%,研发费用同比下降2.59%,财务费用同比下降2.52%。

资产重大变化方面,截至2023年年末,公司固定资产较上年末增加98.96%,占公司总资产比重上升7.21个百分点;在建工程较上年末减少21.57%,占公司总资产比重下降4.14个百分点;货币资金较上年末增加51.52%,占公司总资产比重上升3.89个百分点;存货较上年末增加3.34%,占公司总资产比重下降2.94个百分点。

负债重大变化方面,截至2023年年末,公司短期借款较上年末增加52.31%,占公司总资产比重上升4.23个百分点,主要系1)美元融资成本上升,公司减少信用证;长期借款较上年末增加58.13%,占公司总资产比重上升3.33个百分点;应付票据较上年末减少39.45%,占公司总资产比重下降2.58个百分点;应付账款较上年末减少16.96%,占公司总资产比重下降2.32个百分点。

从存货变动来看,截至2023年年末,公司存货账面价值为70.87亿元,占净资产的50.34%,较上年末增加2.29亿元。其中,存货跌价准备为1932.96万元,计提比例为0.27%。

2023年全年,公司研发投入金额为8.24亿元,同比增长8.60%;研发投入占营业收入比例为1.09%,相比上年同期上升0.06个百分点。此外,公司全年研发投入资本化率为0。

年报称,截至报告期末,公司共拥有专利775件,其中发明专利98件。

在偿债能力方面,公司2023年年末资产负债率为58.33%,相比上年末下降1.72个百分点;有息资产负债率为45.35%,相比上年末上升4.50个百分点。

2023年,公司流动比率为1.58,速动比率为1.10。

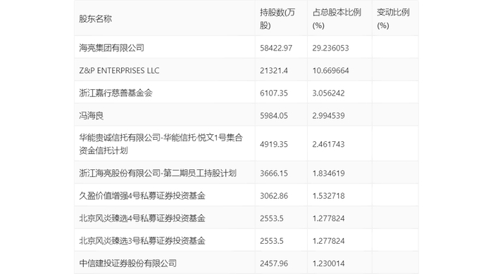
年报显示,2023年年末公司十大流通股东中,新进股东为中信建投证券股份有限公司,取代了三季度末的杨林。在具体持股比例上,海亮集团有限公司、Z&P ENTERPRISES LLC、浙江嘉行慈善基金会、冯海良、华能贵诚信托有限公司-华能信托·悦文1号集合资金信托计划、浙江海亮股份有限公司-第二期员工持股计划、久盈价值增强4号私募证券投资基金、北京风炎臻选4号私募证券投资基金、北京风炎臻选3号私募证券投资基金持股有所下降。

筹码集中度方面,截至2023年年末,公司股东总户数为1.59万户,较三季度末增长了1263户,增幅8.62%;户均持股市值由三季度末的160.05万元下降至140.01万元,降幅为12.52%。

指标注解:

市盈率

=总市值/净利润。当公司亏损时市盈率为负,此时用市盈率估值没有实际意义,往往用市净率或市销率做参考。

市净率

=总市值/净资产。市净率估值法多用于盈利波动较大而净资产相对稳定的公司。

市销率

=总市值/营业收入。市销率估值法通常用于亏损或微利的成长型公司。

文中市盈率和市销率采用TTM方式,即以截至最近一期财报(含预报)12个月的数据计算。市净率采用LF方式,即以最近一期财报数据计算。

市盈率为负时,不显示当期分位数,会导致折线图中断。

加载中...