新浪财经

英飞拓:2023年亏损7.75亿元

中证网

关注

中证智能财讯 英飞拓(002528)4月30日披露2023年年报。2023年,公司实现营业总收入14.09亿元,同比下降24.67%;归母净利润亏损7.75亿元,上年同期亏损10.04亿元;扣非净利润亏损7.20亿元,上年同期亏损10.00亿元;经营活动产生的现金流量净额为3.43亿元,上年同期为-8497.40万元;报告期内,英飞拓基本每股收益为-0.6464元,加权平均净资产收益率为-108.77%。

以4月29日收盘价计算,英飞拓目前市盈率(TTM)约为-9.13倍,市净率(LF)约为17.25倍,市销率(TTM)约为5.02倍。

公司近年市盈率(TTM)、市净率(LF)、市销率(TTM)历史分位图如下所示:

数据统计显示,英飞拓近三年营业总收入复合增长率为-35.45%,在安防设备行业已披露2023年数据的25家公司中排名第25。近三年净利润复合年增长率为-348.07%,排名25/25。

资料显示,公司是以人物互联为核心特色战略的新型智慧城市建设与运营服务商,以“1个主业+4个业务板块+3个层面”的业务组合战略为总体发展思路,经营数字化、智能化和数字营销等业务,处于软件和信息技术服务业。

分产品来看,2023年公司主营业务中,物联产品收入6.86亿元,同比增长5.62%,占营业收入的48.71%;数字运营服务收入5.48亿元,同比下降31.67%,占营业收入的38.93%;解决方案收入1.74亿元,占营业收入的12.35%。

截至2023年末,公司员工总数为665人,人均创收211.82万元,人均创利-116.51万元,人均薪酬40.16万元,较上年同期分别变化-5.75%、3.43%、5.29%。

2023年,公司毛利率为15.86%,同比上升4.55个百分点;净利率为-55.13%,较上年同期下降1.03个百分点。从单季度指标来看,2023年第四季度公司毛利率为11.67%,同比上升4.85个百分点,环比下降7.70个百分点;净利率为-95.20%,较上年同期上升37.92个百分点,较上一季度下降12.65个百分点。

分产品看,物联产品、数字运营服务、解决方案2023年毛利率分别为26.02%、4.01%、13.11%。

报告期内,公司前五大客户合计销售金额4.02亿元,占总销售金额比例为28.52%,公司前五名供应商合计采购金额8.32亿元,占年度采购总额比例为70.18%。

数据显示,2023年公司加权平均净资产收益率为-108.77%,较上年同期下降48.73个百分点;公司2023年投入资本回报率为-36.29%,较上年同期下降5.64个百分点。

2023年,公司经营活动现金流净额为3.43亿元,同比增加4.28亿元;筹资活动现金流净额-6.96亿元,同比减少5.15亿元;投资活动现金流净额2.67亿元,上年同期为-4.04亿元。

进一步统计发现,2023年公司自由现金流为2.48亿元,上年同期为-12.68亿元。

2023年,公司营业收入现金比为182.07%,净现比为-44.27%。

营运能力方面,2023年,公司公司总资产周转率为0.39次,上年同期为0.35次(2022年行业平均值为0.44次,公司位居同行业15/25);固定资产周转率为16.20次,上年同期为20.23次(2022年行业平均值为8.83次,公司位居同行业6/25);公司应收账款周转率、存货周转率分别为1.39次、3.67次。

2023年,公司期间费用为5.19亿元,较上年同期减少5805.41万元;但期间费用率为36.85%,较上年同期上升5.98个百分点。其中,销售费用同比下降16.77%,管理费用同比增长6.51%,研发费用同比下降18.17%,财务费用同比下降38.7%。

资产重大变化方面,截至2023年年末,公司交易性金融资产较上年末减少100.00%,占公司总资产比重下降8.27个百分点;在建工程较上年末增加53.02%,占公司总资产比重上升4.09个百分点;存货较上年末减少16.95%,占公司总资产比重上升1.79个百分点;其他非流动金融资产较上年末减少97.15%,占公司总资产比重下降1.63个百分点。

负债重大变化方面,截至2023年年末,公司一年内到期的非流动负债较上年末减少86.12%,占公司总资产比重下降11.86个百分点;短期借款较上年末减少40.57%,占公司总资产比重下降2.02个百分点;长期借款较上年末增加106.60%,占公司总资产比重上升9.55个百分点;应付票据较上年末减少97.92%,占公司总资产比重下降3.70个百分点。

2023年全年,公司研发投入金额为8767.48万元,同比下降18.17%;研发投入占营业收入比例为6.22%,相比上年同期上升0.49个百分点。此外,公司全年研发投入资本化率为0。

资料显示,截至2023年底,公司拥有146项发明专利、70项实用新型专利、10项外观设计专利、364项软件著作权以及9项国家科学技术成果鉴定。

在偿债能力方面,公司2023年年末资产负债率为86.66%,相比上年末上升13.73个百分点;有息资产负债率为31.01%,相比上年末下降4.33个百分点。

2023年,公司流动比率为1.06,速动比率为0.92。

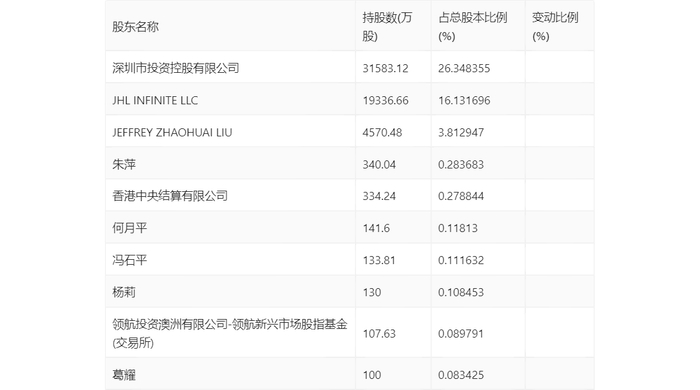
年报显示,2023年年末公司十大流通股东中,新进股东为朱萍、何月平,取代了三季度末的符成、黄峻。在具体持股比例上,香港中央结算有限公司、冯石平、杨莉持股有所上升。

筹码集中度方面,截至2023年年末,公司股东总户数为13.23万户,较三季度末下降了1.45万户,降幅9.88%;户均持股市值由三季度末的7.21万元上升至7.36万元,增幅为2.08%。

指标注解:

市盈率

=总市值/净利润。当公司亏损时市盈率为负,此时用市盈率估值没有实际意义,往往用市净率或市销率做参考。

市净率

=总市值/净资产。市净率估值法多用于盈利波动较大而净资产相对稳定的公司。

市销率

=总市值/营业收入。市销率估值法通常用于亏损或微利的成长型公司。

文中市盈率和市销率采用TTM方式,即以截至最近一期财报(含预报)12个月的数据计算。市净率采用LF方式,即以最近一期财报数据计算。

市盈率为负时,不显示当期分位数,会导致折线图中断。

加载中...