新浪财经

金发科技:2023年净利润同比下降84.10% 拟10派1元

中证网

关注

中证智能财讯 金发科技(600143)4月30日披露2023年年报。2023年,公司实现营业总收入479.41亿元,同比增长18.63%;归母净利润3.17亿元,同比下降84.10%;扣非净利润1.98亿元,同比下降85.20%;经营活动产生的现金流量净额为24.06亿元,同比下降29.88%;报告期内,金发科技基本每股收益为0.119元,加权平均净资产收益率为1.93%。公司2023年年度利润分配预案为:拟向全体股东每10股派1元(含税)。

报告期内,公司合计非经常性损益为1.18亿元,其中计入当期损益的政府补助为1.66亿元。

以4月29日收盘价计算,金发科技目前市盈率(TTM)约为63.07倍,市净率(LF)约为1.22倍,市销率(TTM)约为0.42倍。

公司近年市盈率(TTM)、市净率(LF)、市销率(TTM)历史分位图如下所示:

数据统计显示,金发科技近三年营业总收入复合增长率为10.99%,在改性塑料行业已披露2023年数据的21家公司中排名第10。近三年净利润复合年增长率为-58.98%,排名21/21。

年报称,金发科技的主营业务为化工新材料的研发、生产和销售,主要产品包括改性塑料、环保高性能再生塑料、完全生物降解塑料、特种工程塑料、碳纤维及复合材料、轻烃及氢能源、聚丙烯树脂、苯乙烯类树脂和医疗健康高分子材料产品等9大类。产品广泛应用于汽车、家电、电子电工、通讯电子、新基建、新能源、现代农业、现代物流、轨道交通、航空航天、高端装备、医疗健康等行业,并与众多国内外知名企业建立了战略合作伙伴关系。

分产品来看,2023年公司主营业务中,改性塑料收入269.66亿元,同比增长5.14%,占营业收入的56.25%;绿色石化产品收入93.51亿元,同比增长147.34%,占营业收入的19.50%;贸易品收入76.47亿元,同比增长25.01%,占营业收入的15.95%。

2023年,公司毛利率为12.00%,同比下降3.20个百分点;净利率为0.14%,较上年同期下降4.81个百分点。从单季度指标来看,2023年第四季度公司毛利率为7.69%,同比下降6.33个百分点,环比下降5.48个百分点;净利率为-2.31%,较上年同期下降9.52个百分点,较上一季度下降1.89个百分点。

分产品看,改性塑料、绿色石化产品、贸易品2023年毛利率分别为23.51%、-12.44%、0.64%。

报告期内,公司前五大客户合计销售金额41.80亿元,占总销售金额比例为8.72%,公司前五名供应商合计采购金额80.18亿元,占年度采购总额比例为18.28%。

数据显示,2023年公司加权平均净资产收益率为1.93%,较上年同期下降10.74个百分点;公司2023年投入资本回报率为1.23%,较上年同期下降6.57个百分点。

2023年,公司经营活动现金流净额为24.06亿元,同比下降29.88%;筹资活动现金流净额14.76亿元,同比减少17.74亿元;投资活动现金流净额-44.39亿元,上年同期为-68.34亿元。

进一步统计发现,2023年公司自由现金流为-41.01亿元,上年同期为-23.00亿元。

2023年,公司营业收入现金比为96.41%,净现比为759.74%。

营运能力方面,2023年,公司公司总资产周转率为0.82次,上年同期为0.78次(2022年行业平均值为0.87次,公司位居同行业16/21);固定资产周转率为2.94次,上年同期为3.38次(2022年行业平均值为5.11次,公司位居同行业15/21);公司应收账款周转率、存货周转率分别为7.60次、7.28次。

2023年,公司期间费用为53.14亿元,较上年同期增加11.29亿元;期间费用率为11.08%,较上年同期上升0.73个百分点。其中,销售费用同比增长50.33%,管理费用同比增长20.7%,研发费用同比增长35.72%,财务费用同比增长10.12%。

资产重大变化方面,截至2023年年末,公司固定资产较上年末增加70.75%,占公司总资产比重上升11.66个百分点;在建工程较上年末减少38.23%,占公司总资产比重下降10.67个百分点;应收账款较上年末增加38.03%,占公司总资产比重上升2.33个百分点;其他非流动资产较上年末减少42.90%,占公司总资产比重下降2.22个百分点。

负债重大变化方面,截至2023年年末,公司长期借款较上年末增加31.22%,占公司总资产比重上升4.24个百分点;短期借款较上年末增加84.25%,占公司总资产比重上升3.69个百分点,主要系报告期公司期末账上未终止确认的已贴现票据增加;其他应付款(含利息和股利)较上年末减少53.25%,占公司总资产比重下降4.70个百分点;应付票据较上年末增加79.78%,占公司总资产比重上升1.83个百分点。

从存货变动来看,截至2023年年末,公司存货账面价值为60.39亿元,占净资产的36.94%,较上年末增加4.9亿元。其中,存货跌价准备为1.91亿元,计提比例为3.06%。

2023年全年,公司研发投入金额为19.73亿元,同比增长35.72%;研发投入占营业收入比例为4.12%,相比上年同期上升0.52个百分点。此外,公司全年研发投入资本化率为0。

年报称,截至2023年12月31日,公司累计申请国内外专利共计6036件,其中包含4394件发明专利,761件实用新型,35件外观设计,552件PCT,294件国外专利,已获得的各类专利数量在国内制造业企业中处于顶尖水平。

在偿债能力方面,公司2023年年末资产负债率为70.91%,相比上年末上升3.90个百分点;有息资产负债率为42.00%,相比上年末上升5.83个百分点。

2023年,公司流动比率为1.00,速动比率为0.74。

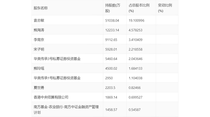
年报显示,2023年年末公司十大流通股东中,持股最多的为袁志敏,占比19.10%。十大流通股东名单相比2023年三季报维持不变。在具体持股比例上,李南京、夏世勇持股有所上升,香港中央结算有限公司持股有所下降。

筹码集中度方面,截至2023年年末,公司股东总户数为18.96万户,较三季度末增长了4058户,增幅2.19%;户均持股市值由三季度末的11.51万元下降至11.26万元,降幅为2.17%。

指标注解:

市盈率

=总市值/净利润。当公司亏损时市盈率为负,此时用市盈率估值没有实际意义,往往用市净率或市销率做参考。

市净率

=总市值/净资产。市净率估值法多用于盈利波动较大而净资产相对稳定的公司。

市销率

=总市值/营业收入。市销率估值法通常用于亏损或微利的成长型公司。

文中市盈率和市销率采用TTM方式,即以截至最近一期财报(含预报)12个月的数据计算。市净率采用LF方式,即以最近一期财报数据计算。

市盈率为负时,不显示当期分位数,会导致折线图中断。

加载中...