埃斯顿:2023年净利润同比下降18.80% 拟10派0.6元
中证网
中证智能财讯 埃斯顿(002747)4月30日披露2023年年报。2023年,公司实现营业总收入46.52亿元,同比增长19.87%;归母净利润1.35亿元,同比下降18.80%;扣非净利润8500.47万元,同比下降11.99%;经营活动产生的现金流量净额为2987.73万元,同比增长10.39%;报告期内,埃斯顿基本每股收益为0.16元,加权平均净资产收益率为5.11%。公司2023年年度利润分配预案为:拟向全体股东每10股派0.6元(含税)。
报告期内,公司合计非经常性损益为5003.72万元,其中除同公司正常经营业务相关的有效套期保值业务外,非金融企业持有金融资产和金融负债产生的公允价值变动损益以及处置金融资产和金融负债产生的损益为3237.86万元,少数股东权益影响额(税后)为-106.78万元。
以4月29日收盘价计算,埃斯顿目前市盈率(TTM)约为115.52倍,市净率(LF)约为5.78倍,市销率(TTM)约为3.35倍。
公司近年市盈率(TTM)、市净率(LF)、市销率(TTM)历史分位图如下所示:
数据统计显示,埃斯顿近三年营业总收入复合增长率为22.83%,在机器人行业已披露2023年数据的22家公司中排名第2。近三年净利润复合年增长率为1.77%,排名8/22。
资料显示,公司业务覆盖了从自动化核心部件及运动控制系统、工业机器人到机器人集成应用的智能制造系统的全产业链,围绕制造业智能化发展大趋势,构建了从技术、产品、质量、成本和服务的全方位竞争优势。
分产品来看,2023年公司主营业务中,工业机器人及智能制造系统收入36.12亿元,同比增长26.50%,占营业收入的77.64%;自动化核心部件及运动控制系统收入10.40亿元,同比增长1.42%,占营业收入的22.36%。
截至2023年末,公司员工总数为3851人,人均创收120.80万元,人均创利3.51万元,人均薪酬29.86万元,较上年同期分别变化11.87%、-24.22%、15.85%。
2023年,公司毛利率为31.93%,同比下降1.92个百分点;净利率为2.85%,较上年同期下降1.86个百分点。从单季度指标来看,2023年第四季度公司毛利率为29.25%,同比下降5.51个百分点,环比下降3.94个百分点;净利率为-0.87%,较上年同期下降4.95个百分点,较上一季度下降5.17个百分点。
分产品看,工业机器人及智能制造系统、自动化核心部件及运动控制系统2023年毛利率分别为31.28%、34.19%。
报告期内,公司前五大客户合计销售金额9.15亿元,占总销售金额比例为19.68%,公司前五名供应商合计采购金额4.65亿元,占年度采购总额比例为16.13%。
数据显示,2023年公司加权平均净资产收益率为5.11%,较上年同期下降1.09个百分点;公司2023年投入资本回报率为3.40%,较上年同期下降0.69个百分点。
2023年,公司经营活动现金流净额为2987.73万元,同比增长10.39%;筹资活动现金流净额11.95亿元,同比增加9.41亿元;投资活动现金流净额-6.78亿元,上年同期为-2.62亿元。
进一步统计发现,2023年公司自由现金流为-1.05亿元,上年同期为-2.00亿元。
2023年,公司营业收入现金比为79.48%,净现比为22.12%。
营运能力方面,2023年,公司公司总资产周转率为0.51次,上年同期为0.51次(2022年行业平均值为0.45次,公司位居同行业8/22);固定资产周转率为4.94次,上年同期为5.21次(2022年行业平均值为5.61次,公司位居同行业12/22);公司应收账款周转率、存货周转率分别为3.27次、2.56次。
2023年,公司期间费用为13.70亿元,较上年同期增加2.93亿元;期间费用率为29.44%,较上年同期上升1.70个百分点。其中,销售费用同比增长33.17%,管理费用同比增长16.13%,研发费用同比增长26.3%,财务费用同比增长60.33%。
资产重大变化方面,截至2023年年末,公司货币资金较上年末增加70.88%,占公司总资产比重上升3.46个百分点;应收款项融资较上年末增加126.89%,占公司总资产比重上升3.07个百分点;交易性金融资产较上年末减少24.61%,占公司总资产比重下降2.69个百分点;应收票据较上年末减少73.75%,占公司总资产比重下降1.99个百分点。
负债重大变化方面,截至2023年年末,公司短期借款较上年末增加85.93%,占公司总资产比重上升5.15个百分点,主要系公司为业务发展,流动资金款增加;应付账款较上年末增加54.48%,占公司总资产比重上升2.69个百分点;基建项目应付工程款增加;一年内到期的非流动负债较上年末增加67.86%,占公司总资产比重上升2.41个百分点;应付票据较上年末增加50.15%,占公司总资产比重上升1.27个百分点。
从存货变动来看,截至2023年年末,公司存货账面价值为13.4亿元,占净资产的49.66%,较上年末增加2.1亿元。其中,存货跌价准备为7427.67万元,计提比例为5.25%。
2023年全年,公司研发投入金额为5.03亿元,同比增长25.17%;研发投入占营业收入比例为10.81%,相比上年同期上升0.46个百分点。此外,公司全年研发投入资本化率为22.73%。
2023年,埃斯顿的商誉达到14.86亿元,相当于同期公司净资产26.99亿元的55.05%。
在偿债能力方面,公司2023年年末资产负债率为72.01%,相比上年末上升9.22个百分点;有息资产负债率为38.05%,相比上年末上升4.41个百分点。
2023年,公司流动比率为1.13,速动比率为0.87。
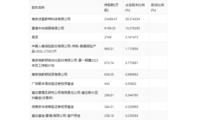
年报显示,2023年年末公司十大流通股东中,新进股东为招商安华债券型证券投资基金、富达基金(香港)有限公司-客户资金,取代了三季度末的张忠孝、苏故乡。在具体持股比例上,中国人寿保险股份有限公司-传统-普通保险产品-005L-CT001沪、广发聚丰混合型证券投资基金持股有所上升,香港中央结算有限公司、富达管理及研究公司有限责任公司-富达新兴亚洲基金(交易所)持股有所下降。
筹码集中度方面,截至2023年年末,公司股东总户数为8.53万户,较三季度末增长了8851户,增幅11.57%;户均持股市值由三季度末的25.08万元下降至18.94万元,降幅为24.48%。
指标注解:
市盈率
=总市值/净利润。当公司亏损时市盈率为负,此时用市盈率估值没有实际意义,往往用市净率或市销率做参考。
市净率
=总市值/净资产。市净率估值法多用于盈利波动较大而净资产相对稳定的公司。
市销率
=总市值/营业收入。市销率估值法通常用于亏损或微利的成长型公司。
文中市盈率和市销率采用TTM方式,即以截至最近一期财报(含预报)12个月的数据计算。市净率采用LF方式,即以最近一期财报数据计算。
市盈率为负时,不显示当期分位数,会导致折线图中断。